我们的耳朵有一个重要的特点,它对于各种声音响度的感觉以频率为转移;即使各种声音的强度相等,听起来高声和低音仍然比中音为轻。因此,要想使高低音听起来和中音响度相等,就要求高低音比中音有更大的声压。图1绘的是各种音频响度的等强曲线,它表明了我们耳朵对于各种音频的灵敏度,特别是对于低音,在响度减小时,灵敏度有显著降低。例如要使我们的耳朵对100、1000和10000周三个频率不同的声音都能感到有20分贝的响度,那末100周声音的响度就必须比1000周的增加28分贝,而10000周的要增加10分贝。

普通的音量(响度)控制器对于高低音或中音音量,毫无区别地加以增减,因此,这种音量控制器只有位于放音的响度等于音源的响度时才能达到一定的保真度,而在其它部位时,放音的自然性将被破坏。
现代优等的放音设备,有所谓音调补偿器(音调控制器)的装置,它能随着声音响度的变化而改变机器的频率特性曲线的形态,以符合于或接近于声音响度等强曲线。
在音调补偿器的电路中,有采用以频率为转移的分压器(图2、3、4),也采用以频率为转移的负回授电路(图6、7)。

图2是最简单的低音增强电路。电位器R\(_{1}\)、R2的动臂位于上端时,电容器C\(_{1}\)不影响低频放大器的频率特性曲线。当电位器动臂由上向下移动时,电位器两端的输出电压就开始以频率为转移,随着频率的降低, C1的容抗增大,R\(_{1}\)动臂和地之间的阻抗也就增大(对频率升高而言),因此,低音将有提升。

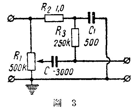
图3低音增强电路的工作情况如下:输入的音频电压同时加在电位器R\(_{1}\)和低频滤波网络R2、C\(_{1}\)以及R3、C上。当R\(_{1}\)动臂位于下端(响度小)时,输入放大器的是通过滤波网络来的音频电压,因此放大器的频率特性曲线在低频段有显著提升;R1向上移动时,放大器同时从R\(_{1}\)上取得音频电压,频率特性曲线变得平直;R1移到最上端时,频率特性曲线在低频段有不显著的堵塞。
这种音调补偿器可以在响度达到100分贝时得到满意的效果,甚至在最低响度时也能得到良好的效果。
另一种音调补偿器的电路见图4,它的响度等强曲线见图5。电位器R\(_{7}\)的动臂位于上端时,输入低频放大器的音频电压,实际上通过R6从R\(_{7}\)上取得;R1的动臂从上向下移动时,放大器不仅从R7,并且从以频率为转移的分压器R\(_{1}\)、R2、C\(_{1}\)和R3、R\(_{4}\)、C2上取得音频电压,分压器对低音阻抗增大,因此低音可有20分贝的提升。


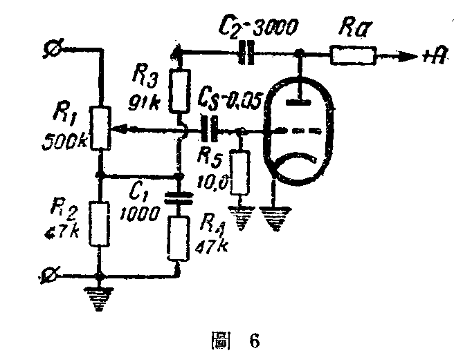
还有一种低音增强电路见图6。放大器装有以频率为转移的负回授,回授电压通过R\(_{2}\)、R3、R\(_{4}\)、C1和C\(_{2}\)加到栅回路。电阻R2是回授回路的负荷阻抗。回授深度以电位器R\(_{1}\)动臂的位置为转移,在响度减小即电位器动臂向下移动时,回授量增加。在高音部分,由于C1、R\(_{4}\)的旁路作用,相对地提升了低音。

图7是以频率为转移的负回授音调控制电路。R\(_{6}\)的动臂位于上端时,电子管的阴极通过大容量的电容器C4与地联接,回授回路不影响低频放大器的频率特性曲线。随着R\(_{6}\)阻抗的增大,负回授作用出现并增强,本级电子管的增益随着降低。可是电阻R4—R\(_{8}\)、电容C4—C\(_{6}\)和电感线圈L所组成的回授回路,对于各个不同的频率范围将呈现不同的阻抗,因此,回授的大小以频率为转移,本级电子管的增益也随着有相应的降低。电路是这样设计的:电阻R6增加时,高低音的负回授作用不像中音那末显著、C\(_{5}\)、R7使高音旁路,相对地提升了低音,而C\(_{6}\)、L和R8使低音旁路,提升了高音。因此在音量减小时,高低音的衰减不像中音那末显著。适当选配电阻R\(_{4}\)和R5,可以在很宽的范围内调节补偿特性曲线。

上面各种音调补偿器电路的优点是它们采用不带抽头的普通电位器,抽头常常是各种杂声的来源。选用哪一种电路,主要决定于无线电爱好者手头所有的零件。((苏联)B·斯米尔诺夫)(志澄译自苏联“无线电”杂志1958年第11期)