(宋庆生)实验前的讲话 为了把前几个实验里学到的一些基础知识巩固起来,并能运用到实践中去,现在再把实验过的检波、低放、整流结合起来,组成一部完整的收音机。
实验前要学会做几件工作,那就是如何设计底板、绕制线圈、电源变压器和输出变压器。因为这些另件在收音机里起着关键性的作用,这里限于篇幅,对于电源变压器和输出变压器的制作,不能详细说明,读者可自行阅读有关书籍。
怎样设计底板:设计前,一定要先确定总电路,然后才可以具体安排底板上下零件位置。一般设计是以体积较大的另件为主(如变压器、电子管、线圈、可变电容器等),附带考虑容易产生高热的另件,其它因素简单收音机可以忽略。然后根据实际需要绘出图纸,用铁板或铝板动手进行加工。建议爱好者们在准备底板时,能准备一个可装5灯机的底板,这样在不同实验时,拆装容易。图1是一般5灯机的底作板,以供参考。

装置焊接时应注意的事项:要求实验得到满意的效果,除了电路和另件的选择,主要另件位置的决定外,其它像小另件的具体安放,布线的位置,也都会对收音机性能产生很大的影响。另件位置排列适当,不但省工省料,而且看起来也整齐清楚,一旦发生毛病,找起来也方便,具体要求是:1.熟悉电路图,弄清电路图实际另件的关系;2.电源变压器不可离前级电子管太近(避免磁场感应);3.屏栅接线要尽量短(免除不必要的回授);4.装管座时要考虑到电子管各输入和输出脚方向位置,尽量使接线减短;5.内部接线要尽量短,尤其是高频回路的接线,要尽可能靠近检波管和线圈(减少高频损失);6.对电子管管座接脚更要搞清楚,要牢记机内接线都是指管座底视图而言;7.喇叭和检波管要离得远(避免输入与输出信号产生回授叫声);8.可变电容器接地线最好用多股接线,电子管座的中心管一定要接地;9.不要机械的要求电阻、电容装得横平竖直,单纯考虑美观(这样有可能影响全机性能,发生不必要的回授等毛病),而忽略了电气性能方面的要求;10.焊剂用量不宜过多,尤其是酸性或腐蚀性焊油更是利害,最好用松香焊锡。
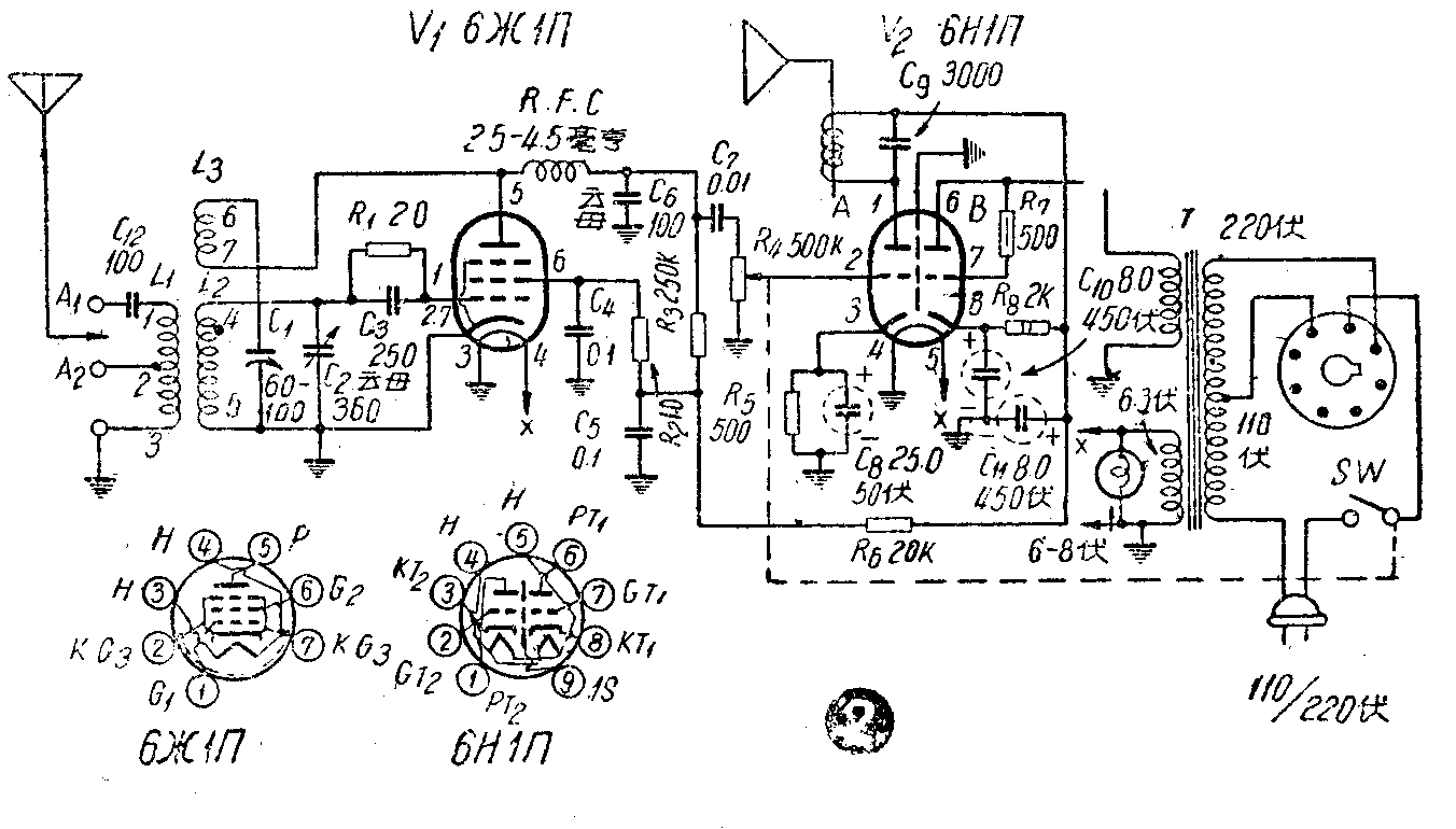
交流两管机的实验

实验用材料 实验用材料一般已在电路图2中注明,另外要小七脚电子管座1只(6ЖlП用),小九脚电子管座1只(6HlП用),八角电子管座1只(110/220伏电源变换用),110/220伏变换插1只,三眼接线架2只,直径8毫米胶皮圈1只(电源线穿线用),接线柱3只,尖头旋钮3只,0-100度度盘1个(C2用),G-8伏指示灯座1只,其它像接线,焊片,固定用螺丝等各若干。
实验方法 装前先得绕一个三回路圆筒线圈,这个线圈的绕法见图4,方法是找图4要求的胶筒1只,在筒上打眼和铆好焊片,然后用直控0.168毫米(英规38号)漆包线绕120圈作L\(_{2}\), L2下边1毫米处用同号线绕25圈为L\(_{3}\),再在L2 冷端加垫几层绝缘纸绕25圈为L\(_{1}\),第五圈处抽头,绕时注意各个线圈的方向要一致,绕好后把线头焊牢在焊片上,并用腊浸过。


装接:按照图2图3把所有另件装接到底板上,一般习惯先装管座、接线架以及一些轻巧的另件,笨重的另件如电源变压器等留到最后安装。习惯上焊接都从接地线开始。按次序分是:灯丝线、乙电线、电阻电容等等。
试机和调整:机件装焊完毕后的第一步工作是进行全面检查,如有接错或漏焊,应马上改正。第二步接上电源,检查无误后再插入电子管,等电子管里发出红光后,用手指触一下6Ж1П的栅极,听到喇叭有“鸣鸣”声,再将天线接入,旋动C\(_{2}\)收听电台播音,根据情况再旋C1使声音更响亮一些。如C\(_{1}\)容量增大时声音反而越小,那是线圈接反了,把6、7两线头对调一下即可。
附表1列出了电子管各极工作电压值,以供校验时参考之用。

这架机器采用了复合管6HlП,表面上看是两管,实际却担负着三管(检波、低放、整流)的工作,所以效率比较好。
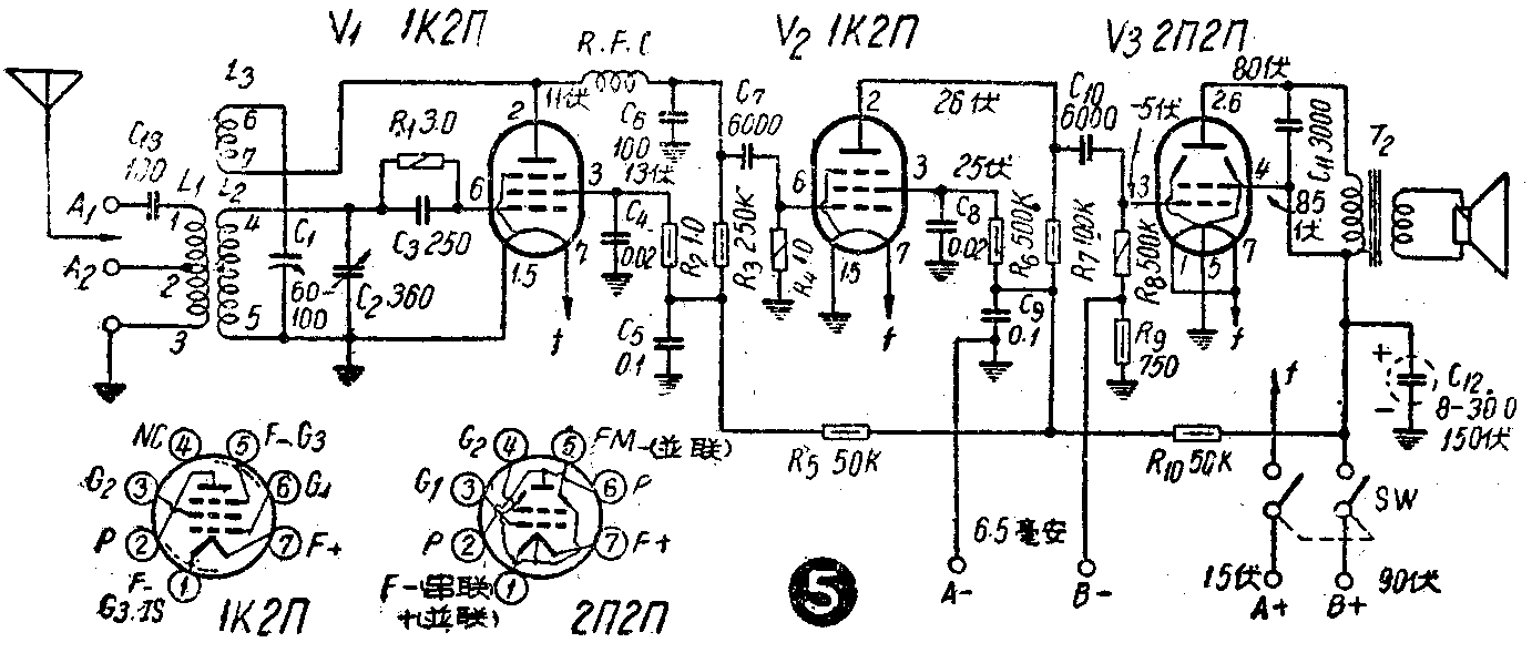
直流干电三管机的实验

实验用材料 实验用料已在电路图5中标明,图5和图2比较,只更换了部分另件,如甲乙电池,双刀双掷开关SW,增添小七脚管座2只(V\(_{2}\)、V3用),3S\(_{4}\)用输出变压器以及和输出变压器匹配的12.5厘米永磁喇叭1只。
实验方法 照图5进行装接,要注意直流电子管灯丝脚是分正负极的,不要接错,以免影响效率。
试机和调整:于电收音机的检查工作要比交流收音机更加仔细,因为线路接错,常会把电子管烧坏,不可不慎。在插入电子管试机前,要照前一期介绍的方法用小电珠先加试验,证明无误后才可插入电子管,以防万一。然后用手指分别触各个电子管的栅极,次序是由后级向前级,试听喇叭有没有“鸣鸣”声,当手指触到那一电子管的栅极时无声,很可能是电子管末插牢,轻轻地把电子管左右摆动一两下,如仍然无效,那就要测一下电子管各极的电压,各电子管各电极上的工作电压数值见表2。等各级正常,接入天线,可旋转C\(_{2}\)收听播音,根据收听效果可适当调节C1,使灵敏度和选择性提高。

通过实验,有可能遇到一些奇怪的故障,使我们感觉无从下手,解决的办法是:找些有关书籍学习,多掌握一些基本理论知识,更重要的是把实践中所遇到的问题、现象以及解决办法,一一记录下来,以免遗忘,这样日积月累,经验就丰富了,碰到问题时,也就容易解决。

关于电源变压器,如有条件的话,可照图7数据自绕。用断面积为5.4平方厘米的日字型铁芯,先绕初级线圈,中心抽头,外面绕灯丝线圈(这样绕法在简单收音机里把灯丝一端接地,可起静电隔离作用),最后才绕高压线圈,绕完后用油浸过。


输出变压器的数据是配接3.5欧的喇叭时。初级绕3400圈,次极62圈。用断面积为3.2平方厘米的日字型铁芯,先绕初级圈,后绕次级圈,绕完后用腊浸过,注意铁芯要对嵌插入。
注:1.使用的电压表直流内阻为20,000欧/伏,及交流内阻为8000欧/伏。
2.有*符号者为交流电压。