(如)这里介绍一具质量比较好的直流四管长短波超外差式旅行收音机。它装在一只大号铝质饭盒里。全机除小型乙电池外,5吋永磁动圈喇叭、中周变压器、双连电容器、波段开关,连同甲电池都放进去了。提起旅行机就会联想需要有环状天线等,可是此机在收听时只需一根一公尺长的拖线,就能够收听国内许多电台和国外大电台的广播。它比一般收音机具有以下优点:(1)不需要固定的天地线,可以边走边听;(2)音量宏亮,在20平方公尺房间内可供许多人收听;(3)有短波段,在白天也可以收到远地电台的节目,不受时间的限制;(4)因采用国产北京牌电子管,较用旧式舶来管乙电都可节省许多,符合旅行机省电的要求。

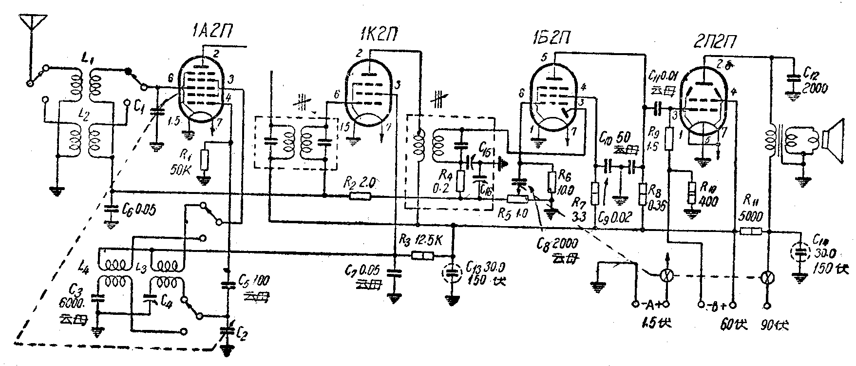
此机是应在边区工作的人需要而装的,他们那里没有电灯,而且使用者经常出差,因此要求收音机体积小巧,便于携带,又要经济省电效率高超。这具旅行机就是根据这样要求,结合本地区能够购到的零件情况,经过了几次的试改比测,最后试装完成的。图1是本机线路,由于采用了优质零件,接线简短,零件排列紧凑,所以效率很好。线路中以1A2П担任变频,1K2П作中放,1B2П担任第二检波自动音量控制和第一级低放,2П2П功率放大输出。全机灯丝并联,用一节手电池供电,全部耗电共只150毫安。乙电有两根接线,一根接在60伏比较省电。无60伏小型电池时,可接在90伏线上,这时2П2П屏极直接使用90伏,声音可以更响,其帘栅极有前面各管则通过一只5K电阻降压供给。变频级是全机最主要部分,另件必需选用介质损耗小的,排列和接线要周密细致,才能取得好的成绩。此机灯座是胶木质的,中心有一金属隔离柱,必须将它接地,这个隔离很重要,可以减少屏栅极管脚间的电容耦合,避免产生叫声杂音。线圈也采用美通胶木型的,Q值较高。振荡栅交连电容器用云母制的,电阻是炭膜式的,接线用粗而短的胶质线,在19公尺的短波段内也能振荡良好。中频变压器是手上旧有的,第二级屏极圈是固定不调谐的,栅极圈下接有一只200K电阻和两只小可变电容器作为滤波器,频率为455千周型,因未买到465千周型的,故勉强代用。但因系有铁粉芯式的,虽然少一级调谐,效率仍然很高,中波段可收到电台30个以上,都能在喇叭里听清,短波段也有许多台同样可从喇叭中放出清晰宏亮的声音。低放部分所用电阻电容器也都是优质的,漏损较小,效率高,虽然额定输出只有75毫瓦,听起来音量不比交流五管机低多少,且声音特别清晰,是直流机的特点,实非一般交流机所能及。控制音量的电位器是1兆欧小型的,因为中周滤波电阻200K,故电位器不宜用比1兆周更小的,否则音量将会减低。电源开关有两个,甲乙电同时开闭,可以避免漏电损失。此机装配时,首先是将另件进行排列,然后在底板上划线打孔,先装喇叭再装底板和其他另件。接线时按照先地线后灯丝、先低放后中放、最末接变频部分的原则进行。因为地位小,一些电阻和电容器的两端就构成了接线。在焊接只要注意屏极接线不与栅极接线平行,就可以不致发生狂叫和杂音。例如2П2П的屏极旁路电容器必须经过栅极接线旁边,这时会产生尖锐的叫声,经将铝箔包在电容器的外面并接地后,叫声才没有了。

装机完毕后进行检查和校验时,先用一个小电珠插入各管座灯丝孔,查看小电珠亮不亮,再接上乙电源再试—遍,小电珠安全点燃后,又用电表测试各脚电压无误后;插上各电子管,用起子点触电位器的活动脚,喇叭中发出扑扑声,证明低放情况良好,依次接触中放管屏极栅极和变频管屏极栅极,都有声音,证明中频是在指定频率上,接上天线旋动双连就可收到播音。这时将双连调谐到600千周附近收听中央台,听到声音后用胶柄起子缓缓的旋动第二级中频变压器的螺丝,使声音加大,再调整第一级中频,调好后再略旋动衫垫电容器,使声音最响。然后转动双连调谐到1500千周一端,另收听一个电台,再微调中频使声首最响。经过二三次这样反复调整后,再收听短波段,此时可听到许多短波台的播音,证明收音机已经调整好了。
