(湛)栅陷振荡器是一只简单的电子管振荡器,可以用来作信号发生器,校验中频等许多用处,在收音机修理工作中也是一件有用的仪器。这一振荡器在作测校使用时,主要是靠观察它的栅流变动情形,来测试别的电路;在测试达到最适当的时候,栅流下陷降低,因此称为栅陷振荡器。

原理 图1是一个哈脱莱式振荡器线路,在没有振荡的时候,栅极电压为零。当线路内产生振荡时,栅极上产生电流i\(_{g}\),栅流流过栅极电阻Rg时产生一个栅电压e\(_{g}\)。栅流ig和栅压e\(_{g}\)的大小随着振荡的强弱而改变。因此我们如果在栅回路内接入一个电流表或电压表。根据栅流或栅压的大小可以判断振荡的强弱和是否产生振荡。

在振荡回路L、C的两端并联上一个振荡回路L\(_{1}\)、Cl如图2。如果L\(_{1}\)C1 与L、C回路不谐振的话,L\(_{1}\)C1对振荡的影响很小。当L\(_{1}\)C1与L、C谐振时,由于大量的能量被L\(_{1}\)C1所吸收,以致振荡大大减弱,甚至振荡停止。由于我们可以从栅流表或栅压表来观察振荡情况,所以可以根据栅流表或栅压表来判断回路L\(_{1}\)C1与LC的谐振情况。

线路与制作 实际制作线路如图3,用一只6J5作振荡。振荡频率是固定在465千周上的中频。另用一只调谐指示管6E5来指示振荡管的栅极电压变化。采用调谐指示管来代替栅流表的优点有三:其一是价格低廉,其次是不易烧坏,最后,主要的因为电流表往往因为表针的惯性作用不能很好的指示出栅极的瞬时变化,而调谐振示管不受惯性的限制。灯丝电源是由一只6.3伏的灯丝电源变压器供给,屏压直接取用220伏交流市电,这样既可以省却变压器的高压线圈和整流管,还可以从振荡器中得到50周的调幅输出。全机装在140×75×25毫米的铝质底板上,面板用的是一块140×110毫米的胶木板固定在底板上,另件的安排与底板下的接线如图4、图5。振荡线圈用了一只旧的三段式的中频变压器截去一半,下余一半在离接地端1/3处抽头。


此机因为用了交流市电作屏压,因此振荡回路调谐不够尖锐。为了使调谐比较尖锐,产生的振荡不需要太强。如果太强,可在屏极回路里串联一只电阻降低屏极电压,最好还是在阴极回路里串联—个几千欧的可变电阻,利用改变栅负压来控制振荡强度。R\(_{2}\)和R3的比例要调节在能使指示管的阴影恰好闭合而不致重叠。这时指示管最灵敏,也最尖锐。
校正和使用 全机焊接完毕后,进行校正。校正的方法有二,一是用一只标准的中频变压器接在接线柱①和“地”上,调节C到指示管阴影张至最大角度。另一种是利用一架标准的接收机,调谐到中波段的930千周,在振荡器接线柱②上接一根1米长的拖线。将振荡器靠近接收机,调节振荡器的C,使接收机发出的交流声最大为止。
此机可作下列用途:
1.作信号发生器 6J5屏极有大量的谐波输出,其二次和三次谐波分别是930千周和1395千周。可以用来校正收音机。在接线柱②上接出一根1米长的拖线,便可有足够的输出,供收音机作必要的调整。
2.校正中频变压器
方法1:开启收音机,将收音机底板与振荡器的地线柱相连接,接线柱②接收音机内中频变压器的屏极端。调节中频变压器里的电容器螺丝或铁粉芯,使收音机内发出的交流声最大。方法2:将需待调整的中频变压器任一线圈的二端分别接至接线柱①和“地”上,调节中频变压器的半可变电容器或铁粉芯,使电眼的阴影张至最大角。这一方法的优点是无需开启被校正的收音机。
3.测量电容电感 测量电容时,在接线柱①和“地”间并联一只可变电容器C\(_{a}\)和已知电感量的线圈La,把未知电容器C\(_{x}\)和Ca并联。调节C\(_{a}\)至调谐指示管阴影角度最大,然后根据公式
f=160000\(\sqrt{L}\)(C+C\(_{x}\))
(f=465千周 L单位为微亨 C单位为微微法)
计算出C\(_{x}\)的值。例如将一个250微微法的直线电容式可变电容器(度盘分为250刻度)、250微亨标准电感和未知电容并联后接入振荡器接线柱①和“地”。调节可变电容器至指示管阴影完全闭合,读出可变电容刻度指示为130。那么按以上公式变化应为
C\(_{x}\)=(\(\frac{160000}{f}\)\(\sqrt{L}\)a)\(^{2}\)-C\(_{a}\)=(160000;465×250)2-130=475-130=345微微法。
测量电感时,把未知电感L\(_{x}\)代替La,调节C\(_{a}\)使指示管阴影张至最大,仍根据以上公式计算出Lx的值。例如将一个250微微法直线电容式可变电容器,一只250微微法固定云母电容器和未知电感L\(_{x}\)并联接入振荡器接线柱①和“地”端,调节可变电容器至指示管阴影完全闭合,读可变电容指示刻度为180(即电容量为180微微法),按以上公式变化应为
L\(_{x}\)=(\(\frac{160000}{f}\)\(\sqrt{c}\))\(^{2}\)=(160000;465250+180)2=275微亨。
测量时如无直线电容式的可变电容器,也可以用一般的指数曲线式的,这时刻度可照1957年本刊第6期14页方法计算,或按“无线电与电视”创刊号35页图2的曲线求算。

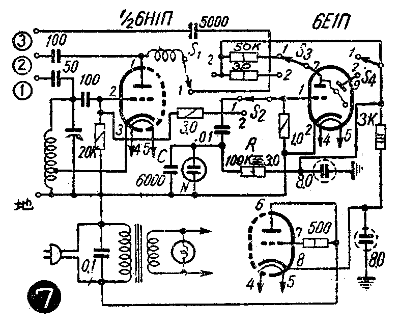
这具振荡器还可以按照图7线路按装,采用国产电子管6H1П和6ElП经这样改装后,性能大有改进,而且可有单独的音频输出。改用6HlП后,用它的一半整流,故高频部分不再用50周交流电调幅。这里改用一只氖管组成音频振荡器(图7中的N、C和R),产生振荡经由6E1П的三极部分放大后,加在6H1П的屏极上进行调制。图中的S\(_{1}\)、S2、S\(_{3}\)和S4是调幅和等幅转换开关,当接点拨向接点1时,振荡器作信号发生器,氖管产生音频振荡,加在6E1П的栅极上,6E1П屏极经过50K的电阻和高压相接,6H1П的屏极通过高频扼流圈RFC与6E1П相连,产生调幅振荡。此时6E1П没有指示作用,因此使荧光屏和高压断开。接线柱③可以输出音频信号。当开关拨向接点2时,振荡器产生等幅振荡,原理同图3线路。
其他 此机底板带电,使用时要小心!如果没有三段式中频变压器,或改制时抽头困难,也可以用一只完整的中频变压器按照图6装接,调整得好效果是一样的。
