一般电视接收机不能收听中波广播节目,这是—个缺点。我用了不多的钱和另件,在我的纪录牌电视接收机上自己增添了收听广播节目的装置, 解决了这一问题,使用起来经济方便,在音量和音质上都很满意。现在谈谈我的改装方法,供爱好者们一起研究改进。
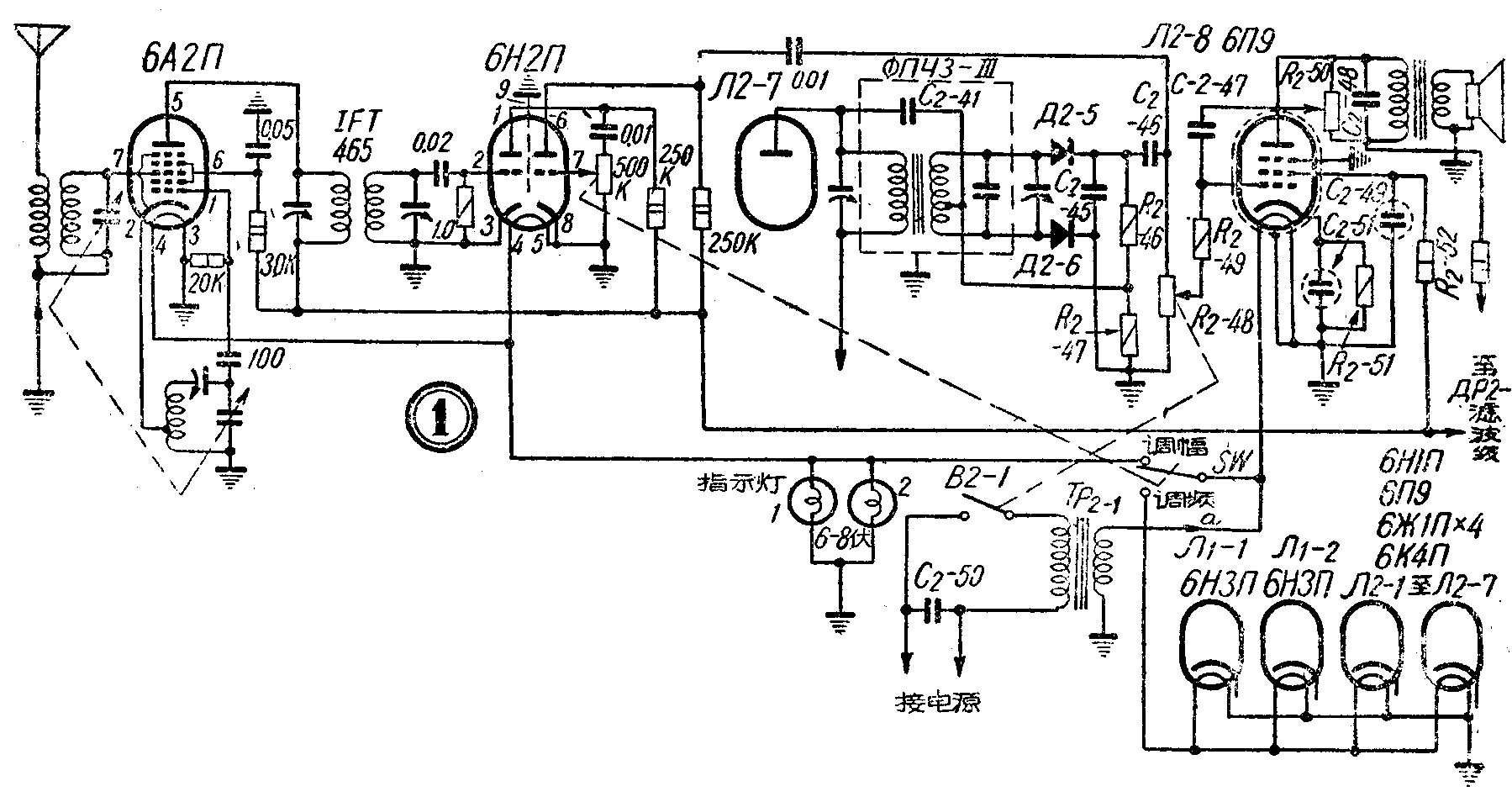
改装的线路见图1,我采用了常用的外差式广播收音线路,用二只电子管,6A2П变频,半只6H2П检波,半只担任低频放大,输出仍由原机的伴音部分功率放大管6П9来担任,并将部分电子管的灯丝回路接线稍加更改。改装线路是十分幽雅。

收听广播节目的方法:将频道选择开关拨在接收调频广播的任何—段位置上,这时接收图象部分的电源都已断开,按接收机的原线路图看下半部的电子管包括显象管都已停止工作。再将SW旋向接收调幅广播的位置上,这时按接收机的原线路的上半部包括高频端的大部分电子管的灯丝电源也被切断,只有6П9的灯丝还接连着, 同时又接通了6A2П和6H2П一般的,原理不再说明了。关于另件的布置,因为接收机里的地方很大,可以适当的安排。我是将收音部分装在一只自制的小底板上,再将它焊花伴音部分的底板上。图上的SW是附在音量控制电位器上的,也可以用单独不附电位器的,音量控制仍由接收机原有的R2-48来调节。双连可变电容器和SW分装在机前助音板的两侧(见图2),配用两只象牙色的大旋扭,给接收机增加了美观。两个指示灯分装在显象管荧光屏的左右下角,使用绿色灯泡,照在屏幕上显得的灯丝,转动双连就可以选择收听中波波段的广播节目了。(石钢工人 姚光普)
