在—只电容器上外加一电压时,如果它的容量能随这个外加电压的大小而变化,那末这只电容器就具有所谓“压变电容效应”。压变电容效应是近来发现的一种物理现象。
用某些介质材料(如钛酸钡等)制成的电容器,都具有压变电容效应。
在两种半导体——p型半导体和n型半导体的交界面上,由于电子及空穴的扩散,会使界面的一端具有多余的正电荷,另一端具有多余的负电荷。这时,在界面附近发生一个电位跃变,或者说,在界面附近产生了一个电位的壁垒。
当外加一直流电压时,如果n半导体加负电,p半导体加正电(我们叫这种接法为“加正向电压”),那么,外电压会减低电位壁垒而使电导加大。反过来,如果外加的是反电压,则不论是n半导体中的电子,或P半导体中的空穴,都向反界面方向跑而使壁垒加高,导电率大大降低。这是我们所熟知的半导体整流作用。

既然电位壁垒有阻挡电流通过的作用,所以发生电位壁垒的这个界面,可以看作是一种具有介电性质的面。通常叫他阻挡层。阻挡层的左右,各有正负的电荷,所以在这里形成一只电容器(图1)。当外加反压升高时,阻挡层变厚,电容量降低;反之,外加反电压减少,电容量升高。所以半导体界面所产生的电容,也具有压变电容效应。
理论分析指出,这个电容与电压的关系为
C=K/\(\sqrt{V}\),
式中K为与半导体性质及界面大小有关的常数,V为外加反电压值。
压变电容的用途很广,如作介质放大器、调频元件、对变通带滤波器,等等。
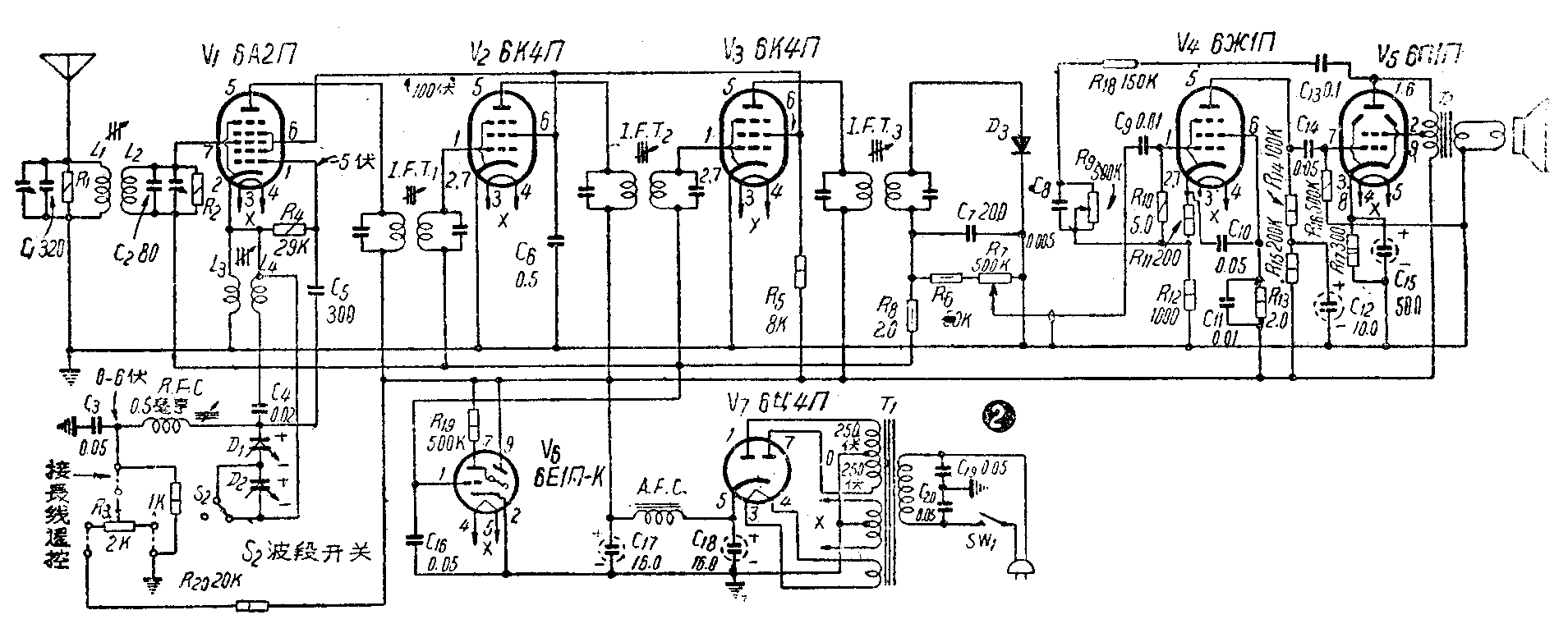
这里介绍一部用压变电容效应作谐调电容的外差式收音机。线路见图2。

这部收音机量用载波机调幅的氧化铜半导体来作压变电容器。当然也可以用万能表中的氧化铜。取一片这种氧化铜,装在图3所示的玻璃管内,有氧化铜的一面接负电,铜片的另一面按正电。经测量,反向峰压10伏,正向电阻200欧,反向电阻30千欧,当电压在0至6伏变化时,容量6000-2000微微法内变化(氧化铜面积约O.78平方公分时)。由上述参数看出,这只氧化铜的反向电阻不很大,正向电阻也不很小,用他作槽路电容,等于在回路内串一只200欧电阻,又在电容上并一只30千欧的电阻一样,Q值是不会很高的,所以谐振曲线不会很好。其次,电容量太大,要在1000千周到2000千周内谐振,L值不能大,所以谐振阻抗ρ也不会大。最后,由于外加反电压不能过高,所以容量变化不很大,作出的回路很难在很宽的频率范围内任意改变,也就是说它的波段复盖系数不会很大。

ρ和Q不足的回路,放在输入电路内是不合适的,但是放在振荡部分,可以用提高回授的方法来使回路得到较为理想的谐振曲线。波段复盖不足问题,有了好的压变电容器即可解决。我是用了分波段的办法,把广播段再分成俩段,用S\(_{2}\)(见线路图2)来控制,当S2断开时,两块压变电容器D\(_{1}\)、D2串联,总电容减少,机器在900-1400千周段工作,S\(_{2}\)接通时,一只电容(D2)短路,机器就工作在600—920千周段。
图2的线路,除开变频级以外,其它部分都没有什么特别,仅第二检波用了晶体二极管,如果没有晶体二极管,可以修改这部分电路,把它连同6ЖlП改用6Г2П、6S8C或6SQ7等电子管代替。
为了少用压变电容器以及前面所说的理由,本机变频部分输入电路用不调谐式。L\(_{l}\)、Cl和L\(_{2}\)、C2两个调谐回路本身的Q值因并联了电阻(R\(_{1}\)、R2)而降得很低,调整这两只电容器使它们的谐振频率一个在630千周,另一个在1200千周左右,所以它们共同形成了一个波段滤波器,让600-1400千周的电磁波通过。这样增益虽稍次于用电容调谐的,但效果还相当可以。R\(_{1}\)和R2约10千欧,最佳值可在调整谐振曲线时决定。
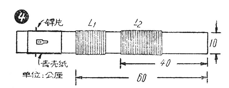
L\(_{1}\)是用0.3公厘直径的漆包线在长130毫米,直径10毫米的磁性瓷棒上密绕50圈。L2是用7股编织线在同一瓷棒上绕50圈,绕时先在瓷棒上裹一层黄腊绸,使线圈与瓷棒绝缘。引线方法是用小焊片钉在一条长约40毫米,宽约15毫米的青壳纸上,再把它卷牢在磁性瓷棒的另一端(图4),线头就焊牢在焊片上。这样焊接比较方便,但要注意焊片不要与磁棒接触。

振荡线圈是强回授的。用中央出品的单股铁粉芯中频变压器半只,拆去原来的线圈,用7股编织线绕36圈作L\(_{4}\),L3是用0.2毫米漆包线绕26圈。如果所用的氧化铜(D\(_{1}\)、D2)容量不同,L\(_{4}\)的圈数要另行选定。只要在压变电容量最小时,回路谐振在1865千周即可。
回授用了阴极耦合式,但不是在线圈上抽头而是另绕一个线圈。这是因为用抽头时,回授量要求很高,抽头也抽得高,引入回路的等效衰耗将过大,不易起振荡。
末级电子管帘棚电压内输出变压器T\(_{2}\)的抽头接出,是使放大器工作在“超线性”状态,可以使失真降低到最小。我用的是配6V6的输出变压器,原线圈2450圈,把它拆到1350圈处抽头,再重新绕好。
压变电容的反电压是由电位器R\(_{3}\)分压供给的,为了避免电源回路对振荡频率形成短路,回路中串联了一只0.5毫亨的高频扼流圈(RFC),这是由2只普通外差收音机天线线圈串联后,套在直径10毫米,长30毫米的磁棒上而成。这个线圈电感量要求不严,可以改用0.2毫米直径的漆包线在12毫米直径的纸筒上绕300圈,再塞进一根磁性芯子代替。
这架机器在焊接时,要注意氧化铜不能受热,否则它的特性变坏,可以把它的引出线留长一些,并绕成螺旋状, 焊时用钳子夹往线头,这样热量就从钳子上散去。另外,外加电压一定要接反电压,即有氧化铜的一面接负极。

在校验输入回路时,R\(_{1}\)、R2暂时不接,L\(_{l}\)接天地线后,将IFT3右半只线圈的线头拆下,用L\(_{2}\)代替它接到第二检波级,如图5。开启收音机后,反复微调并联在C1、C\(_{2}\)上的半调整电容器(外差收音机中用的补偿电容器),直到能同时收到中央人民广播电台(640千周)和另一个频率约1200千周的电台为止,再将C1的补偿电容器稍稍旋紧,接上R\(_{1}\)、R2,把线路恢复原状。
如果全机装好后,在900千周左右的电台灵敏度欠佳,可以将R\(_{1}\)、R2减到5—7千欧,使整个通带的曲线平坦一些,R\(_{1}\)、R2对曲线的影响示意图见图6。

如果附近没有1200千周左右的电台可供调谐,不调谐也可以,因为这个滤波器的两个波峰位置对全机影响不大,根据图中的数据制作,谐振曲线和要求的也很近似。
在测试振荡级时,可用每伏2万欧的万能表测振荡栅压,3-5伏即振荡良好,否则可再增加回授线圈L\(_{3}\)的圈数。
机器装好后,只要改变加在D\(_{1}\)、D2上的电压,即可改变收听电台,所以这部收音机可以在远处遥控。图2中有虚线的地方,即是遥控用接线,例如把收音机放在桌上,晚间休息时在床上即可调谐收听电台。
实验结果,在600—1400千周波段内可以工作,但是效率比不上一般用可变电容器调谐的收音机。原因是所用半导体D\(_{1}\)、D2的Q值太低,压变电容太大,而变动范围又太小。估计有了好的半导体(如硅半导体或锗半导体等),它的效率一定可以达到七灯机的指标。读者如果试验不灵,应重点注意振荡强度问题。(肖天贶)
