北京市无线电制造厂从今年五月份起开始生产一种凤凰5961型长短波6灯超外差式收音机,这种收音机的外形和电气性能都比较优越。

5961型收音机由于短波段的收听频率不同,又分3种规格,其中5961-A/2型,短波波段为3.9-12兆周,15-22兆周;5961-A/3型,短波波段6-18兆周和一个热带专用广播段2.3—4兆周;另一种5961-A/1型,短波波段3.9-10兆周,11.5-18兆周。至于广播波段,都是535-1605千周。
5961型收音机的设计,首先是全面地满足了三级收音机的标准,并且在成本增加不多的条件下,具有比一般三级收音机好的电气性能以及富丽堂皇的外观,以适合国内外消费者的不同需要。下面主要介绍供国内市场的5961-A/1收音机。
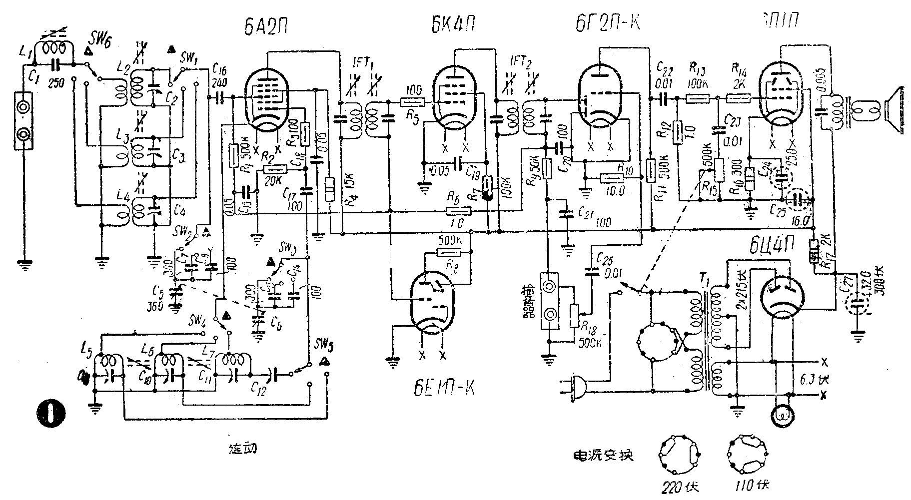
这是由6只电子管组成的,其中6A2П变频,6K П中放,6Г2П-K检波、自动音量控制兼第一 ,6ПlП功率放大,6E1П-K光电调谐指示器和6Ц4П全波整流。全机线路见图1。底板另件位置见图4。


在天线输入电路里串联了一只陷波器L\(_{1}\)、C1(频率与中频相同),它是用来防止在沿海地区使用时,海岸船舶电台的信号混入中放级去产生干扰。在变频级的两个短波段都采用半扩展调谐措施,使16、19、25、31、41、49和75公尺的各个短波广播波段在度盘上占较宽的刻度,在很大程度上减少了调谐时的困难。
在中放级中为了获得较高的增益,所以中放管不加固定栅编压,在无信号时,它的偏压是由检波管二极部分的接触电流在自动音量控制电路中引起的控制电压(约-0.54伏)供给的。
第一低放与功率放大管之间,接有一个RC网络组成的音调控制器。它的功用主要是对高音调有较大的衰减,以增进收听音乐时的柔和感。
从机构结构上讲,全机由两部分组成,即机架和高频电路的组装件。为了便于加快流水作业线的速度,严格控制产品质量,增强互换性,简化工艺过程,所以变频级的6只线圈,6只补偿电容器以及陷波器、波段开关等都装在一块小底板上,成为一个预装构件(图2),作为一个组装件在总作业线上装配到基架上去。

机内装用166毫米口径的恒瓷式扬声器,因为扬声器口径较大低音较好。输出变压器是装在扬声器一侧的木板上,使它能最大限度地远离电源变压器,以免引起交流声。根据实测,市场上有好些型号的收音机都存在这种毛病。
机器外壳是木质结构,正面蒙有嵌银丝的扬声器布,底下开有专作校正用的圆孔,作一般校正时,就无需将机器从木箱中取出。

图3是本机采用的光学度盘,式样比较新颖,在中波广播段刻度下面注有拼音文字写的全国主要电台的地名,每个地名上端有一个长方形的透光孔,对于不熟悉各地电台频率的听众,只须将指针调到所需电台地名的方孔中,就可以听到相应的电台(当然距收听电台过远的地方是不适用的)。这种度盘在国内还是首创。
外形的造型线条是参照各国产品收音机后进行综合设计的,由于配上了我国传统装饰的调谐指示器窗口,外形显得大方和具有醇厚的民族风格。
根据实测,本机主要电气性能如下:1.额定输出功率0.5伏安(最大2伏安),2.灵敏度中波不劣于170微伏,短波Ⅰ200微伏,短波Ⅱ400微伏,3.选择性±10千周的衰减不小于33分贝,4.非线性失质200-400周7.5%(指输出电压的失真),400周以上3%,5.整机频率响应(当电压不均匀度为±10分贝时)的频率范围为82-4500周,6.音调控制对高音衰减19分贝。(沈铭宏)