外差式收音电路工作稳定,选择性高,与直接放大的高放式或再生式电路相比,性能优越得多,而且可以用来接收短波波段的广播。所以至今许多年来外差式还是广播收音机中最通行和最标准的基本电路。
有经验的爱好者都知道,装接一部外差式收音机并不困难,问题在于装好后的调整和校验工作。最简单的外差式电路(只收听中波波段,没有中频放大级)也必须有四个调谐回路和一个垫整电容器。它们必须都调整好,才能使收音机发挥出应有的作用。这样,如果没有经验和一些必要的测试仪器的辅助,很难做得很好。而“同步”在外差式电路里对收音效率好坏有决定性作用。“步调失调”不但要使收音机灵敏度和选择性大受损失,有时还会带来一些不愉快的叫啸、杂声和失真。这样就使许多爱好者宁愿装制再生式,对外差式收音机的装制不敢轻易动手。其实从再生式到外差式,我们可以采取从简到繁的步骤,先从最简单的方法开始,逐步向前过渡。这里就举出一个简化了的外差式线路来提供给大家作试验。它有以下的优点:
1.装接起来调整校验简单,可以不用什么电表仪器;
2.原来再生式电路里的一些另件,都能应用;
3.收音稳定,调谐简单;
4.性能,特别是选择性超过再生式。

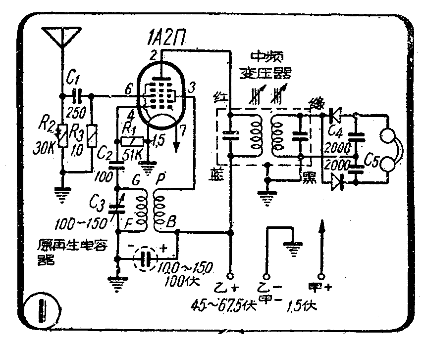
变频部份 变频是外差式电路里的主要部分。它是在接收到输入信号的同时,使变频管的本地振荡部分产生一个比较接收信号频率高一些的频率,来和输入频率相混合差拍而产生一个中间频率,再进行检波。在简化的外差式电路里,天线信号输入部分可以是不调谐式的;也可以是可调谐式,但和本地振荡的调谐电容器不同轴连动,而是分开调谐的。图1便是不调谐输入式的电路图。这里使用一只1A2Π管担任变频,由它取得的中间频率经过中频变压器(1FT)传输给矿石检波级进行检波收音。图中变频管的天线回路里没有线圈和可变电容器,是用R\(_{1}\)、C1和R\(_{2}\)组成的阻抗回路来相匹配。选择需要接收的电台播音,是靠调谐振荡回路中的C3来完成。C\(_{3}\)就是原再生式收音机中用来调节再生力的一只小可变电容器。中间频率是465千周,中频变压器可用华北厂产品有磁性瓷芯的一种(型号ZP03-1)。这个线路在工作时,实际上所有外来信号一齐都加在变频管的信号栅上(电子管第6脚)了。以北京地区为例,信号栅上同时可有640(中央台第一种节日)、720(中央台第二种节目)、820(北京台)、1030(北京台)和1350千周(北京台)等五个频率信号。如果我们转动C3,使本地振荡级产生的频率为1495千周,这时和输入级收到的信号频率进行差拍,在变频级的屏回路里就产生有1495-640=855千周,1495-720=775千周,1495-820=675千周,1495-1030=465千周和1495-1350=145千周等五个差频,因为中频变压器谐振频率是预先调好固定在465千周上的,只有465千周才比较容易的通过它,所以经过矿石检波,在耳机上能听到的只有103O千周的一个电台。这样只需旋转C\(_{3}\) ,便能收听到需要的电台播音。振线线圈可以使用成品线圈如美通552B或610R。这种线圈体积小,占地位小。如需自制,可以按图2a绕制。如果同时需要收听短波波段,可以加一只同上式样的短波振荡线圈,如售品的美通640R,并须加添一只双刀双掷开关来作转换,线圈如需自制,应按图2b绕制。这个线路调谐起来简单方便,但是天线输入回路没有发挥它的应有作用,因此收音效率还不是十分理想的。


图3是输入分开调谐式的线路,它与图1不同的地方是变频管天线输入回路里增加了线圈和可变电容器C\(_{1}\)组成的调谐回路,使天线回路里增加了选择电台的能力,也就相应地增加了收音机的灵敏度。它和一般的超外差式收音机也有不同。在这里C1不是常见的与C\(_{3}\)同轴连动的双连电容器,而是原来再生式机上用的单连可变电容器。在收音时C1和C\(_{3}\)两个回路分别调谐,这样作不只是为了充分利用再生式机上原有的一些另件,更重要的是这样调谐在接收每一电台时都能调谐到最灵敏和最尖锐的地步,也就是可以充分发挥外差式的性能作用。因为在所有的利用双连电容器调谐的超外差式收音机中,天线信号和本地振荡在一个波段里只能作到在频率较高、较低和中部的地方各有一点取得完全同步,不可能使每一电台都能得到真正的同调,因此外差式的优良作用并没有在接收每一电台时完全发挥出来。这种分调式的调谐方法是先旋动本地振荡的调谐电容器C3,同时也使天线输入级的调谐电容器C\(_{1}\)在与C3大致相同的度数上,向同一方向徐徐转动。在收到一个电台时,C\(_{3}\) 停止不动,单独旋动C1至声音最响便可。这样收听一个电台需要分别转动两个调谐电容器,手续上像是麻烦些,但比起调节再生式还是简便得多。天线输入部分的线圈可以利用原再生机上的三回路线圈(其中的再生线圈暂时空起不用,将来可以用来再作进一步的试验)。也可以用专供外差式机使用的成品线圈如美通552A。在增加短波段时,需要添加一只相应的短波线圈如美通640R的天地线圈。这时转换开关也应改为四刀双掷的,才能合用。
检波部分 为了节省电池,检波级用矿石检波,采用两只矿石是为了检波工作稳定。矿石检波的灵敏度是随着频率改动而有所不同。现在是把检波频率固定在中间频率465千周上,因此矿石检波的特性也可以得到最好的发挥。

装制和调整 本机实际制作,底板和面板可以按图4布置接线。如果底板是用木质的,中频变压器外壳必须接通到地。装好以后接上甲、乙电源和天地线,在试验不调谐输入电路时,转动C\(_{3}\)便能收到播音。试验输入分开调谐电路时,先转动C3,同时也使C\(_{1}\)跟着徐徐转动。使声音最响。中频变压器新购置的在出厂时已经是经过校准频率固定在465千周上的了,装上后不必再作旋动。如对中频变压器的频率是否正确,可在收音机低频端调谐到一个电台(例如中央台640千周),然后微微旋动中频变压器次级线圈(接矿石检波的一级)的调整螺丝,至声音最响为度。调整时应注意:①在调整中频变压器过程中,C3应该固定在一个电台上,不可再转动;②调整必须细致耐心,不可粗枝大叶;③为了避免人体感应,调整最好用绝缘起子,可用竹筷子削成小起子形代用。变频级和中频变压器经过调整以后,应该再把矿石拨动一下,使它声音最响。
结语 (1)根据实验,在收听中波段时,乙电电压在20伏的即能工作,乙电压提高,灵敏度也随着增高,但最高不宜超过67.5伏。(2)上面谈到的天线输入部分分开调谐的电路,适用于一切超外差式收音机,这样调谐上虽然稍为麻烦些,但可省下一只双连电容器,并可将收听每一电台所应达到的灵敏度和选择性充分发挥出来。(3)以上两个电路仅是学习装接外差式收音机的第一步。在了解和掌握了它的性能以后,我们还可以做进一步的试验,例如把再生机上三回路线圈原有的再生圈加接到天线输入回路中去,看看是否能够把外差式和再生式的优点合并起来,兼而有之,使灵敏度和选择性更加提高。(李健)