现代的收音机和电视接收机普遍采用着超外差式电路,这种电路要求在它的变频级内含有一个本地振荡器(高频振荡器)。本地振荡器的故障很多,对接收机的影响也很大。
收音机和电视接收机中应用的本地振荡器约有下列几种基本类型:调屏式、调栅式、三点电感式(哈脱莱式),三点电容式(考毕茨式)和电子耦合式。其中以电子耦合式在现代的收音机中用得最多。在这些类型的振荡器中,它们的主要区别仅在于回授的方式不同。
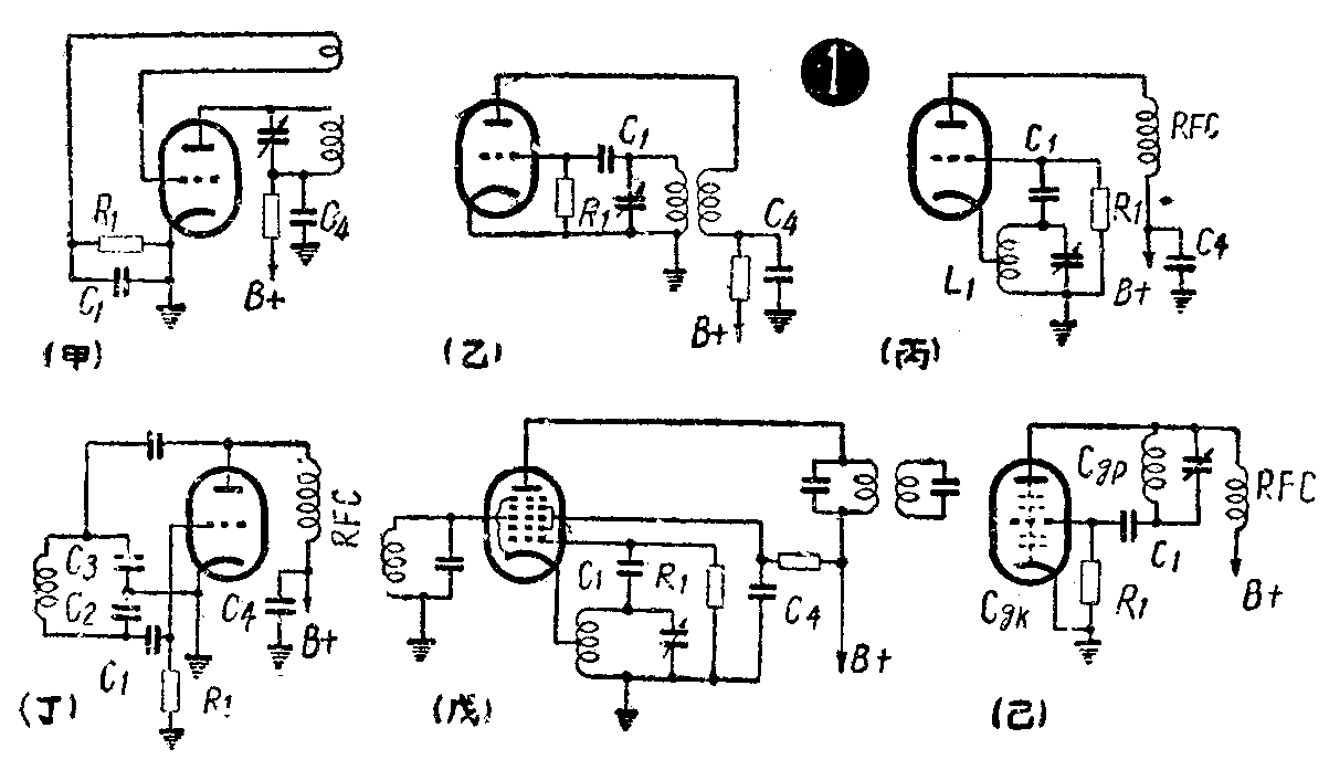
调屏式振荡器的回授是通过屏极和栅极线圈间的耦合而从屏极回授到栅极的(图1甲)。在调栅式报振荡器中也是同样的情况(图1乙),唯一不同点是振荡频率由栅极回路来调谐。在哈脱莱式振荡器中(图1丙),流过线圈L\(_{1}\)的屏极信号电流,由于L1起有自耦变压器的作用,供给栅极以回授电压。在考毕茨电路中,回授是由于电容器而不是电感线圈的作用(图1丁)。因为C\(_{2}\)和C3的分压作用,使栅极得到了振荡器屏极信号电压的一部分,这电压的数值决定于C\(_{2}\) 、C3容抗的比值。另一形式的振荡器(图1己)是在考毕茨电路的基础上改进的,回授电压不是通过外接的电容器而是通过振荡管内屏——栅和栅——阴极间电容,使栅阴极间得到一个回授电压。电子耦合式振荡器通常都只用一只变频管,振荡器产生的信号和接收的信号在同一只电子管内差拍而不用外接电路。图1戊就是一个采用哈脱莱电子耦合式电路的振荡器。

振荡器的输出必须足够大,以保证有适当大小的中频输出信号,但是输出太大也会产生不良后果。为什么过甚的输出不好呢?原因之一是会产生啸叫(在收音机中)。因为输出太大,谐波频率的电压也很大,当这些谐波与外来信号的谐波差拍后,这个差拍信号有可能通过中频通道,于是就产生了啸叫,在波段的高频段,这种效应最为明显,因为振荡器的输出通常是随振荡频率的升高而增加。
在电视接收机中,振荡器输出太大会产生图象干扰,在图象中出现锯齿形的垂直线条,随之而来的是猛烈的噪声。
振荡器输出太大时有可能导致振荡频率偏移,当接收机不能得到正确的调谐和追踪时。这个可能性就值得检查。
当接收机采用混频和振荡分开的电路时,振荡器输出太大会降低接收机的灵敏度。这是因为当输入混频级的振荡电压超过了混频管控制栅的栅偏压时,栅极电压趋正,因而产生栅流,以致降低了输入调谐回路上所感应的信号电压;同时由于栅流流过自动音量控制电阻而使混频管的栅偏压增加,降低了混频器的输出。这种情况可以用一个0—1毫安的电流表接入栅极线圈与地连接点之间来检验,如果转动双连可变电容器时,在整个转动范围内都有电流流过,就是由于振荡器输出过甚或偏压太低的缘故。
振荡器输出过甚。在电视接收机中的另一个影响是通过它本身的发射,将对别的电视接收机产生干扰。受干扰的接收机屏幕上将出现鲱骨状的图像、对角的线或条。当然屏蔽不好更不应该。
最后,振荡器输出过甚还容易引起寄生振荡。
如何判断振荡器输出过甚呢?当发现了上述的某种现象后,可以用电子管电压表测量振荡器栅极与阴极间的电压。在收音机中,如果超过10伏,在电视机中如果超过5伏,那末振荡器的输出就嫌高了。
可能产生输出过甚的原因有:振荡器屏极电压太高(例如屏极降压电阻阻值太小),振荡线圈耦合太紧和栅漏电阻太大。
振荡器中存在有调谐回路谐振频率以外的振荡为寄生振荡。产生寄生振荡的原因是由于电路中的杂散电感量和电容量的谐振。寄生振荡产生在振荡器调谐范围内时会出现“死点”或输出的振荡电压有很大的变动。在调幅收音机中,当存在着寄生振荡时,中波段的高频端会产生啸叫,而短波波段则啸叫更形剧烈。寄生振荡对电视接收机的干扰则是在显像管屏幕上产生杂乱的线条,有时使图像暗淡,或者看不到图像。
检查有无寄生振荡,只要把振荡回路短路,然后测量振荡器栅极与地之间有无电压,如有电压,则表示有寄生振荡。减短引线的长度,妥善安排屏极与栅极的引线,不使产生不必要的耦合,或者更动振荡器元件的位置,都有可能免除寄生振荡。
收音机的短波段时常会发生振荡阻塞现象,但是在中波段和电视机中振线阻塞现象同样可能发生。这种故障的产生原因是振荡器栅回路中的时间常数太大了,当R\(_{1}\)或C1(图1)的数值太大,则R\(_{1}\)上的负偏压就愈大,因此振荡就将停止,等到C1上的电压通过R\(_{1}\)放电,负偏压减少到恢复振荡为止。这个过程周期的重复着,振荡器的振荡就被规律地阻断了。假如这个周期在音频范围以上而在超音频范围内,那末在收音机中,这个故障的主要象征是声音中有很高的杂音水平;假如这个周期在音频范围以内,那末将产生啸叫,有时也会产生汽船声。
如果电视接收机中的高频振荡器发生了这种故障,那末组成图像的全部线条或部分线条就不能从显像管上显示出来。因为在振荡器被阻塞不能工作的这一段时间内,电路中没有视频信号输入。
为了阻止短波段产生阻塞振荡,可以在栅极上串联一只1,000欧电阻(见图2),这只电阻是与振荡管的栅阴极间电容相串联,而与振荡器的调谐电路相并联,以减少高频段产生这种故障的倾向。这个串联电阻的正确数值可以由试验决定。

当接收到一个强信号时,收音机的自动音量控制电压就会升高,电子管的屏流减小,如果收音机的整流器稳定度很差(即电压变动率很大),由于电子管屏流减小,整流输出电压势必升高,于是振荡管的屏压也将升高,这就导致振荡频率的偏移。减低了中频信号的强度,使自动音量控制电压随之减小,电子管屏流上升,整流器输出电压降低到原来的数值,于是振荡器的振荡频率就回复到原来的数值。随之而来的又是这个过程的重复,于是在声音中就产生了振颤声。
在收音机中听到“朴脱朴脱…”的汽船声时,故障源由大部分是由于整流器的输出滤波电容器断路。振荡管屏极的去耦电容器(图1中的C\(_{4}\))断路后也会产生同样的情况、在少数情况下,换了好的滤波电容器或去耦电容器后,仍旧不能消除这种故障,那末可以在音频放大级中,采用小电容量的级间耦合电容器,以减低收音机的低频响应来消除汽船声。
一架刚装好的电视机发生汽船声或是汽笛声,大多数是由于振荡管或混频管的弊病。
特别在调频接收机中,频率偏移也是振荡器的一个很麻烦的弊端。产生频率偏移的原因之一是振荡管和管座发热后,电子管极间电容量改变以致振荡频率发生变化,而其他元件发热或者采用品质不佳的电子管,容易吸收潮气的振荡线圈以及不良的管座,也都能产生频率偏移。
某些机械结构上的缺点也可能产生频率偏移。例如收音机中度盘的拉线拉得太紧,电视接收机波道转换开关中的振荡线圈接触簧片的接触不良,都能发生这种故障。(穆千圻 编译)