一架放音正常的收音机,有时突然被一个“不速之客”的电台占据了整个度盘,除了一些“的的达达”的电报信号和模糊失真的广播声外,简直什么也听不清了。
这种干扰现象的产生,是由于一些频率等于或接近中频(465千周)的电台信号侵入引起的。这些电台主要是江海岸电台,也可能是广播电台的副谐波。当收音机的选择性不够好(例如没有高放级)时,这些信号就由天线输入,通过混频级后窜入中频放大级,因为它们的频率等于或接近中频,所以很少受到中级,调谐回路的削弱作用,而与有用的信号一起被送入中放级放大,通过检波后便产生了强烈的干扰。
“陷波器”是抑制这种干扰的特殊装置,这种装置在收音机里经常采用。陷波器分两种,并联谐振的串联在输入回路里,串联谐振的并联在输入回路上。它的形色主要有下面几种:
1.通过式陷波器 陷波器一般叫串联式陷波器,也叫旁路式陷波器,它是由电感L和电容C串联而成,实际上就是一个LC滤波器,它的线路如图1甲所示。图中LC谐振于干扰频率,所以这个电路对干扰频率的阻抗极小(图1乙),好象猎人所设的陷井一样,只让干扰信号旁路通地,而其它有用信号由于陷波器呈现的阻抗大,只能由天线线圈通过,这样,有用信号被保留下来输入收音机,而干扰信号被消除了。L和C的数值可用LC=1/4π\(_{2}\)f2的公式来计算,式中f为干扰信号的频率,如用465千周时,代入得LC≈l7毫亨·微微法。

图1里的LC是一个串联谐振回路,只有选用大的L/C比值时(即L要大,C要小),回路才能具有良好的选择性。但 L/C比值过大,也就是C过小时,L上的分布电容对谐振起相当大的作用,决定谐振频率的将是L、C和L的分布电容。可是L的分布电容是和L并联的,就象天线的等效电容一样;另外,L的分布电容决定于线圈对机壳及其它部件的相对位置,所以L/C过大时,一方面谐振频率不容易设计正确,另一方面谐振回路的稳定性就差,调换一根天线,或者机内温度变化,受到机械振动等,都会使LC的谐振频率失调,失去了陷波作用。通常情况下L/C比值采用0.04-0.002毫亨/微微法比较合适。
这里应注意的是:LC和天线线圈是并联的,不论陷波器的设计如何,有用信号多少要损失一些,使收音机的灵敏度降低。因此要正确选挥L和C的数值,采用高Q值的线圈和电容器,并且在装置上也要合理地考虑到它们排列的位置。
图2是捷克斯洛伐克Tesla“T414 U-7”型收音机的陷波器电路图,图3是我国“东方红”和“上海”牌收音机的陷波器的电路图。其中“东方红”的C值用得较大,是因为它的陷波器直接天线,天线参数的变动对它的影响很大,增大C值可以增进稳定性;而“T414U-7”的天线是通过一只1000微微法的电容器C\(_{1}\)后,再接到陷波器和天线线圈的,这只电容器和天线的等效电容器串联,减少了天线的影响,因此可以用较小的C值来增加选择性。

图4是国产红星“504”“505—1”型收音机里的陷波器,它的C和L的位置和上述两种收音机里的相反,C装在L的上面。在原理上把C装在L的上面或下面作用一样,但实际上还有些区别。因为LC回路除了由于L和C本身的电阻而消耗能量外,附加的损耗主要是由线圈对其它部件和机壳有电磁感应作用,产生诱导电流而形成的。要附加损耗小,最好把线圈放在电路中电位较低的位置,把L放在C下面更接近地电位,就能够达到这样的目的。自然,实际上附加损耗是不大的,所以L和C位置如何,影响并不显著,一般也很少注意。
在短波段,混频级前的输入调谐回路所调谐的波段离这些干扰频率很远,容易靠一次调谐的作用就完全免除干扰信号的影响。因此,为了增加短波段的灵敏度,有些收音机就只在中波段时才接入陷波器,如红星的陷波器装置就是如此。

2.吸收式降波器 陷波器的作用是把天线上的干扰信号用谐振回路来吸收,使干扰信号受到抑制。图5就是这种陷波器的电路,其中LC是串联的谐振回路,谐振频率是中频(干扰频率),安装时应和调谐回路垂直,防止磁耦合。LC的数值也按照上面的公式计算,它的L/C比值用得比较小。这种陷波器的效率不比其它形式的高,所以不象通过式以及下面谈到的封闭式那样被大家广泛采用。

3.封闭式陷波器 这种陷波器是由LC并联回路组成(图6)。当干扰信号的频率等于这个回路的谐振频率时,回路是呈现极大的阻抗,不让通过,从而消除了干扰信号。这种并联谐振电路和串联式不同,要选择性好,就要采用较小的L和较大的C,一般以L/C=0.002-0.00002毫亨/微微法比较合适,L/C比值再小时,回路在谐振时阻抗变得过小,陷波作用的效率就不高了。
这种陷波器因为L小C大,附加损耗很小,不妨接在天线线圈的上端。如果把它改接到天线线圈的下端,实际差别也是不大的。
采用合适的 L/C比值,尽量提高回路的Q值,并把LC接得靠近天线线圈(但应相互垂直,必要时可加屏蔽),这些都是提高封闭式陷波器效率的有效途径。


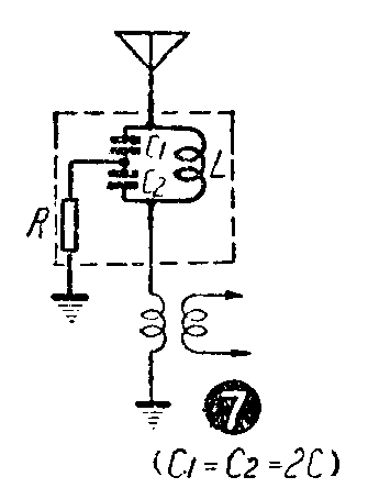
有时为了增加封闭式陷波器的效率,也采用图7和图8的电路,其中以图8那样在电感线圈上抽头较为简单。LC数值的计算和前面一样,R的数值最好和干扰频率的阻抗相等(从图中R的接点向左看),使它能够很好的吸收干扰频率的电能。一般常用的是10-20千欧。图9就是采用这种电路的苏联“巴契克”牌收音机的有关电路。

4.封闭式和通过式同时应用 封闭式陷波器的作用是阻止干扰信号通过,而通过式陷波器的作用恰巧相反,是让干扰信号短路。因此把这两种陷波器搭配起来使用(图10),就可以增加陷波效率,把干扰信号强度减至最小。

陷波器除装在天线回路里,也可以装在其它回路里。
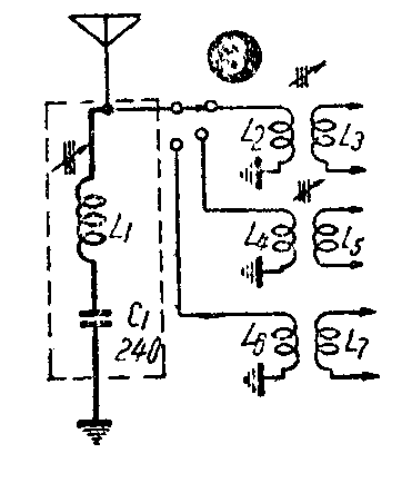
1.装在屏回路和栅回路里的陷波器 有高放级的收音机,陷波器可装在高放级屏回路里,也可装在混频级栅回路里。它的形式和装在天线端的几种一样,例如图11所示,它的优点是天线参数的变动对陷波器没有影响,但随之而来的是陷波器处于高压之下(装在屏回路里时),而且干扰信号经高效后再在陷波器上滤去,比不上在天线端进行滤波的效率高。图12是苏联“联欢节”12灯机里的有关电路,其中L\(_{25}\)、C28就是直接高放管屏极的封闭合陷波器。


2.利用负回授的陷波器 这种电路有构造简单,陷波作用不受天线影响,也不影响收音机灵敏度等优点,作者认为是一种值得推荐的电路。但是这种电路的缺点是只能应用在有高效放级的收音机中,大大限制了它的使用范围。
利用负回授的陷波器,是以一个并联的LC回路接入高放管阴极电路最为简单实用,LC回路谐振于干扰频率,因此干扰信号通过高放管时,在回路上产生较大的电压降,使栅偏压增高,削弱了高放级对这一频率的增益,完成陷波作用。
这个LC回路应尽可能的提高它的选择性,使它对不属于干扰信号的频率影响极小,这样,有用信号就不会因负回授而削弱。为了这个目的,建议采用高Q值和L/C比值较小的回路。另外,为了防止LC回路和其它另件发生不需要的耦合,避免引起正回授,寄生振荡等,建议在LC上加隔离罩。

图13是苏联“留克斯”11灯机的陷波器电路,其中L\(_{3}\) 、Cll就是产生负回授电压的并联谐振回路,它的L/C比值选得比较小,并且电感线圈采用了铁粉芯以提高Q值。
负回授陷波电路中的LC可以很方便的用中频变压器代替(用中频变压器代替虽不完全合适,但可以用),只要把变压器的初次级线圈串联即可,见图14。但应注意两个调谐回路的线圈方向要一致,接反了就不起作用。

中频变压器的两个线圈串联后,直流电阻约20欧左右,如果高放管用的是 6K4Π等,那末它的阴极电阻还可以省去。因为6K4Π的阴极电阻是68欧,对于有自动音量控制的收音机是不成问题的。(路民峰)

