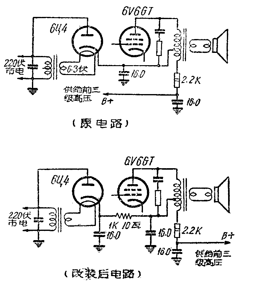
“新时代”107型收音机电源变压器无高压绕组(直接利用220伏市电作高压),整流后电压比较低,因此输出变压器接在第一级滤波电路上,结果收音机工作时,特别在小音量时嗡嗡的交流声颇为明显,对音质大有妨碍。
作者在原电路上加了一只1000欧10瓦的线绕电阻和一只16微法450伏的电解电容器,花钱不多,但交流声一扫而光。虽然多加了一只电阻,乙电压降低了些,但对音量的影响很小。(许梦麟)

消除“新时代”107型收音机的交流声
“新时代”107型收音机电源变压器无高压绕组(直接利用220伏市电作高压),整流后电压比较低,因此输出变压器接在第一级滤波电路上,结果收音机工作时,特别在小音量时嗡嗡的交流声颇为明显,对音质大有妨碍。
作者在原电路上加了一只1000欧10瓦的线绕电阻和一只16微法450伏的电解电容器,花钱不多,但交流声一扫而光。虽然多加了一只电阻,乙电压降低了些,但对音量的影响很小。(许梦麟)
