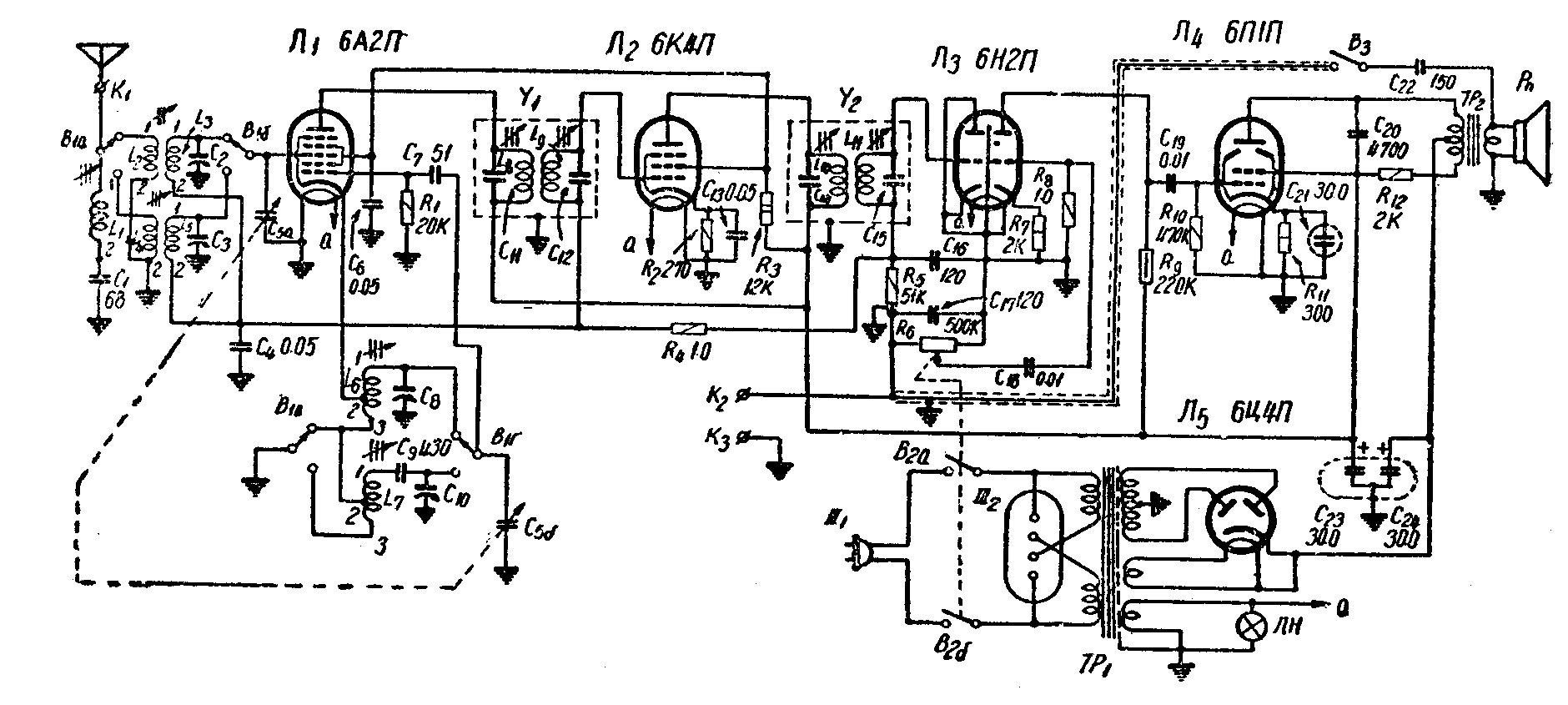
本机是五灯交流二波段超外差式收音机,备有拾音器接线柱,可借拾音器播送唱片。装有音调控制开关,它有两个位置,当搬向高音位置时,高音多些,搬向低音位置时低音多些。使用电源是110伏或220伏(50—60周)的单相交流市电,电力消耗约40瓦。频率范围:中波段520—1600千周,短波段3.9—12.1兆周。


都江牌101型五灯交流收音机
——国营成都无线电厂出品
本机是五灯交流二波段超外差式收音机,备有拾音器接线柱,可借拾音器播送唱片。装有音调控制开关,它有两个位置,当搬向高音位置时,高音多些,搬向低音位置时低音多些。使用电源是110伏或220伏(50—60周)的单相交流市电,电力消耗约40瓦。频率范围:中波段520—1600千周,短波段3.9—12.1兆周。

