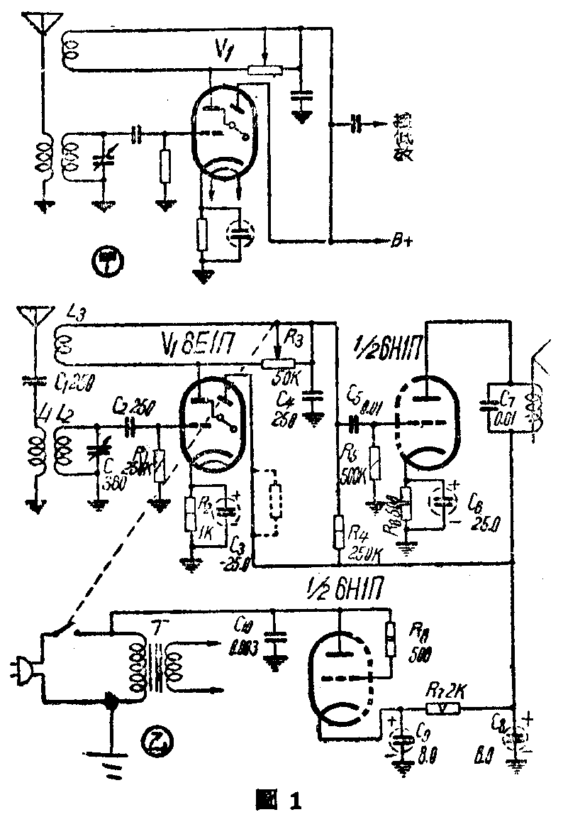
调谐指示管是专用在超外差式收音机中做为调谐指示之用的。但是我们也可以拿它来装普通的再生式收音机用;图1甲就是这种电路。其中是用了指示管中的三极部分来作栅极检波的。电路原理亦和普通再生检波电路相同。栅极负压由电阻R\(_{2}\)取得,输出讯号由C5交连至下级电子管进行低放。当有外来讯号输入时,指示管中的影示部分就会发生作用。这样我们可以利用萤光屏中的影示帮助我们调谐电台,阴影变得最窄时就是对这个电台调谐到最准确的地方。
图中的V\(_{1}\)可用带有三极部分的任何一种调谐指示管。如北京牌6ElП和旧式的6E5等。有一种带有双扇形的指示管也可采用。如捷式EM11、EM4就属于这一类,用时将两扇并联。在换用不同的调谐指示管时只消改换阴极电阻R2(可由实验决定),其他电路元件不必变动。

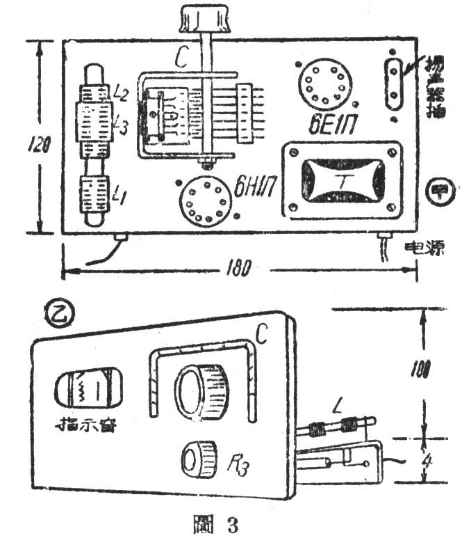
图1乙是利用这种电路的一个方法,用北京牌6E1П和复合管6H1П(作低放和整流)。这样又可省掉一只电子管。高压直取市电。T是灯丝变压器,可以6伏电铃变压器代用。这里线圈改用磁性天线,可使选择性提高。磁性瓷棒的尺寸是10×100公厘。L\(_{1}\)L2拆用中频变压器的多股漆线(普通5—9股)合成20余股。L\(_{1}\)绕25匝,相隔6公厘再绕50匝做L2;L\(_{2}\)上平铺一层牛皮纸后用直径0.31公厘(英规30号)漆包线绕30匝做L3(参阅图2)绕制方向要一致。绕好后放入熔化蜂蜡浸10—20分钟即成。线圈要用支架支在底板上以防短路。R\(_{3}\)是再生控制器兼电源开关装在底板下零件排列如图3。


全机装好后检验时,将天线柱插入地线,通入电源,最好先用一试电笔测试底板,如亮说明底板带电,应将电源反插。这种电路当电源接反底盘带电时是不发音的。如果感觉阴影变动不灵敏时,可在光屏串入电阻;阻值约30K(图中虚线所示)。
实验结果,这样用调谐指示管装成的再生式收音机,其效果并不亚于普通电子管的检波电路。此机接入室外天线时,在北京晚间本地电台不播音时可听河北、山东、河南、内蒙古等电台十余处。用舌簧式喇叭放音声音非常清晰。足够普通家庭享用。无形中省掉了指示灯,并可利用机内的调谐指示管调谐电台,而另外对收音机的外型美观来讲,也相当的提高了。(李汞)