1959年本刊第4期“旧式日制收音机的改造”一文谈到如何将几种旧式日制再生或高放式收音机改装成自差式或超外差式的方法。根据许多读者反映,所讲的两种办法,适用有效,这样可以把即将报废的古老机器更生利用起来。有的读者根据经验更提出了进一步改进的方法和意见。现在归纳成以下几项,刊出供大家参考。让我们更多的想些办法,来把这种旧时代遗留下来的东西,改造得更好,更适合新时代的需要。——编者
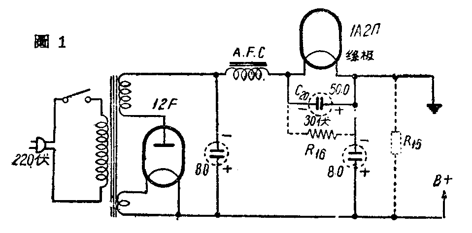
一、第4期本文第二个办法中把四灯型的改为超外差式的方法(原文图4)是增加一只直流管1A2П来作变频,优点是改装的手续简单,改装以后,中、短波段都可收听,效率较好,确实能够满足使用上的需要。但是另一方面,这样做时,灯丝是独立地用单节1.5伏干电池供电燃点,这样经常使用,在一定时间必须另换新电池,而且多了一项添购电池费用的经常开支,对使用者来说,不够经济方便。查阅1A2П管的特性说明,可知它的灯丝电流仅需30毫安(0.03安)。而原有58、57、47B等电子管的屏极及帘栅极电流总和也恰好是30毫安,加上1A2П的屏极和帘栅极毛流1.8毫安,合共乙电电流是31.8毫安,与燃点1A2П灯丝所需电流大约相等,因此可以按附图线路(图1)的办法,把电源回路略加变更,把1A2П的灯丝串接到电源乙—回路里去,完全可以利用直流乙电来燃点,省却了干电池和更换电池的麻烦。线路里在1A2П灯丝之间跨接了一只50微法耐压30伏的电解电容器C\(_{2}\)0u(也可用25微法耐压50伏的两只并联),作用是为防止由于接收讯号大小发生变化时,会引起整流器回路的直流电流的变化,这样波动的电流通过灯丝时可能引起交流声,并联电容器后,由于电容器的充数电作用,可以使电流稳定。按这样改接的方法,接好后先不要忙着插上1A2П,把其余电子管插上,开启电源后一分钟,用直流毫安表(0—100毫安)测量1A2П管第1与7脚间的电流(正极接第7脚),若电流是在30毫安上下,就可插上1A2П收音。如果电流不到30毫安,可能是58等旧有电子管稍老了,可在线路里增加一只15K至20K的泄放电阻R15,来提高回路里电流增至30毫安,以满足1A2П灯丝加热上的需要。确定R\(_{15}\)的数值应该用不同数值的电阻接试,至回路里电流可达30毫安便为合适,一般可用两只40K欧2瓦型的炭质电阻并联使用,便能满足。如果回路里电流直超过30毫安很多,应该在1A2П丝极两端跨接分流电阻如线路图中R16,这时电阻的阻值应根据欧姆定律,按分流电阻(欧)=乙电压(伏)/分流电流(安)计算。(南京 万四维、广州 周岐山)

二、同上改装办法新增变频管不用直流型1A2П,而按采用交流型6A2П管的线路来改装,这样使用6A2П作变频,比1A2П效率高而耐用,不易损坏。这时解决灯丝电源所需6.3伏电压问题,可以不改动原有电源变压器,用另外绕制一只2.5伏升至6.3伏的小自耦变压器接在原2.5伏灯丝电源线圈上的办法来解决、具体做法是将原线路(原文图4)里滤波用的低周振流圈(AFC)用3千欧5瓦电阻替换下来,利用它的铁心和线绕制。如原机没有AFC的,可照附图(图2)用旧低频或输出变压器或扼流圈的铁心,将硅钢片叠至有效截面积为3平方公分。用直径0.7公厘(英规22号)漆包线按每伏15圈绕制,这样6.3伏的总圈数应为94.5圈,可绕足100圈,在40圈处抽头引出为2.5伏。实验证明这个小变压器简单易制,不但可以供给6A2П灯丝,如果57、58管坏了,换用新型6K4П和6Г2П管也足够用。(沈阳 蔡周礼)

三、有些日制收音机末级功率放大管不是用47B五极管,而是用12A或71A等三级管的,例如“普及11号A”型便是用57作再生检波,56作第一级低放来推动末级12A的。在这一类收音机中,它的电源变压器灯丝部分多是备有两组5伏线圈的。其中一组是供给12F整流管灯丝用的。另一组是燃点12A或71A灯丝的。这类收音机改装为超外差式时,只把灯丝线圈的接法改动一下,便可直接添用6A2П或6SA7这一类的6.3伏变频管,不必另添或改绕电源变压器。实际的接法如图3,是把供给12A的一组5伏灯丝线圈与2.5伏一组串联,通过降压电阻来供给6A2П或6SA7应用。这只降压电阻可用旧的线绕电阻拆改,绕成4欧就够用,其他部分可参照原文设计改装,不再谈了。(南京 万四维)
