自从本刊登载了南京牌三灯长短波超外差式收音机的介绍以后(参见1958年本刊第12期),许多单位和爱好者提出要求对它作更详尽些的说明,现综合大家提出的问题再作补充如下,希望能满足大家的需要。

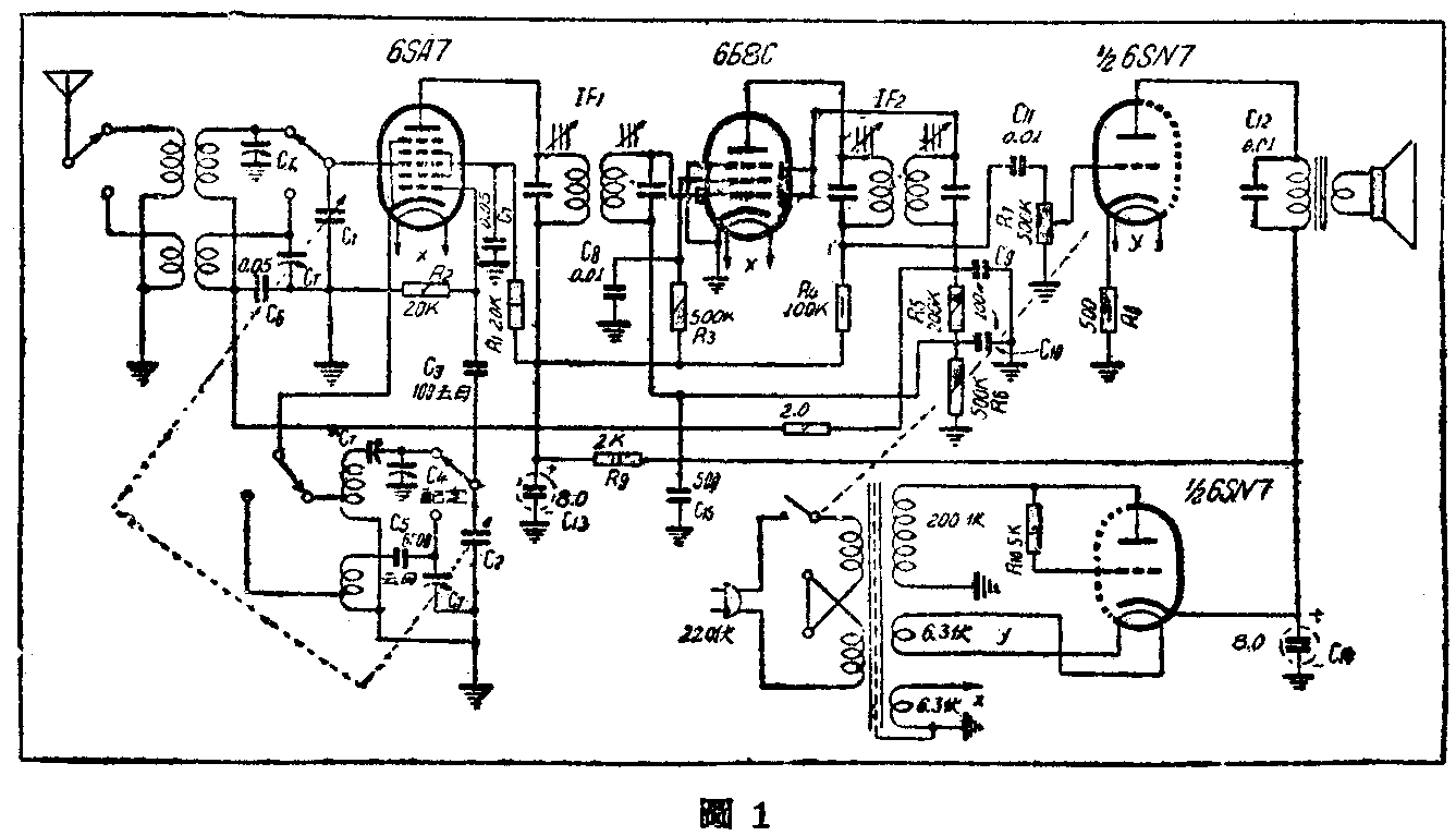
(一)关于线路为了便于大家仿制,现将原线路再绘出如图1,线路中有两点修正,一是把电位器移至第二级低放的栅极部分,另一是在6Б8C的栅极上加接了一只500微微法的纸质电容器C\(_{15}\),这样可以避免有时可能发生的叫声,以改善音质。本机主要特点是采用了两只复合管和来复式电路,只用了三只电子管,实际上可以完成变频、中频放大、检波、两级低放和整流等一般五灯机所具备的性能。变频部分由6SA7GT担任,线路结构与普通五灯机的外差式变频部分一样,中频是通用的465千周,所以也适合加装收听短波波段。本机频率范围为550—1600千周中波和6—18兆周短波等两个波段,实际上制作者可以根据自己需要改成一个或多个波段。双连电容器也是普通的,牌号不拘,只要是电容量每联最大为360微微法的一种便合用。线圈是市场上可购到的中短波线圈(如中央900,美通553和勒克斯800等),只要是为配合6SA7振荡使用的都可,其他如补偿电容器C3、C\(_{4}\)。半微调电容器CT等,都是与一般五灯机上用的一样。中频放大、检波、和第一级低放这三个部分工作是由一只6Б8C(6B8)管完成的。线路是来复式,即由一个电子管既做中频放大,又兼低频放大,其过程是把变频后的中频电压(465千周)经6Б8C的五极部分放大后,由同管内的小屏极和阴极组成的二极部分进行检波,检波以后的音频电压再返回输入原管的五极部分进行第一级音频放大,然后再经电阻耦合至6SN7的一个三极部分进行第二级音频放大。其所以能够来而复往是由于中频为465千周,而音频不过是由数百周到十数千周,故中频变压器的阻抗对中频电压起作用,对音频电压可视为短路,而在R\(_{4}\)与C11R\(_{7}\)支路并联的阻抗上形成音频电压,完成一管兼为二管作用的任务。中频变压器只须能调谐到465千周的任何牌号和型式都可用。第二级音频放大(输出级)和电源整流这两部分是由一个双三极管6SN7GT(或苏联6H9C)来完成的。一个三极部分担任第二级音频放大,它的屏极负荷阻抗较高,输出变压器使用直流机上配合3S4用的小型的一种基本合用,如使用配合6V6用的输出变压器,可将次级圈数拆减三分之一左右亦可。如无输出变压器,干脆接用高阻抗舌簧喇叭也很好。另一三极部分担任电源整流,在屏极与栅极间加接了一只500至5000欧的电阻,目的是为了保护栅极,电阻不宜过大,否则输出直流电压将会降低。需要着重说明的是6SN7GT的灯丝最好是由电源变压器上单独的6.3伏0.6安的线圈燃点,两端均不接地,否则阴极与丝极间将有200伏的电位差,长久使用,有被击穿的危险,这在大批生产的情况下是不可不考虑的。电源变压器自己绕制,可用截面积365平方公厘矽钢片铁心(3/4"×3/4"),每伏绕10圈,初级进线用英规36号线,高压用40号线,灯丝用23号线。或用次级有6伏左右电压的电铃变压器代用亦可。这时高压直取220伏交流,效率也很好不过要注意安全,最好底板用木质的,天线中串接一只100微微法云母质的固定电容器,电位器外壳不接地等,这样可无触电之虞,见图2。


(二)装置注意事项 另件在底板上排列如图3,我厂采用的是木质底板,以节约金属材料。底板下接线要求不严,只要排列整齐焊接牢固,按线路图接装,一般不会有问题。校试方法也和一般五灯机相同,先校中频变压器,再校高频变频同步。须要注意的是①6Б8C的栅极接引愈短愈好,并用金属隔离线连接。② 6Б8C的帘栅电阻(R3)阻值在400千欧至700千欧之间,具体数值,可多试几只来确定。这只电阻偏大则低频效果好,偏小则中频放大效率好。③6.3伏灯丝电压要足,空载电压最好不低于6.5伏,灯丝电压过低影响收音效率。本机还有缺点:①在一般小家庭里很合用,房间大了,音量尚感不足②来复级(6Б8C)有串音现象,即当收到一个电力强的电台后,即便电位器旋至最小,仍有该台的播音声。这一现象未能完全避免,现在是从消极方面把控制音量的电容器移至输出级的栅路部分来改进的。这些缺点相信运用大家的智慧,一定能获得改进。
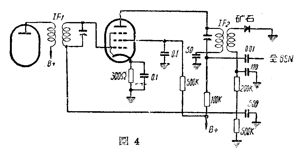
(三)其他说明变频级与一般五灯超外差式机相同,所以常用的6A8,6A7、6K8、6A2П、6BE6、7A7、6И1П等管的线路都可代用。6Б8C型电子管除6B8与其特性完全相同可以直接代用外,尚有6F7,6И1П,6Ф1П等管可用,或用一只矿石检波,配用普通常见的6SK7、6K7、6SJ7、6J7等五极高放管亦可。这样接线如图4。6SN7GT的代用品,以6H1П比较合用。6SL7或6H2П,功率小,充作整流很勉强,不合用。(南京电讯仪表厂 颜建中)
