在现代自动控制技术中,光电控制是一种常用的方法。制作光电控制器的关键问题是光敏元件。
光敏电阻是一种光敏元件,它的阻值会随光的照度变化;它是一种非线性元件,对于电特性要求不高的开关电路,这种特性并无多大妨碍。我们用半导体硒作原料,采用土法试制成的光敏电阻,使用效果还不坏。
硒是一种在整流器中使用较多的材料,结晶硒的熔点为217℃。硒蒸气和空气大量接触是会被氧化的,但固体硒或液态硒和空气接触氧化作用不显著。根据这一特性,决定了硒光敏电阻可以由下面的土办法制造。这个办法是我们经过多次试验后确定的。
制造方法
1.取20×15公厘大小的毛玻璃一片,作为光敏电阻的底板,要求毛玻璃表面没有明最凹凸痕迹,玻璃面上用石墨描若干条导电线(图1),然后将底板加热到300℃以除去石墨中所含的挥发性物质,制成后的光敏电阻性能就较稳定。用毛玻璃的优点是硒层易于粘附。


2.用石墨照图2尺寸作一围圈,围圈上下口都要磨得极为平滑,以便上下面合上玻璃板后,不致有大量空气漏入。采用石墨的原因是它能耐高温并便于加工。围圈底面的容积要小,借以减少蒸发时硒蒸气与漏入容器的空气接触。实践证明,这个方法虽难免有空气漏入,但还是可用的。
3.将底板盖复于围圈上,再把围圈叠置于另一平玻璃板上加热,使放在围圈内的硒蒸发。底板上叠有一装有冷却用水的容器,以保持底板表面温度在硒的凝固点下,促成硒蒸气在底板上淀积(图3)、我们不采用石墨作坩锅,是因为玻璃传热慢,使硒蒸发得比较均匀缓慢。

加热用硒可从废弃的硒整流片上拾取,只要火柴头那么大一些,就足够做几个光敏电阻之用。
关于加热温度,因系土办法,没有加以测量。根据实际试验,用酒精灯加热,加热用玻璃放在火陷上2/3处;硒即徐徐蒸发,约3—4分钟,底板上就附着一薄层均匀的硒层。蒸发时间长短与火焰大小都直接影晌到形成的硒层厚薄,这要根据试验掌握。温度太高时,硒即燃烧,剩下白色的渣滓,造成废品。
4.淬火是制造光敏电阻的主要工序,把已淀积有硒层的底板加热5—15分钟,加然温度的210°—215℃,使非导电性的无定形硒转变为灰色的结晶硒。加热方法是用一块较厚的铁板,在电炉上烧热后把要淬火的电阻放在铁板上加热。测试铁板温度的方法是先用小片硒放在铁片上反复试验,直到铁板温度刚好不足使硒熔化,才将要淬火的底板放上去。铁板的热容量要大,使加热时温度下降不致过快。
5.制成的光敏电阻经过测试,证明它有明显的光敏性能后,加封并引出接线即可应用(图4是加封后的剖面图)。底板与云母片的密封可采用各种有机绝缘涂料作粘合剂。我们试制成的光敏电阻,它的特性大致如图5,光照度的变化从0—250流克斯时,电阻限值变化4倍。


光敏电阻的应用
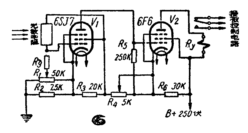
制成后的光敏电阻加一直流放大器,就成为光电控制器,图6就是这样的一种线路。

这种光电控制器可以用来在阳光减弱到某一程度时自动打开电灯,加装计数器后,也可以作为工厂产品的自动计数器。总之,一切光线的变化都可以由它变成电的变化,用来控制各种机械的动作。
图中的栅漏电阻R\(_{0}\)=\(\sqrt{R}\)mR\(_{n}\)时,灵敏度最高,Rm是有光照时光敏电阻的阻值,R\(_{n}\)是无光照时光敏电阻的阻值,可实际测得。(谢为林)