在大跃进中,为了适应新的工作需要,我们试制了一架较为特殊的复合扩音机。它的特点是能昼夜24小时工作,乙电压较低,使用中可靠性高,即使功率放大或电源供给部分损坏,仍能工作;其他部分万一损坏,也能由普通收音机另件加以补充,基本上可以代替开重要会议时用两架扩音机(一架备用)轮流替换的作用。我们装后已运用两月,音质清晰,工作正常。

机器结构 6SQ7作话筒放大,6SJ7唱片与话筒混合输入,6SN7分压式倒相,两组6V6分别作甲乙类功率放大,线路见图1。选用6SQ7作话筒放大,是考虑加装收音部分时,可以利用它的小屏检波。6SQ7的阴极旁路电容器C\(_{1}\)的容量较一般为小,这样使本级的阴极电阻随着频率的降低而产生较大的负回授作用,相对的提升高音,使用话筒时声音比较清晰,无沉闷感觉。两组6V6的输出及电源供给都是分开的,因此可以两组并用(输出30瓦)或单组轮换使用(输出15瓦)。轮换使用时就可以交替的连续使用。为了防止值机人员的疏忽,误将扬声器接在乙组上而开用甲组损坏机件起见,采用图2的联销装置,当不插喇叭或插错喇叭时,乙电不通。

装置要点 1.6SQ7、6SJ7管座要用弹簧片架起来,防止机件振动时产生金属声音(微音器效应)。
2.6SJ7栅回路要用隔离线,而且电位器分压电阻R\(_{6}\)、R7以及6SQ7的输入回路,如R\(_{1}\)、J1的接线都要分别加以隔离,以防产生振荡和交流声。

3.装置时要按级排列,图3图4可供参考。同一级的接地点要尽可能的接到一点上。电压放大部分要避免过多的引线,电力放大部分和电源整流等回路接线较多,可以把它们用绳扎成一束,就比较整齐美观了。

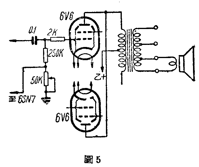
校验 机件装妥,检查接线无误后,接上扬声器并开启电源开关,测量各管乙电压是否正常,然后放唱片分两组分别试听,运用两小时后再检查一下有无不正常现象。下一步校正推挽电路的平衡,方法是:将R\(_{1}\)0换一只50千欧电位器,只开一组,并将这一组里的一只6V6屏极与输出变压器的接线烫掉,暂时与另一只6V6的屏极相连(图5),此时声音较原来的轻得多了,音质也不好,再旋动这只50千欧电位器至声音最小(理论上扬声器应该听不见声音),停机测量电位器的阻值,将它换下代以同样阻值的固定电阻,再将6V6屏极接线改回,这样推挽电路基本上平衡了。电力放大级各点正常电压如下(均指对地而言):屏315伏,帘栅300伏,阴极19伏。

使用1.两组合用:扬声器分两路接好,同时开启开关S\(_{1}\)、S2,两路合计输出30瓦。
2.单用一组:任意开启开关S\(_{1}\)或S2,开机前检查一下扬声器是否已接对,电压放大部分的电源插P是否插对,由本组电源部分供电。当这一组工作一定时间后,可以另换一组继续使用。(蓝文钊)