电视接收机除了直接放大式的以外,一般都是超外差式的。这种超外差式接收机都专有一套高频部分,俗称高频头。由于工作频率较高,这部分装置中的另件选择,位置排列,以及机械结构等,要求都比较严格,要适合超高频的特点。所以整个高频头的体积做得也比较小,而且都装在四周屏蔽的铁盒内(见图1甲)。目前我国使用最多的接收机如国产的“北京”牌,苏联的“红宝石”和“纪录”牌都属于超外差式。“红宝石”和“纪录”牌电视机是用苏联ПTП-1型高频头;而“北京”牌电视机的高频头是采用苏联ПTП-2型线路。这两种高频头的电路和内部装置基本上是差不多的,都用两只具有高跨导的高频双三极管6H3П,分别担任高频放大(Л1)、混频(1/2Л2)及本地振荡(1/2Л2)。由于高频头是接收机接收电视讯号的第一道大门,所以发生故障后,将使电视机失去接收能力,或者所收得讯号的灵敏度大大降低,图象不清,声音微小,或产生其他毛病。下面介绍一些检修方法和常见的故障。

在确定电视机的毛病发生在高频部分,而检查天线插头与高频头的输入端之间没有问题后,首先考虑Л1和Л2管是否良好,可用电子管测验器测试,或用同型新管更换试验,也可将Л1与Л2管相互交换位置试验。从实际工作中,有时发现Л1管在本身电路上不能工作,而改用于Л2。电路上却能正常地工作。同样Л2管也有类似情况。将Л1与Л2管交换位置后,如接收机工作正常,或收到讯号比较弱一些,则说明Л1或Л2其中有一管衰老。经过这样一试,如果不起作用,那么就是高频管失效,或电路中发生故障。如果高频管中有一只失效,还可采用以下方法测得。将天线一头串上一只小电容器,直接交连到Л1管的屏极上(图2Л1管的第4脚),在离电视台不远和Л2电路正常情况下,是能收到比较弱一些的图象和伴音讯号的。这样反复试验Л1和Л2,就能找出失效的管子。如果故障不在于Л1和Л2管,那么经以上方法试验后,也能明确故障发生在哪一部分,以缩小检查故障的范围。

要检查内部时,只需拆下侧面的一块面板(见图1甲),先用电压表测出Л1和Л2,管的各极电压(必要时或换元件时可将转换开关拆下),在正常工作时的各极电压可参照图2所示(图2是苏联ПTП—1型高频部分的线路所注的各极电压值,供参考。在不同型的机器上,它的各极电压可能稍有上下)。测量各极电压,也就容易找出故障所在的地方。一般工作在较高电压的旁路和交连电容器,如图2中的C\(_{1}\),C2,C\(_{3}\),C4等,是比较容易坏的。这些电容器的打穿或漏电,都会使有关电极上的电压变动较大,所以这种故障是比较易找的。如果测得电压有不正常的地方,而检查元件没有损坏,那么可能有不应相联的线头或元件有碰连的现象。
如果在接收频道的范围内轻轻地左右扭动转换开关,而屏幕上所收得的讯号随着变化很大,则可能是转换开关接触不良,或接触点不干净有污垢所引起,应调准接触点,并用酒精或汽油(最好是四氯化碳)清洗。
如各极电压都很正常,把天线接上后,屏幕上和喇叭里能出现噪声,或转动微调电容器时,只在很小变动范围上能收到讯号,则说明本地振荡产生的频率与需要的定值有较大的偏移。
苏联第二频道的载频和现在北京电视台第二频道的载频有所差别,北京电视台的图象载频是57.75兆周,声音是64.25兆周,苏联第二频道的标准是图象载频59.25兆周,声音65.75兆周,比北京台高,所以用苏联电视机接收北京电视台时,需要将本地振荡相应的降低,使电视讯号经过混频后仍能得到合适的中间频率。本地振荡的频率是根据载频加中频所得出的。如“红宝石”的图象中频是34.25兆周,所以它原来第二频道的本地振荡频率是59.25兆周+34.25兆周=93.5兆周。接收北京电视台时,本地振荡频率应该是57.75兆周+34.25兆周=92兆周。从以上可以看出随着载频降低1.5兆周,本地振荡也要相应的降低1.5兆周。要知道一个振荡电路所产生的频率值,最好是用比较准确的频率表测出,然后再调谐到所需要的振荡频率。如果手头没有频率表,要改变1.5兆周的偏移,还是可能做到的。将微调电容器旋至中间位置后,将L\(_{5}\)上的铜螺丝旋出1—2转(调动L5螺丝可从木箱外表的小洞里直接调,振荡和天线的线圈组见图1乙)。
从以上不难看出,虽经调整本地振荡频率,使接收质量有所提高,严格说来,L\(_{1}\),L2,L\(_{3}\),L4的谐振频率也是有问题的,但一般不考虑用调谐振荡的办法,也能迅速检查线圈是否良好。将转换开关旋至第一频道上,将振荡螺丝旋进1—2转。如果经这一试,接收机工作正常了,那么说明第二频道的线圈组有毛病。一般L\(_{1}\)、L2不容易坏,L\(_{3}\)和L4容易短路。另外若L\(_{5}\)振荡频率没有调对,调谐时不小心,也会将振荡组线圈弄坏。如果需要将该组线圈从新绕制,最好用高频振荡器校对。

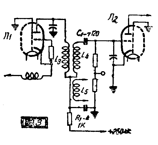
“纪录”牌高频部分,由于L\(_{3}\)和L4采用串联式线圈(见图3),所以C\(_{1—7}\)电容器上除了通过频率很高的讯号电压外,还负有不算太低的直流电压,有时容易打穿。C1-7打穿后,会使Л2管栅极上接上一个较高的正电压,使栅极产生很大的电流,结果会使栅极与阴极联在一起,这样也使R\(_{1}\)-4电阻电流增大烧坏。所以如发现“纪录”牌高频部分冒烟的话,大部分是C1-7电容器打穿。在未修复之前,切勿换上新管,或将Л1和Л2对换,以防继续损坏管子。在修换C\(_{1-7}\)时,最好换用耐压(工作电压)较高的一种。(朱光照)