本文介绍的是较高级的航空模型遥控设备,也适用于较高级的航海模型,它能够控制模型作六个动作,例如左转、右转、爬升、俯冲等等。机件设备并不复杂,读者如耐心制作,一定可以成功。
设备说明
整套设备分两大部分(见方框图1)。地面的发射设备和装在模型上的接收设备。

设备的工作原理和普通无线电广播的收发是差不多的,不过无线电广播收发的是语言音乐等复杂多变的音频调幅波,而这套设备仅能收发六个具有固定频率的音频调幅波。操纵器上装有六个按钮,按下任一个按钮,音频振荡器就产生一个特定的音频信号,它代表一项“指令”(一项操纵动作)。举例说:256周音频代表左转,350周代表右转,等等。
操纵器选出的音频信号,被送入高频振荡器进行调制并通过天线向外辐射。操纵器每次只能选出一个音频信号,因此,发射机在同一时间内只能发出一个单纯的音频调幅波,这和多路信号同时发送的多路遥控设备是不同的,不能相混。
接收机收到信号后,把音频信号检出并放大。和一般收音机不同的地方是:接在接收机输出端的负荷不是耳机或扬声器,而是一个特殊的另件——谐振继电器。
谐振继电器能够“鉴别”音频信号。它主要由六片具有固定机械自然谐振频率的簧片组成,只要接收机输出的音频信号的频率和其中某一簧片的自然谐振频率相同,这簧片就共振,属于这簧片的电路被接通了。
谐振继电器的六片簧片都接有一个继电器,每一个(或几个)继电器控制一部随动器。随动器执行发射机发来的“指令”,控制模型上的“被操纵件”,从而反映符合于人们意志的动作。例如按下操纵器上代表左转的按钮,预先被调整好的音频振荡器就产生一个256周的音频信号,而256周的音频是特定代表左转的。这个信号经过调制、辐射,由接收机收到后,再经过检波、放大、输入到谐振继电器,一个自然谐振频率为256周的簧片被引起共振,接在这个簧片上的继电器工作,它的接点接通了专司方向舵的电动机往左转的电路,舵面左偏。同理,另一个350周的音频,控制舵面右偏,等等。
发射设备
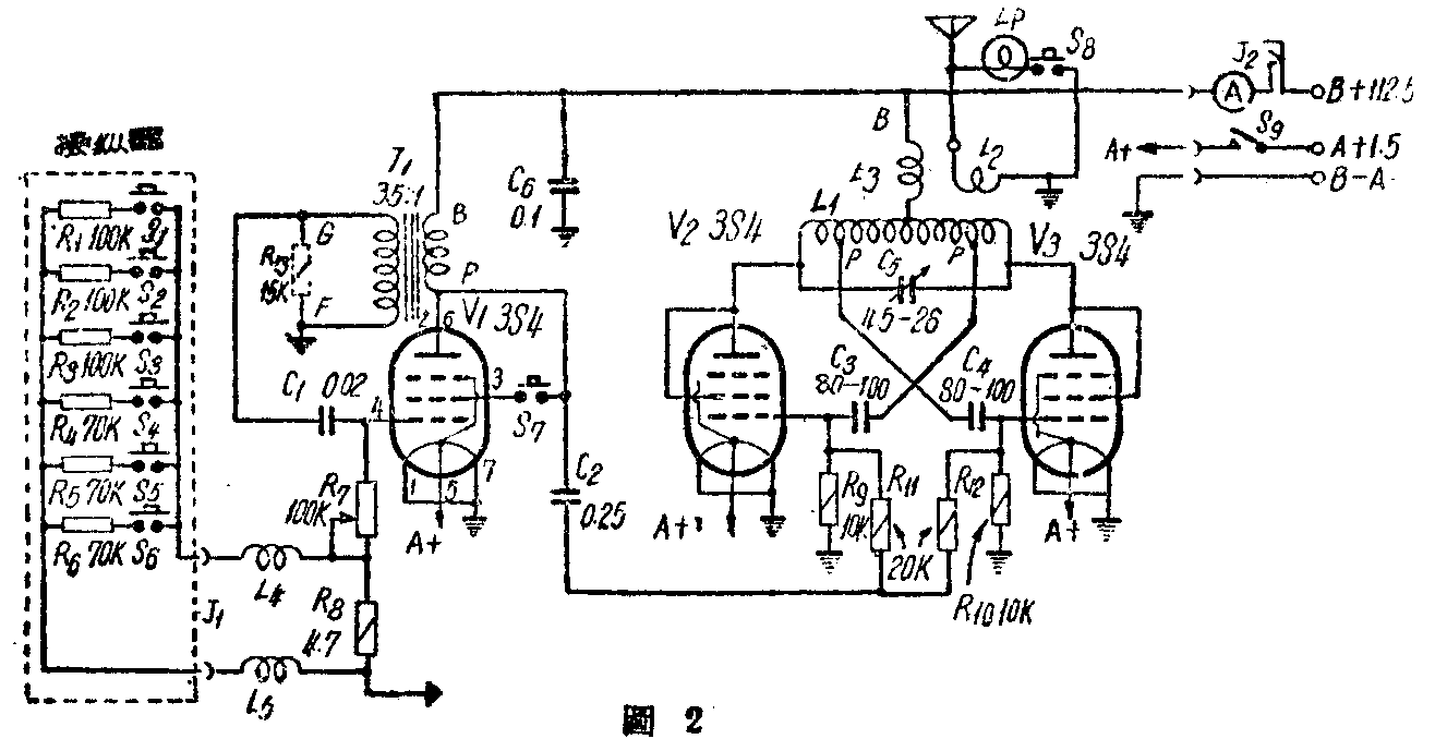
发射设备包括操纵器、音频振荡器、高频振荡器和天线等四个部分,线路见图2。音频振荡器由电子管V\(_{1}\)和低频变压器T1组成。振荡频率由T\(_{1}\)的电感、栅极电容C1和栅极电阻等的数值决定。选择不同的栅极电阻,将产生不同的振荡频率。栅极电阻由R\(_{7}\)、R3和操纵盒中的电阻R\(_{1}\)6组成。R\(_{1}\)—R6的阻值是预先调整好了的,当按下按钮开关S\(_{1}\)—S6中任一个按钮时,相应的某一电阻就并联到R\(_{3}\)上,从而产生一个特定的,能引起谐振继电器上某一个簧片共振的音频。

R\(_{3}\)的阻值很大,如果S1—S\(_{6}\)开路,V1将产生断续振荡,因此V\(_{1}\)的帘栅电路内最好串联一只与S1—S\(_{6}\)连动的开关S7,使S\(_{1}\)—S6开路时,S\(_{7}\)也开路,V1就停止工作了。
高频振荡器 这是由2个3S4组成的推挽振荡电路,工作频率选用27兆周。V\(_{1}\)产生的音频电压经C2和R\(_{11}\)、R12加到V\(_{2}\)、V3的栅极上进行调制,调制后的高频信号由振荡线圈L\(_{1}\)耦合到天线线圈L2,再由天线向外辐射。
操纵器这是一个装有六个电位器(R\(_{1}\)—R6)和六个按钮开关(S\(_{1}\)—S6)的小盒。图3是一个模型飞机的操纵盒,装有六个电位器,一根驾驶杆式的四档开关,把驾驶杆推前、拉后、左倾或右倾,分别接通S\(_{1}\)—S6里的四条电路,控制模型飞机俯冲、爬行、左转或右转等四个动作,驾驶杆两边的两个按钮开关,分别控制模型飞机的大风门和小风门。

天线为了携带方便,采用1/4波长鞭状天线(一根长约2.7公尺的铜管)。
发射设备另件说明与装置
L\(_{1}\)和L2是两个空心线圈。L\(_{1}\)的直径是25公厘,用中规1.6号(英规16号)漆包线绕8圈,中心抽头;L2也用同号线绕2圈,但直径较L\(_{1}\)略小,以便放入L1中而不与相碰。绕好后的线圈稍为拉长。L\(_{4}\)、L5是合绕在一个直径12公厘圆筒上的高频扼流圈,每个线圈各用中规0.315号(英规30号)漆包线绕60圈,两线圈间隔5公厘。L\(_{3}\)是2.5毫亨的高频扼流圈。C5是华北厂磁介半调整电容器,C\(_{3}\)、C4是两个容量相同的银云电容器。C\(_{1}\)容量的大小会影响音频频率的高低,如产生的音频不能和接收机谐振断电器簧片的自然谐振频率取得一致,可以增减容量,容量增大,频率降低。
图2中R\(_{1}\)—R6都是100千欧的电位器,也可用50千欧的和另一根50千欧的电阻串联使用,并且最好造用线性型的电位器而不用一般的对数型的,调整就比较精确。这些电位器一经调整,不必再动。R\(_{13}\)根据需要而定,可以不用。电流表的量程是0—50毫安,也可省略。
甲电用6—8节手电筒电池并联使用,比较俭省;乙电可用体积35×50×13公厘的22.5伏迭层电池4—5节串联使用,占地小,携带方便。
音频振荡器和高频振荡器装在一块4—5公厘厚的绝缘板(夹布胶木板、有机玻璃板等)上,尺寸见图4。L\(_{1}\)、L2就直接固定在底板的小孔里。

测试
1.用电流表测试:拔去V\(_{2}\)、V3,让V\(_{1}\)管单独工作,这时电流表读数约1毫安,按下任一按钮,电表读数增加到8—10毫安,表示V1工作正常。然后插入V\(_{1}\)、V3,电表读数约20毫安(暂不接天线),如电表改接到图2中B端并插入V\(_{1}\)单独测量V2、V\(_{3}\)屏流,按下按钮时,电表读数下降到大约18毫安,表示正常。接上天线,按下电钮后,全机乙电流约30毫安左右
2.用耳机测试:耳机一脚紧握手中,另一脚碰V\(_{1}\)屏极,能听到微弱的汽船声(如无S7的话),按下任一按钮,能听到一个“呜—”的音频信号,证明音频级良好,旋动R\(_{7}\),音调随着改变。
3.插入全部电子管,按下S\(_{8}\),指示灯Lp发光,表示高频级已有振荡。如V\(_{1}\)有断续振荡(有汽船声),指示灯光度稍有跳动;按下按钮,指示灯光变暗,说明已有调制作用。
4.如有必要,可再用一固定矿石和耳机串联后,靠近L\(_{1}\)、L2或机箱,会听到汽船声或“呜—”的长鸣。
5.如果有波长表的话,再旋动C\(_{5}\),调整发射频率到27兆周。
6.接入天线,并增减天线长度,使指示灯变暗,直到用手靠近天线或接触天线时会引起电表读数下降,这时天线效率最高,发射距离最远。
接收设备
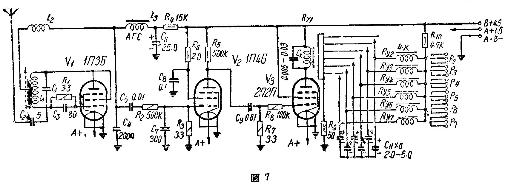
接收设备和一架普通的自灭式超再生式收音机无异,工作频率固定在27兆周。用1∏3Б检波,1∏4Б电压放大,2∏2∏功率放大。不同点是末级负荷是一只用来产生机械能的谐振继电器Ry\(_{1}\)(图7)。

超小型管1П3Б可用1П2Б、1П4Б或2П2П代替,1П4Б也可用1П2Б、1П3Б或1S5代替。电子管变更后,线路元件基本上可以不改。
谐振继电器Ryi有六片簧片,每一簧片的接点与一个中继继电器(Ry\(_{2}\)—Ry7)相连。当某一频率的簧片谐振时,这一电路内的继电器将由乙电取得电能,衔铁(P\(_{2}\)—P7)闭合,接通随动器电路,控制模型作各项动作。但簧片周期性地与接点接触,流过继电器(Ry\(_{2}\)—Ry7)的将是断续的脉动电流,由于继电器衔铁(P\(_{2}\)—P7)的惯性,衔铁仍然不动作(不闭合)。因此在簧片与接点两端串联一只C\(_{11}\)和R9、使接点开路时,C11通过R10和继电器充电,接点闭合时,C\(_{11}\)又通过R9放电。这样流过继电器的将是较为平滑的直流电流,衔铁被吸住了。(待续)(陶考德)

