现代所用的拾音器(电唱头)型式虽多,但大致可归并成电磁式和压电式两大类。电磁式主要有可变磁阻式和动圈式几种,压电式有晶体式和陶瓷式两种。
电磁式拾音器
可变磁阻式拾音器 这类拾音器的简单工作原理可用图1说明:在口字形永久磁铁上绕有一个线圈,磁铁所构成的磁路中留有一段空气隙,唱针即装在空气隙里可绕轴摆动的软铁中。像在电路里经常会遇到的阻抗一样,在磁路内也具有磁阻,不同的物质在磁路中呈现出不同的磁阻,例如空气隙的磁阻很大,而软铁的磁阻却很小。在图1中,当软铁处在静止位置时,磁路里的磁阻最小,因而割切线圈的磁力线最多,而当软铁移出空气隙时,割切线圈的磁力线将最少。放送唱片时,唱针在唱片音槽中的摆动使软铁不断的在空气隙中移进移出,从而改变了磁路里的磁阻,使割切线圈的磁力线的数量不断变化,线圈里就出现感应电压。这种拾音器的失真很小,本身的谐振频率可提高到可闻频率以外,因而频率响应曲线相当平直,但输出电压较低。图2是这类拾音器的结构。


动圈式拾音器 它的工作原理是将一个轻小的线圈放在由永久磁铁产生的磁场中而成(图3)。工作时唱针使线圈在磁场中摆动而割切磁力线,于是线圈两端就得到感应电压。可以看出,这类拾音器的线圈是一个运动元件,因此要求线圈非常轻小。由于磁场空隙很小,线圈圈数不能绕得很多,因此它的输出电压比可变磁阻式的还要小得多。但是由于磁路内的磁阻不变,线圈在均匀磁场内运动,可获得良好的质量。为了提高必要的信号——杂音比,这类拾音器在使用时,一般都加装升压变压器,然后才接入放大器。目前国产的动圈式拾音器质量不错,频率响应达20—12000周。图4是动圈式拾音器的实体图。


如上所述,电磁式拾音器的工作是基于电磁感应原理,是使线圈通过交变的磁力线或使线圈割切磁力线而得到感应电压。感应电压的大小和磁力线的交变速度或割切速度成正比,而唱片的录音特性曲线(刻刀速度——频率曲线)在低频段是随着频率的降低而下降的,因此电磁式拾音器在低音部分由于输出较小而引起频率失真。为了克服这个缺点,在唱片放大器中应该装置补偿网络,使低音部分得到适当的提升。
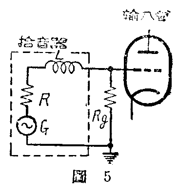
拾音器本身具有一定的阻抗,按照不同的种类自几分之一欧到几十万欧。可变磁阻式的阻抗约在1500至5000欧之间,而大多数的动圈式拾音器在几十欧以下。电磁式拾音器所包含的线圈决定了阻抗是电感性的,它的等效电路如图5,其中L和R是线圈的电感和电阻,G是输出电压的等效发电机。当拾音器接入放大器时,放大器输入级的栅极电阻Rg即构成拾音器的负荷电阻。如果拾音器的阻抗是纯电阻的话,Rg可以是任何数值,例如动圈式拾音器的电感非常小,通常可略去不计,它的阻抗可以看作是纯电阻,所以它的负荷电阻大小关系不大。当拾音器的阻抗包含电抗部分时,例如可变磁阻式,那就需要适当地选择负荷电阻,这是因为它的感抗将和放大器输入电容和接线电容一起在高频段发生谐振,引入一个可增的谐振峰。适当地选择栅极电阻Rg的数值,能够遏止这个高峰而得到平坦的频率响应,一般可在3—5万欧的范围内选用。

我国目前正式生产和大量供应的电磁式拾音器是所谓动铁式的(图6),其结构是属于旧型的可变磁阻式,阻抗在2000欧以上,频率响应较差,一般从70—5000周。

压电式拾音器
晶体拾音器 最常遇到的压电式拾音器是晶体式的。晶体拾音器一般由酒石酸钾钠薄片构成(图7)。这种晶体薄片具有显著的压电效应,即当薄片的两面加上电压时,它就产生机械振动;加以机械力使其扭曲或伸缩时将在两晶面之间产生电压,压电拾音器即利用后者的特性。

酒石酸钾钠晶体在较高温度即将导致永久性损坏,例如温度上升到130℃左右,就将溶化成液体而完全失效。而且它还必须严密地封闭起来以防受潮。
我国过去生产的晶体拾音器频率响应一般约70—7000周,但最近生产的某些产品的质量,已有最著提高,频率响应可达10000周,图8是国产晶体拾音器的构造,图9是国产新型的78转和慢转密纹唱片两用的晶体拾音器。


陶瓷拾音器 这是一种广泛使用的新型拾音器。它的构造和晶体式一样,但改用钛酸钡做成的陶瓷来代替晶体。把这种陶瓷放入很强的静电场中使其中的分子极化以后,就可以得到和酒石酸钾钠晶体一样的压电特性。足以使酒石酸钾钠损坏的温度和潮气,对陶瓷拾音器说,都不再成为问题,因此,它是一种理想的压电式拾音器。
压电式拾音器输出电压的大小与机械振动的位移成正比,而与振动的速度无关,因此放音时补偿录音特性曲线低频段的问题基本上不再存在。这类拾音器的输出电压很高,和电磁式拾音器相比,可以省掉一级放大器。另外它的价格较高质量的电磁拾音器便宜很多,也不易受外界杂散电场的干扰。现代高质量的压电式拾音器已将其本身的谐振频率移至可闻频率以外或遏止其谐振峰使它并不显著,频率响应可达30—15000周±3分贝,和高质量的电磁拾音器相差不远。
压电式拾音器的等效电路如图10,其中C为压电薄片构成的电容,G为输出电压的等效发电机。它的阻抗很高,一般为几十万欧,并且是电容性的,电容约500—2000微微法。和电磁式拾音器一样,栅极电阻Rg构成了它的负荷电阻。从图中可以看出,Rg必须很大,否则低频段C的容抗很大,会降掉很多电压,低频段大为衰减。一般Rg可选用0.3—0.5兆欧。

音臂
音臂的设计和拾音器的特性有关,因为音臂会和拾音器一起产生机械谐振,在工作频段内引入高峰。通常这种谐振的频率低于100周,而在高质量的设计中应该低于20周。选用时最好采用同一厂家出品的拾音器和音臂,因为工厂的设计部分理应使它们得到良好的配合。唱机上音臂的一端固定地支持在轴上,另一端(拾音器)随着唱片放置音臂向内槽移动的轨路是一段圆弧,从拾音器到音臂旋轴的中点试连一直线,除了有一点可以和唱针跟唱片音槽接触点的切线并行以外,在其它点上都构成了一个角度,这样就发生了所谓“循迹失真”。把音臂的前端做成弯曲形状,使其长度超越于转盘轴心(图11)。这种结构可起补偿作用,减小循迹失真。(钟益棠)
