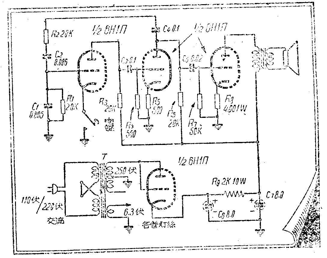
随着我国国防体育在全国各地飞跃开展,学习收发报的无线电爱好者越来越多,练习抄收和发报必须要有音频振荡器才行。去年暑假参加报务集训时,教员给我们设计了一个音频振荡器,这个线路图不用音频变压器,构造简单,易装。可节省一个音频变压器。本机用两个6HIП电子管,效果很好可供100人练习抄报和发报之用。(夏昌华)

不用音频变压器的音频振荡器
随着我国国防体育在全国各地飞跃开展,学习收发报的无线电爱好者越来越多,练习抄收和发报必须要有音频振荡器才行。去年暑假参加报务集训时,教员给我们设计了一个音频振荡器,这个线路图不用音频变压器,构造简单,易装。可节省一个音频变压器。本机用两个6HIП电子管,效果很好可供100人练习抄报和发报之用。(夏昌华)
