这里介绍一只只用两节手电筒干电池的无乙电单管机。
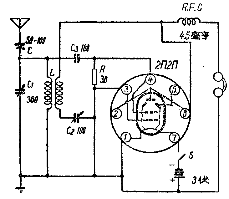
这只无乙电的单管机线路如附图,电子管是一只国产2П2П直流式电力放大管。将它的第一栅接灯丝正极,作空间电荷栅,第二栅作栅极检波的信号栅。根据电子管特性,四极集射管或三栅五极管的第二栅(帘栅极)必须要接相当正电压,这里将第二栅当作信号栅用了。第二栅便没有正电压,因此将栅漏电阻R的下面一端接在灯丝正电压一面。这样第二栅又带正性,使它能吸收屏栅间的残余空间电子,提高第二栅控制屏流的效能,对电子管的放大系教增益有利。

本机的线圈L是利用现成的五灯机天地线圈。因为本机没有乙电,再生圈必须比有乙电的增多,可将原来的初级圈当作本机再生圈。因原来的天地圈作了别的用处,天线可经过一只半调整电容器C,直接接在次级线圈上。C的容量自50—100微微法之间。C容量大,再生力要减弱,C容量小,再生力强。根据这个原理,如收音时嫌再生力太强或不足,也可以变化C的容量,使再生力恰到好处。这架单管机另件都可采用小型的,如调节波长的活动电容器用固质绝缘的,线圈用蜂房式,甲电也可以用三号电池。因此机箱可以设计得很小巧。调试方法如一般再生单管机一样。
栅漏电阻R对再生力也有关系。R阻值高,再生力强,阻值低再生力弱。可用3M—5M电阻分别试验。其次,串在天线回路里的半调整电容器C,如果内部短路,再生力便会完全消失,校验时应引起注意。(张光炎)