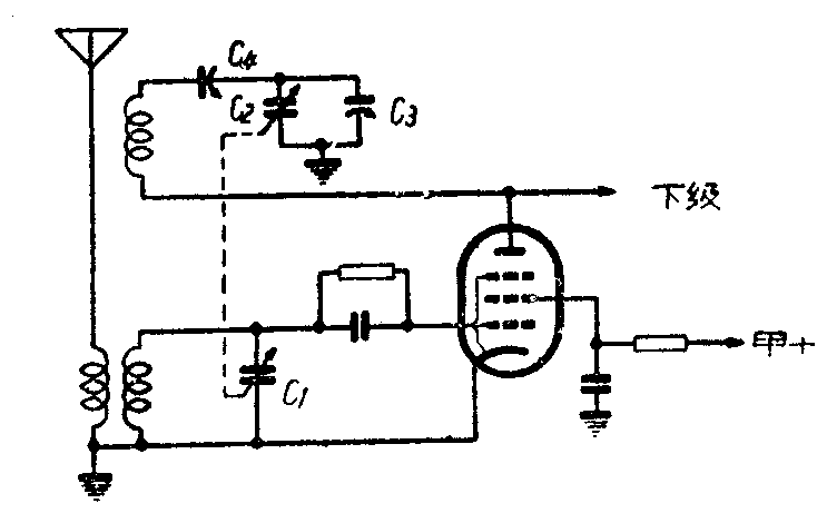
本刊58年第8期发表了“固定再生式二灯收音机”资料,我们试制时,不同电容量的双连可变电容器无法购到,再说这再生电容器又是特殊的云母可变电容器,一般无线电爱好者更无法办到。
我们用普通双连可变电容器,只要在再生线圈回路中加一只600号垫整电容器就能达到固定式再生目的。下面就是做法:L\(_{1}\)L2L\(_{3}\)是普通再生三回路线圈(我们用的是“力士”806线圈)。其中L3圈数减少到15—30圈左右。爱好者们可根据自己再生强弱来定L\(_{3}\)圈数。图中:C1C\(_{2}\)是360微微法双连可变电容器,C3是补偿电容器,C\(_{4}\)是600号垫整电容器。调整时先把双连电容器旋到频率比较低的一个电台,调节C4,使收音机灵敏度达到最高点,以后使双连电容器旋到频率较高的一个电台。如果灵敏度不足,可调节补偿电容器来弥补。这样由频率较低调到较高,由频率较高向频率较低调节,反复调几次,就可使整个波段得到足够的灵敏度。(温州市教育局电机厂无线电小组 燎)
