最近,自己装好了一部交流、电池两用4灯超外差式旅行机,它的外形见标题旁插图。装成后灵敏度很高,选择性也佳,不用天地线就可听到本地(安庆)电台的播音,加一根半公尺长的拖线后,收听本地电台时,音量很大,还可以收到安徽台(合肥)和中央台的广播。用台灯的金属皮代替天线,在白天收听安徽、江苏、江西、湖北及中央等台,在大约20平方公尺的室内可以听得很清晰。
线路特点
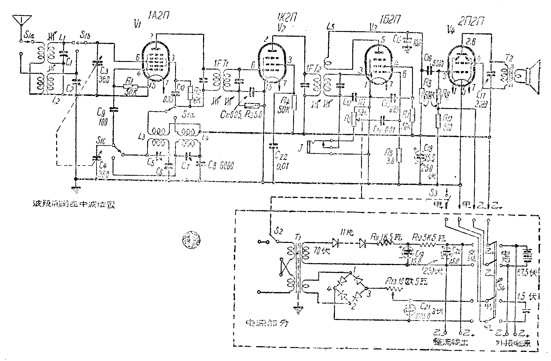
收音部分 这部分的线路见图1上部,机内另件见图2—4。它的性能和特点如下:




一、收听范围:中波段550—1650千周。短波段6—18兆周。线圈和中频变压器都是采用铁粉心的。
二、1A2П的屏流是经过振荡线圈供给的,这样可获得一点再生力,提高了灵敏度。
三、1Б2П的屏极回路里串联了一只线圈L\(_{5}\),这个线圈固定在第二中频变压器的次级圈上,以获得再生力提高灵敏度。
四、第二检波部分因为有了再生作用,如果仍从这里引出自动音量控制电压,若再生力过强,即会产生较高的自动音量控制电压,反而降低增益。因此,自动音里控制电压不从这里引出,而是在中放管1K2П的栅回路中串联一5兆欧电阻R\(_{3}\)来自动控制增益。当输入强信号电压时,1K2П栅流经过R3产生电压降,使栅极带负,降低增益;输入弱信号电压时,就不会产生栅偏压,电子管的增益最大,使收音机灵敏度提高。
五、机上装有拾音器插口J,可以放唱片,也可以作为低放接续器供爱好者作其它试验之用。
总的说来,收音部分着重在提高灵敏度,作为一架旅行机来说,效果是相当满意的了。
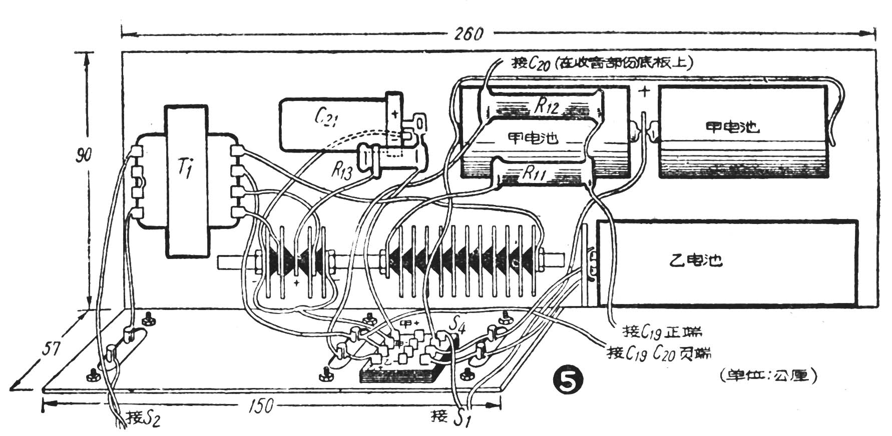
电源部分这部分线路见图1下部,底板内另件排例见图5。它的性能和特点如下:

一、用干电池时,乙电用一块67.5伏小型电池,甲电用两节电筒电池并联。用交流市电时,用硒整游器整流。用硒整流器可以免去用电子管整流时的灯丝消耗。
二、和一般两用机的整流线路不同的地方是:本机的灯丝回路是并联的;高压和灯丝电源分别由两个整流器供给,这样可以避免在电源电压变动较大的地点使用时,由于电压的突然上升,促使电子管衰老。
三、我所用的硒整流器最大电流为70毫安,每片最大反峰电压18伏,每片输出电压实际约6伏——6.5伏,所以用11片叠成一串作半波整流,经滤波电阻降压后能得到67.5伏供给高压。硒整流器自变压器上接入的电压为70伏,这样就可以得到8毫安的整流电流,已足够本机使用。灯丝部分采用桥式整流以取得全波,用4片硒片桥接起来有150毫安以下的电流输出。但因满载使用,每片硒片约降压2.6—4伏,故变压器的低压圈绕5.5伏。灯丝整流部分的滤波电容器C\(_{21}\)容量越大越好,我用的是一只3伏1000微法的,如不易买到,最少也要用200微法以上的。
四、交直流电源交换开关上各接有一对插孔(见图1),右边是备使用外接乙电源用的,因为用40节小电池串接起来使用比用小型乙电池经济。左边是利用本机整流后的直流输出作代乙电,以供其它机件试验之用,之时最好将开关推向“电池”位置。使收音机停止工作,以免整流器负担过重。
装置与校验
一、此机的收音部分和电源部分(包括甲、乙电池和整流器)都装在一个木质机壳内,收音部分在上,电源部分在下。由收音部分引出四根电源线和电源部分连接,借四刀双掷开关控制。
两只天线线圈装在一个绝缘片上,并固定在双连的上部,波段变换由四刀双掷开关S\(_{l}\)控制。
二、底板较小(图6),各另件的焊接要紧凑,但要注意必要的隔离。由于底板下还要空出一部分地方容纳乙电池的一部分,所以C\(_{14}\)、C18、C\(_{19}\)、C20、R\(_{6}\)、R9、R\(_{1}\)0和拾音器插口J等都装在底板上面(图7),这一来C11、R\(_{6}\)的接线就长了些,为了防止啸叫,把C14和R\(_{6}\)包在一块白铁皮内焊牢在扬声器与底板上面的空隙处。木箱的尺寸是:长下260公厘(上240公厘),高160公厘×宽下90公厘(上80公厘)。


三、L\(_{5}\)是用一只废三回路线圈的再生圈,拆去纸管,用蜡粘牢在第二中频变压器次级圈上(隔一层牛皮纸)而成,如自制可先在中频线圈上垫一层牛皮纸,就在这个线圈管上用0.3公厘漆包线乱绕20—30圈,用蜡封固即成。在收音机装好后校验时,最好先将L5短路,校好后再烫开调节再生。如发现增益降低,可将L\(_{5}\)两接头对调,如再生力过强可拆去数圈,到中频再生振荡停止即可。经这样调整后,使用时可不必调节再生。再生调好后,将这只中频再校一下即可。
四、本机的电源变压器T\(_{1}\)是利用一只旧低频变压器改制而成,铁心断面积为2.25平方公分,初次级分绕,虽然比单圈变压器体积稍大,但底板不带电,没有危险。各线圈所用线径及圈数见图8,初次级间用0.12公厘(4O号)漆包线密绕一层,一端开路一端引出通地,作为静电隔离层。

五、硒整流器买来时都是接成半波式的,必须加以改装。即将整流器一端的螺丝旋下,拆剩11片留作半波整流,垫几片绝缘片,再用四片按桥式叠起来,旋上螺丝固定好,这样就把原来的一串硒整流器分成了两组(图9)。桥式部分电流较大,为了保护硒片,可再用四片连成桥式,与原来的并联使用。

改装硒整流器必须严格注意清洁,不要用手触动硒片表面,装卸时可用手持硒片边缘,否则将失效或降低耐压。
整流器装好后,须先经调整再行使用。方法是调节R\(_{12}\)或更换不同阻值的电阻使得到60—67.5伏电压;调节R13使得到1.2伏到1.4伏电压即可。
六、本机的校验除本节第三、五两段提到的以外与一般超外差式机相同。(马宗超)