经络测定仪是中医常用的电子学仪器,用它可以进行诊断和电针治疗等等。这种测定仪原为日本人中谷义雄博士根据中医经络理论创造的,国内使用的颇多。本文介绍一下我们用国产电子管制造的有发音装制的经络测定仪的线路和制造方法。我们把制成的仪器和日本制的进行对比,效能相同。
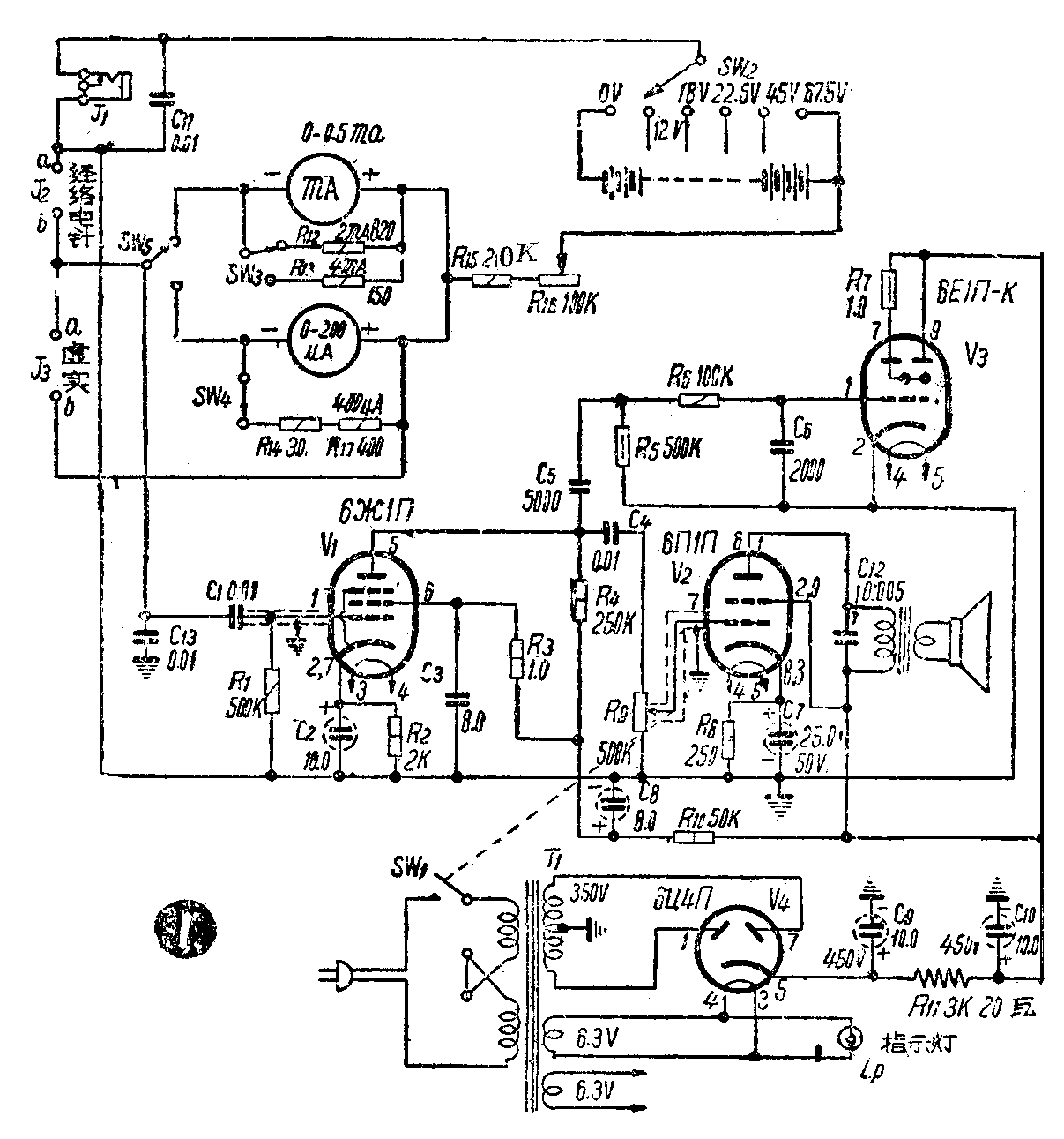
机件线路
经络测定仪分两部分,一为直流部分,一为发音部分(即一放大器)。直流部分的插口J\(_{2}\)经耳机插口J1内的接点、电池R\(_{16}\)、R15、电流表、SW\(_{5}\)成回路(见图1),J3经SW\(_{5}\)、电表成回路,用发音部分时,插口J2又经C\(_{1}\)、R1成回路,和放大器电子管V\(_{1}\)耦合,喇叭发音。电子管V1是电压放大管,V\(_{2}\)是强放管,V3是电眼指示管,V\(_{4}\)是全波整流管。SW2可用单刀九掷开关(分线器),电池可用67.5伏的小型乙电或积层电池,把电池包装去掉,在相应电压处抽头接出。图中量程为0—0.5毫安和0—200微安的直流电流表,也可用0—1毫安或0—l00微安的代替,依使用要求配接适当的分流电阻R\(_{12}\)、R13、R\(_{14}\)……等,来扩大量程到2毫安,4毫安,400微安等等。但分流电阻阻值须依电表内阻计算确定。

图中所用的电池也可用交流电代替,只要加装一只降压变压器,用硒整流片整流并加滤波装置即可。
机件另附导子3只,一只用铜皮制,另一只用锌皮制,都是筒形以便手握(图2甲),另一只为长试验导子(图2乙),它的顶端装一小胶木头,中嵌侵有食盐水的棉花,使棉花与铜棒接触。

使用方法
1.测虚实:不用开放大器,把SW\(_{5}\)搬向微安表,两手各握一圆筒形导子并插入虚实插口J3,男人一般以40微安为标准,女人以20微安为标准,大于此数为实,小于此数为虚。这里所指的虚实是依中医理论指人体的邪正盛衰而言的,它和人的体质强弱有关。
2.测经络:进行诊断时,不用发音装置,只用直流部分。把铜导子及长试验导子插入经络插口J\(_{2}\),使两导子直接接触,调节电流调整器R16使指针满刻度偏转(即最大),然后由患者一手握铜导子,大夫用长试验导子在患者身上测十二经之原穴,具体名称为手太阴肺经之太渊穴,手阳明大肠经之合谷穴,手少阴心经之神门穴,手太阳小肠经之腕骨穴,手厥阴心包经之大陵穴,手少阳三焦经阳池穴,足阳明胃经冲阳穴,足厥阴肝经太冲穴,足少阳胆经丘墟穴,足太阴脾经太白穴,足少阴肾经太溪穴,足太阳膀胱经京骨穴。如电表量程不够,可增加量程,依测定结果即可确诊了。
其次为测经穴,或找人体上的阿氏穴等,需用发音装置。此时将电源开关SW\(_{1}\)闭合,指示灯亮,测定方法如上,当到某一穴位时,电表有读数,喇叭发出响亮的声音,如导子在原位不动,声音如水沸样“唿噜……”不断,电眼上的辉光随着闪动。若嫌声音过响,用耳机插入J1听时,听到穴位上有沙沙声。
3.电针治疗:此时不用发音部分,耳机拔下,用一龙头夹及一筒形导子插入经络插口J\(_{2}\),即可进行电针治疗。
*关于使用方法的详细说明,可参阅张协和、谭书田:“经络测定仪的诊病原理及其使用方法”,中医杂志1958年9期579页,萧友山:“经络测定仪的临床应用”中医杂志1958年9期593页。(谈正卿)

