实验目的:在简单的无线电接收机里常常采用所谓正回授式线路(或称再生式),这一次的实验打算帮助初学者通过实验了解回授作用(再生作用)的概念、它的利用和控制方法。
实验前的讲话:我们做过了电子管检波的实验,例如屏极检波和栅极检波。虽然我们知道这些电子管检波线路,除开把输入的信号进行检波外并且还把它放大了,但究竟因为实际上在调谐回路里即令调到谐振点,仍有能量的损失存在,这就使输出信号的强度大大地打了折扣,若能设法补偿这种损夫,输出就不会太低了。另外,我们知道检波后输出的电流里还有无用的残留的高频成分,把这种残余的无用的高频能量用适当的方法回过头来再加在接收机的调谐回路里去,就可补偿调谐回路中的高频能量损失,这种作用无线电技术上叫做“回授(或再生)作用”,因为它起的作用是加强原有的信号,可以叫做“正回授”。
产生正回授(再生)作用的简单实验
实验用材料 (1)1A2П电子管一只(1T4,1R5也可用),小七脚管座一个,360微微法单速可变电容器一个,100微微法左右的再生电容器一个,250微微法纸质固定电容器一只,1兆欧炭质固定电阻一只,接线柱8只,小单刀单掷开关一个,22.5伏乙电池一个(用四号1.5伏小电池15个串接而成),1.5伏甲电池一个,25公厘直径65公厘长纸质线圈管一个(可自己用纸板做,也可买现成售品),0.2公厘径(约英规36号)漆包线约16公尺,金属底板一个照附图开好孔眼。
实验方法 将1A2П电子管2、3、6脚联在一起,当一个三极管用,其他一部分零件如图1(a)实线接线所示接好,零件排列如图2,图中所绘零件,有许多零件是为作下几个实验用的,此时可暂不管。这就是一个有回授作用的检波线路。


线圈可自己绕制,也可用售品的三回路线圈(如130—1及336号线圈都是)。线圈管上先固定好接线脚5只(如图3a)。
先在线圈管上从一端开始用36号线绕约35圈为L\(_{1}\),约隔2公厘绕120圈为L2。天线引入线焊在1脚上,地线接在2、4脚上。再做一段直径约26公厘(比原线圈外径略大一点)的短线圈管(约长15公厘),也用36号线绕35圈为L\(_{3}\)。绕好后如图3a所示套在L1、L\(_{2}\)外面。
线圈绕好,零件接好后,接上甲、乙电池和天地线,先用一段接线将P.X两点短路,慢慢旋动C\(_{1}\),就可听到附近电台播音的声音,这时的线路就是上期实验中讲的“栅极检波”线路,这种线路的效率是不高的。若将这一段短路的接线拿掉,使L3接入1A2П的屏路,这时再慢慢转功C\(_{1}\)接收电台播音,可以听见鸟一样的叫声并且播音声音比没有接入L3时大得多,这说明用L\(_{3}\)后得到了再生作用。
若把L\(_{3}\)上下移动可找到一点声音最响,而叫声也完全消失,说明改变再生线圈L3与调谐线圈L\(_{2}\)的交连程度可调节再生作用。
上述移动再生圈方法,虽较简单但不易得到均匀的再生调节作用,用下述方法调节比较容易。将L\(_{3}\)的5脚与X点间的联线剪断,然后将P点接X点(即1A2П的2脚与听筒的一个脚),并将再生电容器C3的定片(它的动片已接在金属底板上)联到5脚上。转动C\(_{3}\)时叫声可逐渐停止,原来声音增高,可得到最响的一点。在X、Y两点间剪掉原联线,插接进一个2.5毫亨的高频扼制圈声音更可增高。
以上实验中再生圈是接在屏回路里的,再生圈也可改用另外一种接法。把原来的再生圈5、6两脚焊头分别烫掉,把5脚改接在甲+上(如图1(b)),甲+ 和乙-之间的连线拆断,然后把6脚接到乙-上,再生电容器的定片改接到P鱼(或1A2П的2脚上),这样仍能够得到足够的再生,再生的调节仍用C\(_{3}\)。
注意:1.底板接线接好后,先用听筒碰碰电子管座1、7脚若声音非常震耳,表示线路接错碰了乙电,这样会烧坏电子管。2.绕接线圈时,三个线圈方向不能弄错,L\(_{3}\)的两头错接后会起相反的作用。3.调整再生作用时若太强,则发生振荡,若接上天线,再生收音机即将发射电波干扰周围的收音机。4.再生线圈圈数不能太多,否则再生作用就太强,变化猛烈不平稳,不易调节,效果反而不好。如果调节时听到一声信号立即降低,就说明是再生变化太猛,再生作用的变化应以在调节再生电容器时在听筒内听到缓缓变化的叫声为好。5.底板各接地点应接好,如再生电容器的动片,主调谐电容器的动片、乙-、甲+、线圈的2、4脚等。

思考:从以上实验,我们知道,一般的简单检波线路,虽然杷调谐电路调谐在某一接收的频率上,但因调谐电路本身的损失,效率是不高的。在屏电路中加入一个再生圈后,接收的信号声音立即加强,说明检波后的屏流经过再生圈时,因和调谐电路的线圈的方向一致,由于电磁感应作用,屏流中的高频成分在调谐回路中会产生一个附加的电压,这个附加的电压和原来的谐振电路信号电压恰恰合拍(用术语说是相位相同),这样就使原来的信号就加强,这份加强的力量就恰是由再生圈回授过来的检波后的屏流中的残余能量。所以说它是“残余”,主要是因为它在听筒里并不起直接的发声作用。回授屏流中的残余高频成分,既然靠一个起电磁感应作用的再生圈,那么这个线圈的方向(应该说是电流通过这个线圈的方向)就不是无所谓的了。根据电工原理,一个线圈上电流流过的方向,决定它里面产生磁力线的方向。实际运用中要改变电流的方向,只要把线圈的原来两个接头对调就行了。电流流过的方向改变,那么它的磁力线也就反向了,从而它在相邻的线圈中因电磁感应而产生的电压也就改变方向。我们现在需要的加强信号的作用,因而线圈的方向也就要选择得一致,若是反了,起的作用也正好是减弱的反作用。这就是线圈再生线不能接反的原因。
此外,线圈相互靠近的程度,决定电磁感应的作用,因而也就能调节回授给调谐电路的能量多少,这是移动再生圈能调节再生作用的原因。控制回授能量的多少,也可以用增减通过再生圈的高频电流成分的多少来达到。在我们的实验中,是用一个再生电容器与再生圈串联,这个作用有点像调节水量的闸门,电容量变大时,高频电流通过多,反之则小,这也就决定了回授给调谐回路高频电能的多少。
在再生线路的实验中,在屏回路中加了一个高频扼制圈就使信号声音加强了,这是什么缘故呢?这是因为检波后的屏流中的高频成份除开由再生圈、再生电容器组成的通道外,还有一条通道那就是屏路中的听筒。因为听筒圈数很多,圈与圈间都是一个个的“小电容器”,这许多“小电容器”合起来也就是高频电流的好通道,那么本来打算回授给调谐回路的高频能量也就在这里分了肥,若在这条路上,加一个高频扼制圈,就阻止了高频能量从这里漏过,当然回授作用也就加强多了。
上项实验的最后一段中所说的再生圈接法,是将屏流中的高频成分经过再生电容器进入再生线圈,然后再回到灯丝,线圈这样接法,它的4脚和6脚事实是在一点上,因此可以把L\(_{2}\)和L3并成一个,变成有一个抽头的线圈(如图1(c)),控制高频电流的“闸门”仍是C\(_{3}\),使用很便利,一般称为三点式。

几种再生控制方法的实验
实验材料:除以上实验所用材料外,再预备10千欧的电位器一个,20千欧电阻一个,250微微法电容器一个,0.05微法电容器一个。
实验方法:除以上所说各种调节、控制再生的方法外,这里我们来试验几种别的控制方法。例如拿一个50千欧的电位器并联在再生圈的两头(如图1a),而把它的动臂接到X点,这样调节通过L\(_{3}\)的高频电流也可达到控制再生的作用。另外如在乙的+、-两端并接一个100千欧电位器,把听筒到乙+的联线改接到电位器的动臂,变动电子管的屏压,以增加或减少电子管的放大效率,结果也就是调节了回授的电能了。根据这个道理,若在灯丝回路上串联一个约400—500欧的电位器也可变动电子管的放大效能以调节回授电能。

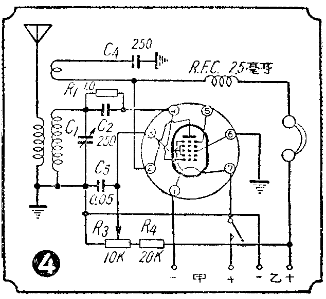
除以上方法外,还有一种再生控制的方法。线路的接法如图4。这里的区别是与再生圈串接的再生电容器改用一个固定电容器。而把1A2П的帘栅极回路上加一个控制电压的电位器R\(_{3}\)。零件接好后,先调节C1找到一个信号,然后调节R\(_{3}\),可以得适当的再生作用和信号最强的一点。
思考:在上述的实验中,再生圈回授的电能多少是固定的,唯一起调节作用的是帘栅。我们知道帘栅极在电子管内是起的增强电子管放大能力的作用,而这个放大的调节作用却决定于它的正电位的高低,正电位增高吸取电子数加多,反之减少,使屏路中的电流或多或少,当然在再生线路中也就影响了回授给调谐回路里能量的多少了。在上面的实验里,电位器串接在帘栅回路中,可使帘栅压任意高低。在实用上,这种调节作用常较其他方式好,即能得到均匀缓和的再生变化。
再生作用的使用的实验
实验用材料:实验用的材料仍用以上实验中的各种材料,再加上一个大的刻度盘(按百度分划的或按频率分划的都可以)和一个小的百度分划刻度盘。
实验方法:在上一个实验中装好的回授接收设备中,将主调谐电容器上加一个大形刻度盘(装法如图2)。在再生调节电容器上装一个百度分划的小刻度盘。

在前面所讲的几种实验,例如用电容器控制再生的线路中,我们首先把再生电容器向里旋得多一点(加大一点电容量),然后缓缓旋动主调谐电容器,到刻度盘上我们要接收的某一个频率附近(譬如说武汉市人民广播电台的频率1110千周),一定会开始听到鸟叫声,然后继续细致地转动电容器,到刻度盘上某一点这种叫声会完全消失(见图6)。电容器再转过去,又会出现第二次叫声。这个完全无叫声的一点称为“零拍点”,也就是某一个电台播音频率的正确的一点。不过这一点很不容易调好,即令调准了声音质量也不会好。这时我们可以调节再生电容器。我们常常是先把电容器向里旋,这样会使再生力最强,再生力强在接收线路里就要起振荡,在听筒里就会出现连续的叫声。这时若把电容器慢慢旋出,到某一点这种叫声会停止(反过来说就是把电容器由最小点慢慢旋进,也可能接到刚刚开始听见叫声)。这个叫声刚刚停止或发生的一点称为“振荡点”。事实上振荡点很不好调,调到了声音质量也不好。我们常常是调到振荡点旁边一点(即向无振荡方向稍偏过一点),这一点收听广播声音最好。

思考:再生作用主要是补偿调谐回谐里的高频电能损失,若是回授的电能太多,除开补偿了原有损失外,尚有多余。这多余的能量,在遇到电路中稍有电压的意外波动时,它就要促使这种波动继续下去,结果在电路中就会出现高频振荡。“振荡点”就是调谐电路中的损失完全补偿开始振荡的一点。振荡是有一定频率的,当我们正在接收另一个电台时,这个电台的频率与自生振荡的频率相混合,因差拍作用就会失真产生音频电流声,这就是“零拍点”的两边的叫声。在零拍点上因为自生振荡和外来信号的频率恰恰一致,所以它们的差拍恰恰为零,所以叫声也就消失。在实验中我们近会观察到,这些再生作用的现象,在接附近强力电台信号时,就不那么显著;而接收弱信号时再生作用就特别显著。这是因为电子管特性曲线的关系,以后我们再以专文讲述。(青雨)