(贺兵)日本帝国主义侵占我国华北东北期间,为想巩固他们的统治,曾在这些地区倾销了不少的低级广播收音机,直到今天,还有不小的数目留在民间。这些收音机主要有两种:一种是用57作检波,47B作强放,12F作整流的“标准11号”再生式三灯机,一种是多有一级用58作高放的“标准12号”或“标准型3号A”高放式四灯机。它们都存在着严重缺点:灵敏度低,选择性差,输出力小,加上使用年限一般都已超过廿年,效率低劣,多已不能满足今天的需要了。但是弃之不用,还很可惜,加以适当改造,还可提高它的使用价值。特别是四灯高放式的一种,只须添换少数另件,便可改成自差式或超外差式机。从节约利废角度考虑,这样做是有意义的。我在这方面做过一些实验,效果很好。现在就谈谈这种四灯机改装的两个具体方法。
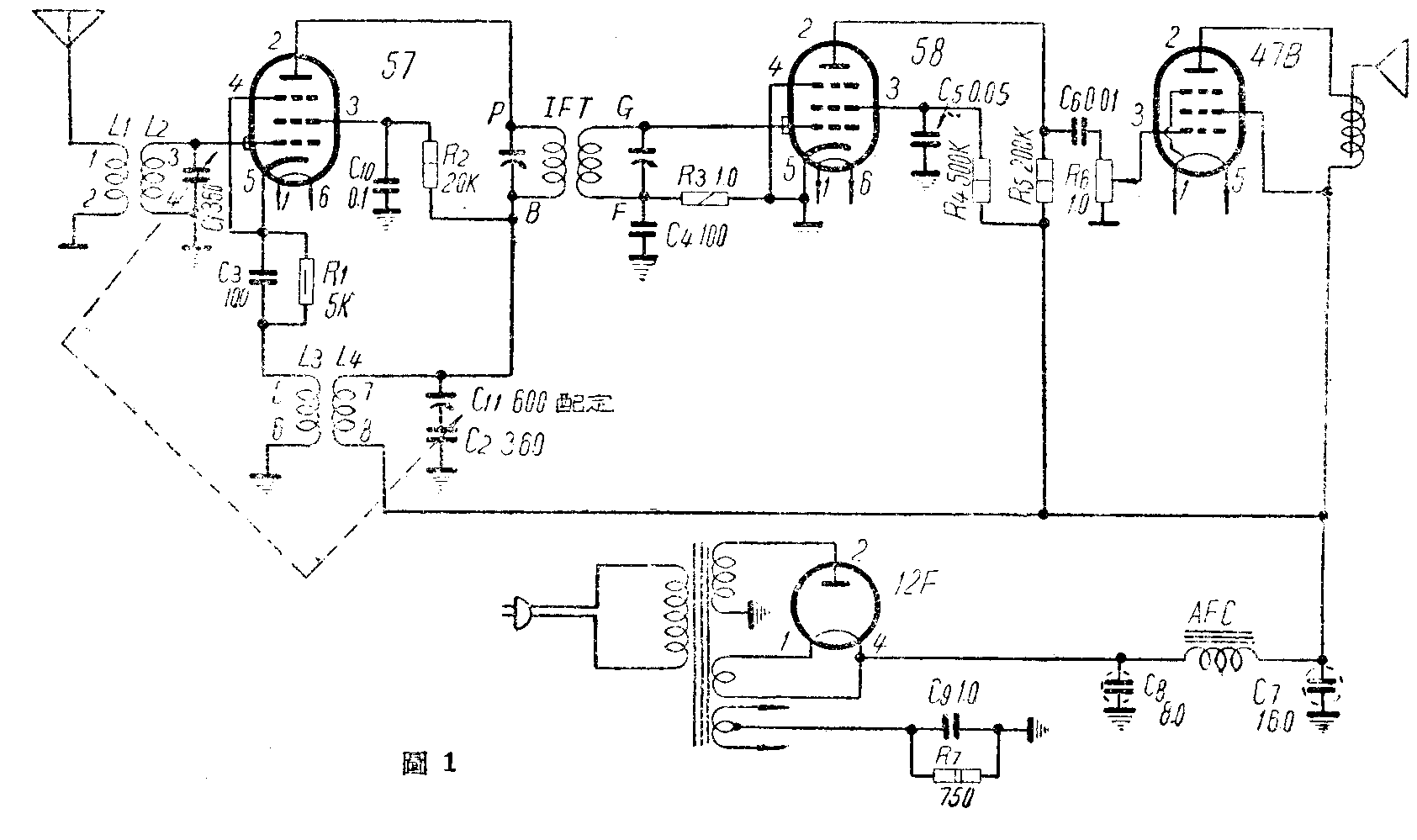
“标12”或“标3A”四灯机是用一只58作调整式高放,机上本来就使用着一只双连可变电容器。如果不增加电子管,只需添换一只自差式振荡线圈,一只465千周的中频变压器,一只电位器,一个半调整配定电容器,几只电阻电容,把部分线路更动改接,便可成为四灯自差式收音机。这时是用57管完成自差式变频,由差拍得出的中间频率,经过中频变压器至58管作栅极检波和第一级低放,然后再经电阻耦合至47B管放大作功率输出。改装后线路如图1。机上原有零件,如无损坏,全部可以利用。电源部分原有滤波用电解电容器如未枯干失效,线路也可完全不改不动。机上原用双连电容器容量最大为500微微法,与国内现时生产习用的360微微法一种,稍有不同。而且自差式变频线圈与超外差式所用的也不一样,因此改装所需的自差式振荡线圈必须自己绕制,没有合适的售品线圈可以代替。L\(_{1}\)和L2可以仍用机上原有高放级天地线圈,L\(_{3}\)和L4是将原再生检波级的栅回路线圈拆除,利用原线(约为34号)原筒(直径25公厘),重绕70圈为L\(_{4}\),在间隔2公厘距离外,照同一方向绕40圈为L3。天地线圈如需重绕,也可以原线原筒重绕142圈为L\(_{2}\),将机上原有的高频扼流圈(RFC)斜放入筒内L2下端作为L\(_{1}\),如机上原无RFC(有的是以304欧电阻代替了),应在L2下端外用40号线乱绕250圈为L\(_{1}\),线头接法见图2。线圈绕后必须浸腊,目的在于提高线圈质量。原来高放和检波两级线圈都罩有笨大的铝罩,改装后可以不用。57和58两管原有金属隔离罩仍应保存。底板上零件安拼可如图3。L1L\(_{2}\)线圈仍放在原高放线圈位置上。原检波线圈地位改放中频变压器。L3L\(_{4}\)线圈装在底板下面横放,与L1L\(_{2}\)成直角便可。原机电源滤波电容器(C7C\(_{3}\))容量不大,而且多已失效,最好是换用新的。由于C7是与L\(_{4}\)串接在一个回路里,这只电容器必须选用容量大(16微法)而漏电小的,否则有时会影响变频电路停止振荡。另外电源滤波用低频扼流圈(AFC)所占地位很大,也可以3千欧5瓦的线绕电阻代替。改装后的调整校验与一般超外差机一样,先校正中频变压器,固定在465千周上下,然后再调整变频级。中频变压器应用输出级的一只,用输入级的应把两个线圈的距离拉近,才能获得适当的灵敏度。经过改装以后,收音机输出大了。如要声音好些,可以换用永磁式电动喇叭,这时输出变压器应该配用适合于3Q5使用的。仍用原机舌簧喇叭,有的音质也还不坏。





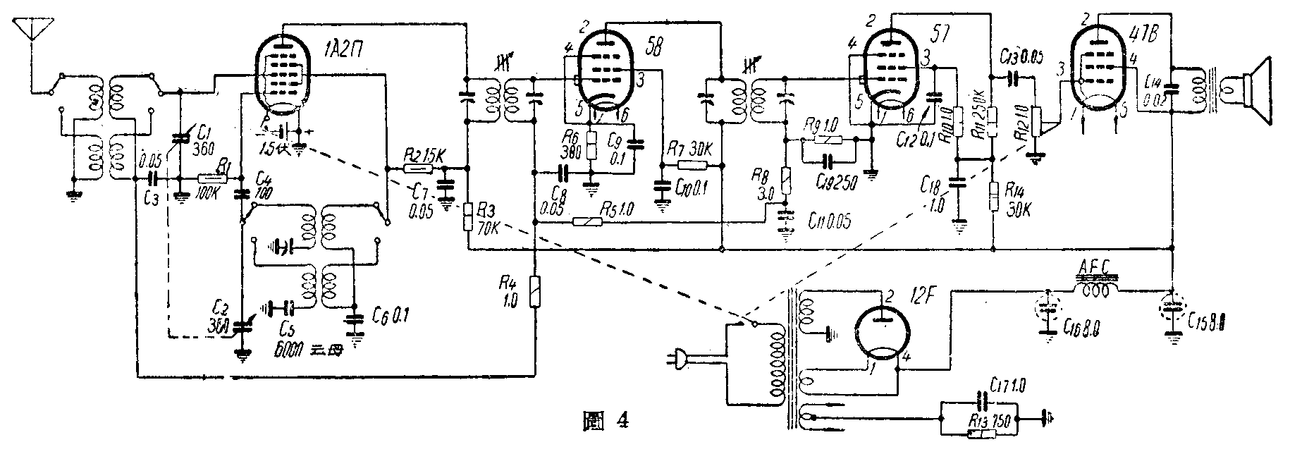
这种收音机经过这样改装以后,灵敏度和选择性都大有改进,但对要求高的使用者来说,不能收听短波,没有自动音量控制等等,还不够满意。我们可以进一步把它改成超外差式。方法本刊以前曾有介绍(参见1956年本刊第10期“利用日式标准型4管机改装成5管长短波外差收音机”一文),但是适合于2.5伏灯丝电源的旧式2A7变频管效率很低,也很难买。添用新式变频管,必须拆改电源变压器,加添6.3伏灯丝线圈。有的变压器铁心内部空隙小,拆改也不太容易。在这里我是采用了比较简单的办法,除原有的电子管58作中频放大,57作第二级检波,47B仍作功率放大以外,加添了一只新型国产小直流七极管1A2П(或1R5)担任变频,灯丝不经原有电源,另用单节手电筒电池供给。实际线路如图4。底板改装零件布置,以“标3A”机为例,可照图5安排。天线和振荡回路线圈可用市上售品任何一种,如美通553,或中央900。中频变压器宜用华北厂出的有磁芯的一种(型号ZP03-1),体积小,效率高。此外电位器也应采用华北厂的1兆欧一种,它附有两只电源开关,这样交流电源和1A2П的灯丝电源可以同时开闭。接线和调整与一般超外差机相同,不再赘述。实验证明,经过这样改装的收音机,在中波和短波段工作都很良好,完全可以满足一般使用要求。这种收音机原有电源变压器引出线是以彩色分别,可能许多人还不能分辨。现将颜色代表意义介绍一下:黑色是初级线圈,红色是次级高压,黄色是次级整流灯丝(5伏),绿色为次级其他各管灯丝(2.5伏),绿色夹花是2.5伏线圈的中心出头。又这种旧式收音机原用电子管58,57, 47B和12F等,我国电子管工业为使广大使用者得以补充更换,特别照样生产一大批,以应需要。可能许多人还不知它的特性;特列表附管座接线图(图6)一并介绍于下:

特性 58 57 47B 12F
灯丝电压(伏) 2.5 2.5 2.5 5.0
灯丝电流(安) 1 1 0.9 0.5
屏极电压(伏) 250 250 180 250
屏极电流(毫安) 8 2 15 40(最大)
帘栅极电压(伏) 100 100 180
帘栅极电流(毫安) 2 0.5 2.5
栅极电压(伏) -3 -3 -10
抑制栅极 在管座上与阴极相连 在管座上与阴极相连 —
屏极电阻(兆欧) 0.8 >1 0.13
互导率(微漠) 1600 1225 1750
负荷电阻(欧) — — 12000
最大输出(毫瓦) — — 700