我们根据农村供电条件并参酌公社广播站所需扩音机输出功率的大小,试制了一种交流和蓄电池两用的10瓦扩音机,经过多次测试和改进,性能尚称满意。兹简单介绍如下。
本机结构分放大和由源两部分。设计时考虑到维修和使用上的方便,以及在没有市电的地区使用时,减少蓄由池充电的麻烦,故电路力求简单有效,所有零件包括电子管、振子等,全部采用国产品。


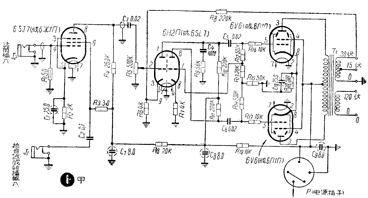
放大部分 放大部分的线路和底板上下的零件排列见图1。话筒和唱片(或转播)信号分别由6SJ7或(6Ж1П)的控制栅和帘栅极输入,用话筒时6SJ7作五极管放大,放唱片时,6SJ7的控制栅在话筒输入插口J\(_{1}\)上短路通地,就变成三极管放大。改变电子管的接法,目的是要变化它的增益,以适应设计上的要求。倒相级用6H2П(或6SL7),它在输出反相电路方面,比一般分压式倒相电路多用了一只50千欧电阻R15,这只电阻对6H2П两组三极部分的输出电压起着自动平衡作用,使末级强放管(2×6V6或2×6П1П)的推挽放大工作更趋平衡和稳定,减少了二次副波的失真度和对电子管使用寿命的影响。末级强放基本上按甲乙1类特性设计,但既要节省蓄电池用电量,又要保证有足够的输出功率,所以强放管阴极偏压、屏极和帘栅极电压都比电子管特性上规定的数值用得高(强放管偏压负25伏,屏压、帘栅压300伏)。另外,为了使该机有较宽的频率响应范围和较低的副波失真,装有负回授电路,回授电压由输出变压器T\(_{1}\)次级30伏一档经分压器R3、R\(_{6}\)供给,输入到左半个6H2П的阴极作两级回授。经我们测试,R6固定为4千欧,R\(_{8}\)用220千欧时,回授深度最为合适。
T\(_{1}\)为输出变压器,次级输出分高低压两档,用作有线广播一节制送电时,可将15伏或30伏输出电压直接用户喇叭线。根据我们试验,倘用户线不太长(6、7公里内)同时线路质量较好的话,可带动上海利闻厂205型或203型舌簧式喇叭200到250只,倘传输距离较远,则可改用0—120伏输出,作二节制高压输送,在多镇上作临时广播的话,只要在120伏输出端加接适当的线路变压器,能带动多只高音喇叭。



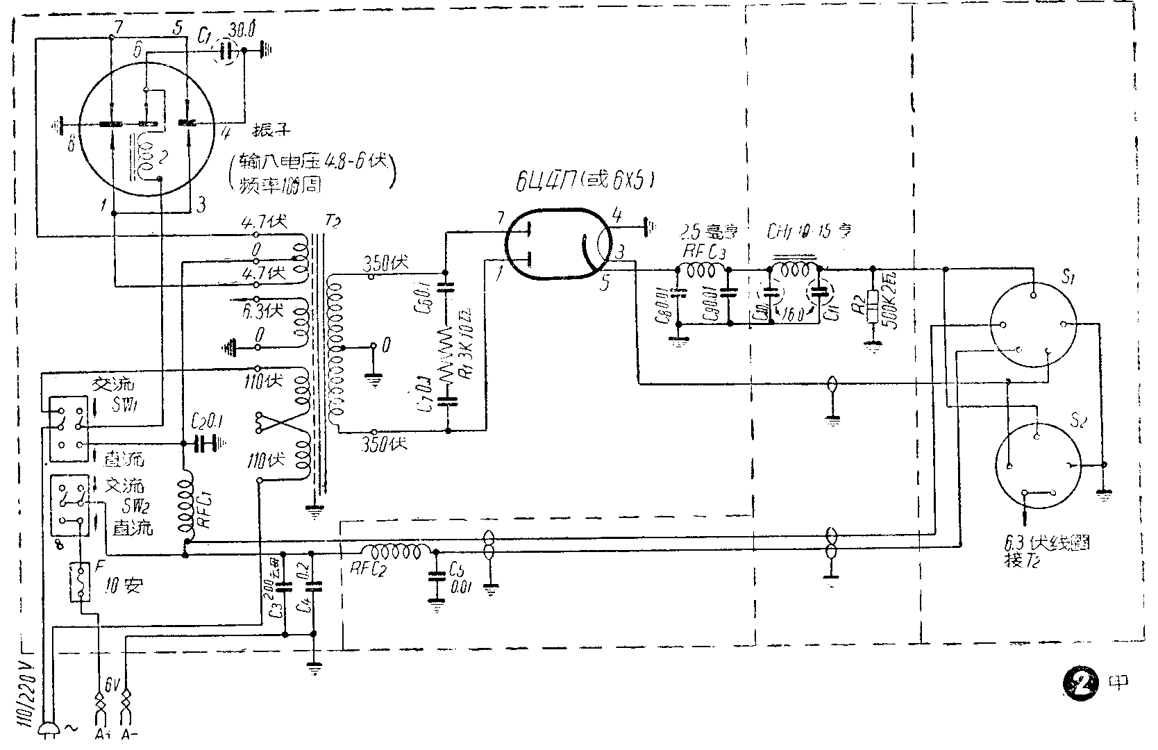
电源部分 这部分的线路和底板上下零件的排列见图2。全机电源可分别利用110/220伏交流或蓄电池供给。用交流电源时,将放大部分的电源插子P插入电源部分的插座S\(_{2}\),全机灯丝电源由T2次级6.3伏线圈供给,高压由6Ц4П(或6×5)作全波整流后供给。
用直流电源时,只要一只容量较大的6伏蓄电池(一般为150—200安时),使用时把交直流切换开关SW\(_{1}\)和SW2掷向“直流”,电源插子P改插到S\(_{1}\)里,全机各电子管的灯丝电源直接由6伏蓄电池供给,而乙电由BC-4.8振子(南京有线电厂产品)和T2的升压作用,把6伏直流变为高压交流,再由6Ц4П整流供给。
用蓄电池供电时,由于振子接点来回振动产生火花,会引起强烈的干扰,所以我们不但在振子励磁线圈的一端和T\(_{2}\)次级高压端装有消除火花的电容器C1、C\(_{6}\)和C7外,在灯丝和高压回路里也都加有滤波网络,并且还相互隔离。C\(_{1}\)、C6和C\(_{7}\)的数值由试验决定,图中的数值是我们反复试验并用示波器观察振子输出电压的波形后决定的。
如果甲、乙电都用蓄电池的话(乙电可用100伏蓄电池3只串联),那么图2电源部分可以省却,并照图3装一个插座S\(_{3}\),使用时把插子P插入即可(用后拔出)。


变压器和扼流圈的绕制 T\(_{1}\)、T2绕制数据见图4。低频扼流圈CH\(_{1}\)的铁芯截面积为3.65平方公分(3/4"×3/4"),用英规38号漆包线绕4100圈,铁芯对插留0.5公厘的气隙。高频扼流圈RFC1用英规14号双纱包或漆包线密绕20圈,线圈直径15公厘;RFC\(_{2}\)用16号线用同样的直径绕30圈。
机件性能和测试数据 本机最大输出功率为9.5瓦,最大不失真输出为8.5瓦。实用上输出功率达到9.5瓦时,仍听不出有多大失真。频率响应自150—6000周,±3分贝。在电源消耗方面:用交流电时,全机消耗功率约40瓦;甲乙电全由6伏蓄电池供电,在蓄电池额定端电压为6伏时,测得电池放电电流平均为7.5安;用300伏和6伏蓄电池供电(都在额定电压)时,乙电放电电流平均为52毫安,甲电放电电流为2.62安。
装置上要注意的地方 ①电源部分要妥善隔离,我们是将这部分零件分装在底板下四个隔离部分内,见图2丙。此外,振子插座及放大部分、电源部分的底板下面,都要加装较好的橡皮软垫;接到振子插座的各根导线宜用柔软的编织线,外加套管。这样既可避免交流声又可避免振子的机械振动车。
②电源部分的接线愈短愈好,较长的接线宜用隔离线;RFC\(_{1}\)、RFC2安装时不宜过于靠近底板。
③由6伏蓄电池接到T\(_{2}\)及振子插座的导线,通过的电流很大,要用较粗的如14—16号双纱包或其它柔软的绝缘导线,特别是甲+、甲-两根电源线,通过的电流达7—8安,每一根最好用三根双股胶质线或49股36号导线合并成的绝缘导线,以免在导线上电压降落过大,影响扩音器工作。
④电源变压器T\(_{2}\)4.7伏的一挡线圈,用经线径不能小于14号,否则高压输出不足。同时T2初次级线圈间必须加静电隔离层,以减少电火花产生的高频干扰。(庞炳根)