这里介绍的电子温度控制仪构造虽然简单,但就它的灵敏度和稳定性说,很适合于仪器上作温度控制之用,并从实验上得到证明。
这种仪器可以用来控制实验室的炉子、工厂的干燥箱以及暗房里的水热等的温度,它的优点是控制温度范围宽。
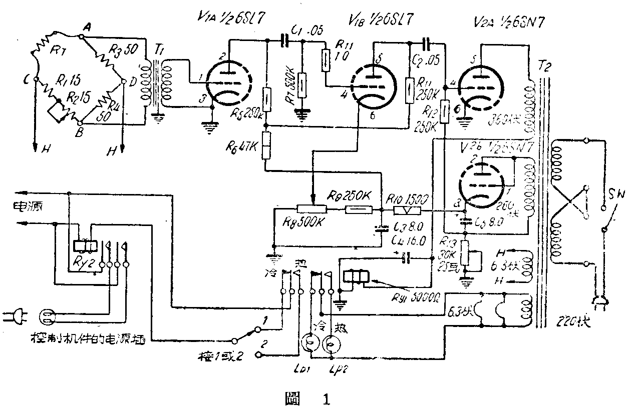
仪器怎样工作 这架仪器是利用电桥的原理工作的(见图1线路)。电阻R\(_{1}\)、R2、R\(_{3}\)、R4和R\(_{T}\)组成电桥的4个臂,R3和R\(_{4}\)是一对阻值衡等的电阻,当桥臂对角线C、D两点上加上一电压,如R1和R\(_{2}\)串联后的电阻等于RT(R\(_{T}\)系铜线或铂丝做成的热感应元件)时,电桥呈平衡状态,A、B端的电位差为零,没有输出。反之,A、B端就有电压输出加到变压器T1上。因此,调节R\(_{2}\)的阻值可以平衡由RT所引起的变化,控制A、B两端有无输出。

当A、B端有输出时,输出电压经V\(_{1}\)两级放大后加到V2A的的栅极上,抵销了部分栅偏压,使V\(_{2A}\)的屏流增大到足以使继电器Ry1吸动。利用R\(_{y1}\)的接点再接通另一继电器Ry2来启闭其它被控制机件的电源。
根据以上所说,我们将R\(_{T}\)置放在被控制温度的电炉内,用导线引出接到A、B点上。设未加热时炉子的温度是0℃,R2的阻值旋在最小(电阻为零),此时AC和CB两端间电阻都是15欧,正好取得平衡,AB两端无电流通过,继电器R\(_{y1}\)处于静止状态。要使电炉加热,可旋动R2到某一位置,使R\(_{1}\)加R2后(即CB两端间)的电阻大于R\(_{T}\),此时电桥失去平衡,AB两端间即有电流通过,继电器Ry1吸动,R\(_{y2}\)接点闭合给电炉供电。当RT因温度上升而徐徐膨胀,电阻逐渐增加,直到它与R\(_{1}\)和R2串联后的阻值相等,取得平衡,AB两端间电流停止流通,V\(_{2A}\)的栅压增高,屏流截止,于是Ry1接点释放,切断R\(_{y2}\)电源。炉子断电后,温度开始下降,RT的阻值又小于R\(_{1}\)和R2串联后的阻值,于是R\(_{y1}\)、Ry2再度接通电源,继续给电炉供电。如此不断的接通和切断被控制机件的电源,就完成了自动控制温度的目的。
如果要控制暗房里的水热,可以将R\(_{T}\)放在暗房里洗片桶的显影液或定影液里,用多股导线引出到装在暗房外明亮处机件上的AC两端,由RT的热感电阻阻值的变化,而使机件控制洗片桶里加热器的电源,这样可方便地在明亮处控制暗房里的水热。
图中电位器R\(_{3}\)可用来调整V1B的栅极电位,以获得较高的灵敏度(一般接地电位)。
制作 热感应元件R\(_{T}\)系一灵敏的电阻温度计,根据不同的温度控制范围可以用铜、镍或铂金属丝绕制成不同的电阻,现列表如下:
控制温度范围 电阻材料 绕成的阻值(0℃时)
0—100℃ 英规45号漆包线 15欧
0—300℃ 0.2公厘纯镍丝 25欧
0—1000℃ 0.1公厘铂丝 25欧
-100—0℃ 0.1公厘铂丝 46欧
用上述金属线绕在宽10公厘长300公厘的云母片上,然后放在一根密封的用薄铜皮制成的保护管内,R\(_{T}\)保护管要相互绝缘,接线可从两端引出。
电阻R\(_{1}\)—R4必须采用线胀系数极小的材料,也就是说,在空气温度变化时,要求材料的电阻变化接近于零。因此我们用上海铜仁合金厂出品的英规29号漆包阻力丝(镍铜合金线,又称漆包冷丝),这种冷丝每公尺电阻约5欧,因此控制温度为0—100℃时,可取3公尺绕在线圈架上作R\(_{1}\),又取3公尺密绕在14号漆包线上作R2,绕好后围成圆环,嵌装在一个胶木圆盘边缘的凹槽里,胶木盘中心装一能旋转的磷铜皮旋臂,使旋臂旋动时能和任一点的冷丝紧密接触。当然,和旋臂接触部分冷丝上的漆要用细砂布轻轻擦去。R\(_{2}\)如果自制困难,也可购买市上的线绕电阻(灯丝电位器)代替。
电阻R\(_{3}\)和R4各用英规29号漆包线10公尺绕成,绕时将线对折后再绕,这样绕成的就是所谓无感电阻,绕好后要在阻抗电桥上进行测量,一定要使R\(_{3}\)和R4的阻值完全相等。
T\(_{1}\)可用4平方公分的硅钢片(一般可用口径200公厘喇叭上用的输出变压器铁芯),用英规29号漆包线绕350圈作初级,另用45号线绕5000圈作次级,初、次级间绕一隔离屏蔽通地。
R\(_{y1}\)系直流灵敏继电器,线圈直流电阻为5千欧,在2—3毫安时吸放,上下误差不可大于5%。Ry2的工作电压、接点电流等,要根据被控制机件所用电压和电流而定。
为了防止感应,T\(_{1}\)、T2和R\(_{y}\)可放得远些,T1可加一金属罩装在底板下面。照片(图2、3)上零件排列可供参考。


调整与校验 机件装妥后,先测一下T\(_{2}\)的次级电压,是否和图中相符,然后插上电子管V2,这时R\(_{y}\)不应吸动,再将V2A管栅极暂时接地,R\(_{y1}\)立即动作,这样表示V2管工作良好。否则应调整R\(_{13}\)的位置直到符合上述要求为止。
再插入V\(_{1}\)管,旋动R2到某一位置时获得一控制点,即R\(_{2}\)在这一点位置时,R1、R\(_{2}\)的串联阻值恰好和RT相等, AB两端无输出,这时R\(_{y1}\)释放。在确定R2的温度刻度时,例如要控制的温度范围为0—100℃,可把R\(_{T}\)放到已知温度为0℃的水里。调性R2得一控制点,这一点就是0℃,再把R\(_{T}\)放在温度为100℃的水里,调整R2又可得另一控制点为100℃。然后测R\(_{2}\)在这两点间的电阻,平均划分,即可得0—100℃的刻度。
如果校验时发现温度控制方向相反,可任意对掉T\(_{1}\)初次级的一个线头即可。
欲增加控制的温度范围时,可增加R\(_{2}\)的阻值,变换阻力线或增大R2的直径,也可以增大R\(_{1}\),使温度起始控制点移动,获得较高的温度控制范围;同理,减小R1时可获得0℃以下的温度控制范围。
根据试验,铂丝在25欧(0℃)时,温度每升高50℃,阻值增加2.2欧,每下降50℃时,阻值减少2.2欧,因此,按照这样的规律变化可以延伸温度的刻度,得到高温和0℃以下的温度控制刻度。
这架仪器在控制0℃以下温度时,灵敏度为±0.5℃,0—100℃时为±1℃。
原线路图中R\(_{8}\)、R9数值似歉过大,R\(_{8}\)可改用10千欧,R9改用50千欧——编者(何基洪)
