在强力广播电台附近装设矿石收音机的人,大概都有这样感觉,就是所装矿石机无论用何种理论上认为选择性良好的回路,都不能避免附近强力电台的干扰,甚至干脆由干扰而无法收听其他电台的播音。最近我试制了这只矿石机,效率比较好,基本上能克服上述缺点。
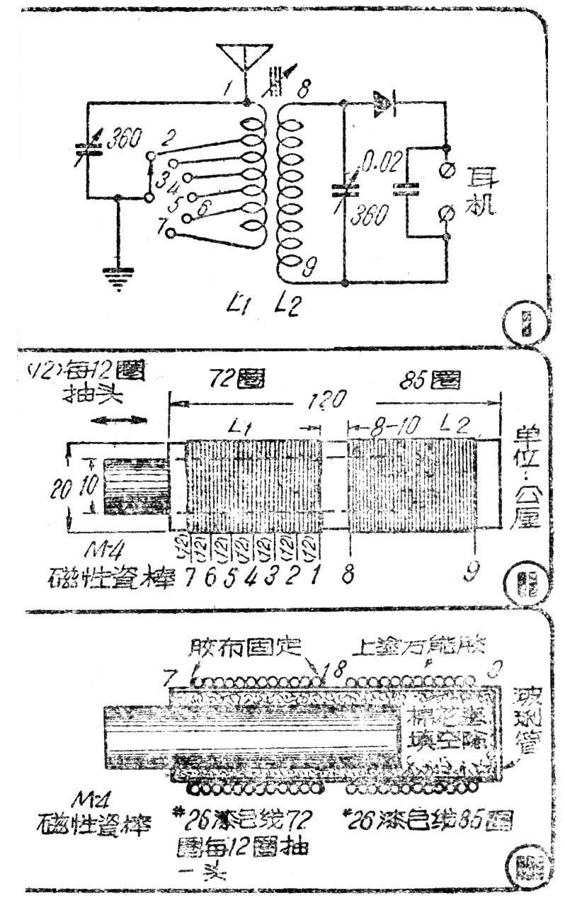
这只矿石机的线路基本上是双回路。它所以能够效果满意,是在线圈里加用磁性瓷棒,提高了回路中的Q值,减少其能量的耗损。线路见图1。具体情况说明如下:

1.天地线 经过多次试验证明,在强力台附近的天线愈高愈长,愈会增加强力台对其他台的干扰。因此天线不必要过高过长,一般在离地10公尺左右已经足够。我用的是Г形天线,水平部分长15公尺,垂直部分高10公尺,线用直径1.0公厘的裸铜线,接机部分用软线。地线我是用的工厂内特设的接地装置。没有这样方便条件的可以自己埋置,经试过用自来水管等作地线效果较差。
2.矿石 我用的是市售活动矿石,可以自己调节。固定矿石效力较差,调节不便。
3.线圈制作 用长120公厘、直径20公厘的玻璃管一根,用26号漆包线单层密绕72圈,每12圈抽一头,共七个抽头,两端用胶布固定为L\(_{1}\)。距L1尾端8至10公厘外用同号线同一方向绕85圈为L\(_{2}\),绕好后用万能胶涂敷线圈表面,防止松动和受潮。线圈管内塞填棉花,插入M4型10公厘径的磁性瓷棒一根(交电商店有售,价约0.70元)。调谐电容器系分用两个单连可变电容器,机内另件间接线尽量短,并用锡牢固焊接。
4.使用效果 这只矿石机在北京市的强力电台附近分别试验过,能清晰的收听中央一二台和北京台的广播,而且灵敏度很高,克服了以前在这些地方使用矿石机受到强烈干扰收听不好的缺点。(陈洪生)