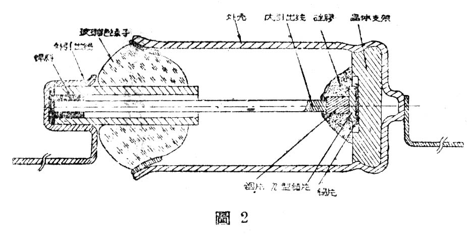
自从国产Д1和Д9型点接触式锗二极管诞生以后(参阅1958年本刊第8期介绍),我国电子管工业又取得了更大的成就,进一步制出更多的新型半导体元件。这里介绍的是最近国营北京电子管厂生产的一种新型半导体晶体管,它是一种高电压大功率负载的面接触式锗二极管。其外形尺寸如图1。图2是该管内部结构的剖面图,主要部份是由n型锗单晶薄片,用熔合法将金属杂质铟熔入锗内,形成P-n合金结的阻挡层。该阻挡层的面积比点接触式二极管大得多,所以允许通过的整流电流比较大。


国产面接触式锗二极管共分七类,命名为ДГ—Ц21至ДГ—Ц27。其特性数据列于附表。表中列举的各项参数,均指环境温度为20±5℃时测量的。允许通过25安脉冲峰值的最大瞬时电流仅限于0.1秒以内。由于阻挡层的面积较大,接触电容有15-20微微法,所以它的工作频率一般不应超过50千周。
此外,面接触式锗二极管具有许多良好的使用性能。如体积很小,重量很轻,机械可靠性和稳定性很高,使用寿命很长以及不需要加热灯丝等等。因此它完全可以成功地代替真空二极整流管和硒整流器,成为收音机、电视接收机、扩音器以及其他电气设备中更适用的整流元件。
ДГ—Ц型面接触式锗二极管用于整流设备时,其电路设计与计算方法与一般整流元件相同。它在半波、全波、桥式和倍压等各种电路中均能适用。在使用时,除应遵守一般晶体管使用规则(参阅1958年本刊第8期“半导体的维护和鉴别”一文)以外,还须注意下列几点:
型号 正向特性 反向特性 极限运用数据
正向 正向 反向 反向 最大 最大 最大 最高
反向 整流 瞬时 工作
电压 电流 电压 电流 电压 电流 电流 频率
峰值 峰值
伏 毫安 伏 毫安 伏 毫安 安 千周
ДГ—Ц21 0.5 >300 50 <0.5 50 300 25 50
ДГ—Ц22 0.5 >300 100 <0.5 100 300 25 50
ДГ—Ц23 0.5 >300 150 <0.5 150 300 25 50
ДГ—Ц24 0.5 >300 200 <0.5 200 300 25 50
ДГ—Ц25 0.3 >100 300 <0.3 300 100 25 50
ДГ—Ц26 0.3 >100 350 <0.3 350 100 25 50
ДГ—Ц27 0.3 >100 400 <0.3 400 100 25 50
1.附表列出的最大反向电压峰值系指在半波整流电路中负载是纯电阻时的数据。但在实际应用中,半波整流电路的负载上多数都接有大容量的滤波电容器充作旁路,因而增大了二极管所承受的反向电压,所以在使用时必需降低电源电压。如按有效值表示,ДГ-Ц21的电源电压一般不应超出18—20伏,ДГ-Ц22为36—39伏,ДГ-Ц23为53—58伏,ДГ-Ц24为72—78伏,ДГ-Ц25为106—113伏,ДГ-Ц26为124—132伏,ДГ-Ц27为141—150伏。
2.由于坏境温度对半导体导电性能有显著影响,因此它也受环境温度的限制。图3、4分别表示环境温度为20°和70℃时在极限工作状态下反向电压峰值与整流电流的关系曲线。在使用时,不应使工作点超出极限范围,以免过载而损坏。


3.为了得到较高的输出电压,可以将两个或数个相同型号的二极管串联使用。这时必须选用有相同反向特性的二极管,使每个二极管在工作过程中所承受的电压相等。否则,有个别特性较差的将首先被击穿而导致所有二极管全部烧毁。但事实上,在同一批相同型号的二极管中,由于参数偏差范围较大,很难选出特性完全相同的管子,特别是在使用者手头仅有数量有限的二极管时,更难办到。其解决的办法是可以按照一般电容器串联使用时并接电阻的方法来缓和其不均匀性。即在各个串联的半导体二极管间并联适当的电阻。其线路接法如图5。并接的电阻阻值为100千欧,ДГ-Ц21至ДГ-Ц27各型号都适用。至于需要获得更大的输出电流时,应采用全波或三相整流电路。ДГ-Ц型二极管不宜并联使用。

由于ДГ-Ц型面接触式锗二极管具有优良的使用性能,并能成功地代替真空二极整流管,因此,我国电子管工业今后将不再发展其他形式的真空二极整流管,或带有二极整流管的复合管,而将发展具有大功率大电流更新更好的硅二极管,以作代替。(启明)