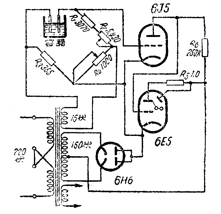
水的纯度如何与单位体积内所含的无机物及其他杂质有关,纯度越差,导电率越大。从理论上说蒸溜水是不导电,但事实上多少还是有一点导电的,因此从导电的情况中我们就可以辨别水的纯净程度(当然不是蒸溜水也可以测量)。测量的方法是用一个交流电桥(见图),在电桥的一个臂上接入装有电极的容器,这个容器内就放入要测量的水。另外三个臂是电阻,其中的两个臂用的是可变标准电阻,并在其中一个臂(R\(_{4}\))的度盘上刻上水的纯度指数。这样,要使电桥达到平衡,就需变动可变电阻,因此能立即决定水的纯度。

电桥所需的电源是由变压器上一个15伏的线圈供给的。指示电桥平衡的是用一个电眼指示管。为了使电桥平衡得非常好,也就是使电眼管变动得更灵敏,另外加了一个6J5做放大。两管的屏压用150伏就可以了。
当电桥没有平衡时,就有交流信号输至6J5的栅极,经过放大输至6E5管,因为不平衡时输入的信号大,所以6E5闭合。这时可调节R\(_{4}\)使电桥平衡,平衡时电眼管开放得最大,便可从刻度盘上直接读出水的纯度。
这架仪器只有两只电子管,屏流很小,用6H6做整流就可以了。(江流)