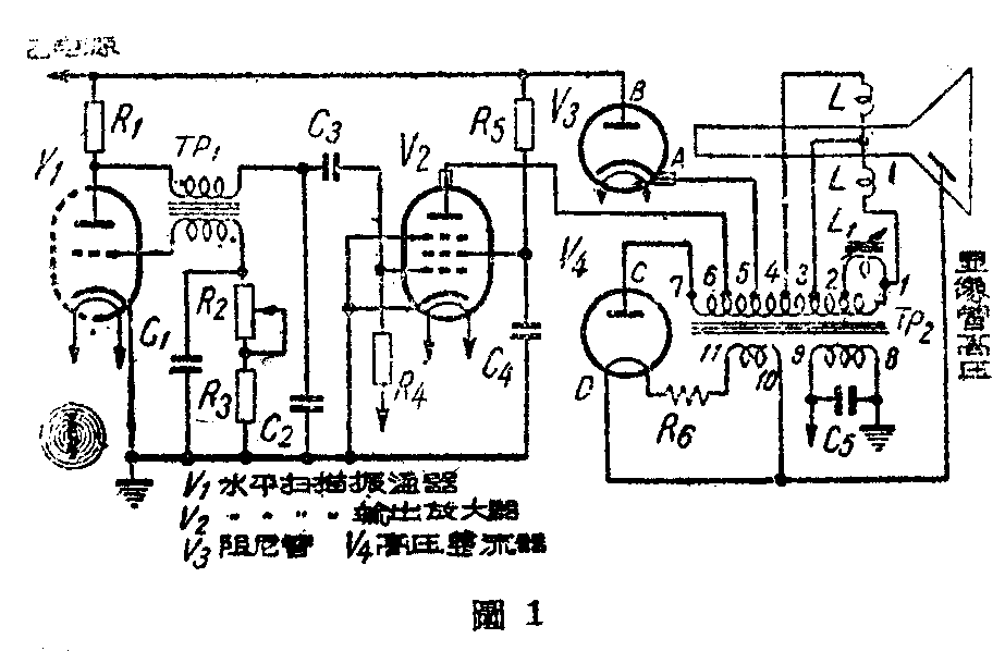
一般电视接收机,显象管的屏极电压(下简称高压)为10千伏左右的高正电压(如北京牌接收机12—14千伏)使电子束以高速撞击荧光屏,这个高压是使屏幕发亮条件之一。这里单谈谈怎样检查和修理高压部分的故障。图1是一个典型的高压部分,我们知道在电视接收机显象管屏极的高压,普遍都利用水平扫描输出级回扫时在V\(_{2}\)屏极电感上会出现极大的正的脉冲电压,在变压器TP2上再加上一个升压圈,把这个提高了的脉冲电压再经过一个整流管,则得到所需要的正的高电压(见图1)。从图1也能看到V\(_{4}\)管的灯丝电压,也是在TP2的次级绕上一组线圈耦合取得的,所以包括V\(_{1}\)、V2、V\(_{3}\)等电路在正常的情况下,V4才能工作。检查有无高压及其值之大小,最好用高压电压表测量。如果没有高电压表的话。可采用简单测试办法,用绝缘良好比较长一些的起子,接近显象管的高压端(高压线插),使起子尖端与高压端之间放电:而根据放电火花之长短,推测电压的高低。如距离10公厘程度能放电,约有10千伏,15公厘程度,约有15千伏。用这个方法一试,没有火花,甚至用起子的尖端和高压端短路,也没有一点火花产生,则说明V\(_{4}\)管无高压输出。检查毛病,可先从V1开始,看间歇振荡电路是否正常,该振荡器的频率较高。用耳朵静听,在正常工作时能听到TP\(_{1}\)变压器铁心所产生的微小哼声。如果用手来回旋动R2(普通称水平同步钮)也听不到一点声音,则可能V\(_{1}\)电路有问题,可检查R1、TP\(_{1}\)和V1管等另件是否良好及各极电压是否正常。如果能听到TP\(_{1}\)有哼声,说明V1部分在工作,再往下检查扫描输出级,同样检查该电路的元件和各极电压是否正常以外,尚须注意V\(_{3}\)和V4管是否良好,V\(_{3}\)是阻尼管,在这里它除了消除输出变压器的振荡以外,还起着倍压作用,所以V3一坏就会影响V\(_{2}\)级的工作。在检查V4时,先考虑V\(_{4}\)上有无屏压(这是脉冲的高压,也可用放电的办法测试),如果有屏压,放电火花的距离也不算小,而V4不亮则检查V\(_{4}\)的灯丝及R6是否良好(R6,1—3欧)。

在修理中,常遇到L和TP\(_{2}\)的一些毛病;水平偏转和垂直偏转线圈,相互垂直而两线圈又靠得很紧地装在园柱截面形的铁轭内(见图2甲、乙)。如果制造时两线圈之间的绝缘不良和漆包线质量不佳,则容易造成线圈短路和L本身局部短路的现象。L和L1短路,就把乙电源与地短路(见图3甲、乙)。这种情况一般说比较好找,但有时也不是这么简单。在没有电源时,用欧姆表测A、B点与地之间(见图1)根本量不出来有短路的现象,而只有在L上有了乙电源后,迫使两线圈绝缘不良处碰在一起,电源刚开的瞬时,有时A、B点与地之间,电压很正常,但随着时间电压很快的降低,保持非常小的电压值。此时如果发现V\(_{3}\)和电源整流管极度高热(时间稍长些屏极也会发红),说明短路毛病出于A点部分,可将L引出线去掉一试,如偏转圈上接有插头,则把插头拔下一试,见图3甲、乙。这样试后,A、B点的电压正常了,说明L和L1有故障,把它拆下找出绝缘不良处进行修理。L本身发生局部短路时,测试高压很微小(看短路的情况怎样,严重时非常微小,甚至无电压)。但当TP\(_{2}\)发生局部短路时,情况和L发生时一样,所以如果其它电路无故障而V4C、D两点的电压都很微小,则说明L和TP2二者间必有一者有短路现象,要确定属于谁的故障,和上方法一样把L的插头拔下一试。如果电压大了(在正常情况,L插头拔下比按上L时高压要小些,同时当L\(_{1}\)插头拔下时最好将亮度旋钮旋至最小处,以免电子束集中一点射在屏幕上),说明故障发生在L上,用上方法进行修理。相反拔下插头仍无效,则故障在变压器上。在确实断定TP2内部有短路现象前,应把TP\(_{2}\)上的负荷电路及元件检查清楚,看故障是否出在外部。如TP2有毛病,将它拆下,照原来规格绕制,或换上一个成品(北京牌接收机L和TP\(_{2}\)各组直流电阻见图3甲、乙,供修理时参考。但由于各厂出品的规格不一,以及局部短路的情况严重与否,用欧姆表来测量,有时很难确定)。


另外,由于V\(_{4}\)管的输出电压非常高,所以这部分的引线和接触点需要绝缘良好并十分牢固,否则也会引起各色各样的故障。(朱光照)