在收音机或扩大机的输出级和扬声器之间,一定要用一个输出变压器,这样可以使负荷阻抗和电子管的内阻适当地配合,以获得最大的输出功率。如果把音圈阻抗仅有几欧的扬声器直接接到电子管的屏负荷回路中,那么大部分功率就消耗在电子管很大的内阻上,扬声器所得的功率就极小了。
负荷的大小和输出功率有极大的关系。我们知道,当负荷电阻和电源内阻相等的时候,负荷所得到的功率最大,这个道理我们可以用下列实验来说明。如图1的电路,为了方便起见,我们把变压器次级的实际内阻略而不计(因为和R\(_{1}\)比较起来是极小的),以R1(200欧)作为电源的内阻,分别用100欧、200欧和400欧三个不同数值的电阻作为负荷(R\(_{2}\)),这时消耗在电源内阻R1和负荷电阻R\(_{2}\)上的功率可以计算出来,列成一个表:

电阻(欧) 功率(毫瓦)
负荷 电源 负荷 电源 总功率
100 200 40 80 120
200 200 45 45 90
400 200 40 20 60
如果多拿几个不同数值的电阻来试验和计算,仍然只有负荷电阻与电源内阻相等时,输出功率(即负荷的功率)才是最大。
上面的事实也说明了电子管的输出功率只有在负荷阻抗和电子管内阻相等的时候才是最大。
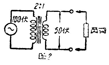
和电子管内阻相匹配的负荷阻抗当然是输出变压器的初级线圈,它的阻抗是由电感线圈的感抗,也就是电感和频率来决定的。可是决定变压器的初级阻抗却并不这样简单,它还要取决于变压器的次级负荷,也就是说变压器的初级阻抗随着次级负荷电阻的变化而改变的。我们可以用图2来说明这个道理,假定变压器的圈数是2比1,在初级加上一个100伏的电源,当然次级的电压是50伏。当次级开路的时候,初级不消耗功率(变压器的损耗不计),如果次级加上一个50欧的电阻,那么就有50瓦的功率消耗(1安50伏),这功率是来自初级的,初级就有0.5安的电流;100伏0.5安的阻抗就是200欧。可是当次级的负荷改为100欧时,消耗功率只有25瓦,初级电流只有0.25安。因此初级阻抗就成为400欧了(0.25安,100伏)。这就说明了次级负荷的变化足以影响初级的阻抗。为了使电子管的输出和扬声器得到适当的阻抗匹配,就必须选用恰当的输出变压器。(冯瑞荃)
