过去几年来在设计多波段收音机时,都习惯于采用七极管6SA7、6A2П或复合管6И1П、6K8等来完成变频,即利用七极管或复合管的第三栅注入信号电压,七极管的第一栅或复合管三极部分的振荡栅产生振荡。事实上,只有一个控制栅的电子管同样能完成变频任务,不过这种变频方式——单栅式变频——一向被人忽略,认为不适用于多波段收音机上。
最近,西欧某些无线电制造单位对这种变频器的研究发现,它比一般的变频方式有更多的优点:
1.单栅式变频器不仅能成功地用在长波、中波和短波波段,而且还能有效地用在超短波波段。这样只要用同一只变频管,就能接收所有的波段,从长波到超短波,大大简化了收音机的构造。
2.我们知道,变频跨导是决定变频效率好坏的重要因素,单栅式变频器的变频跨导极高,大约在2000微漠以上,比一般变频器竟高出数倍之多。
3.在同样工作条件下,单栅式变频器的噪音远比一般变频器小。
4.单栅式变频器线路简单,电台调谐只用一个单连可变电容器。
由于上面的一些优点,目前国外有些产品收音机已经采用这种变频方式,大致有下面两种:一种是混频和本地振荡同时在一个管内完成,另一种是利用一个电子管任混频;另一个电子管任本地振荡。下面的几个例子,可说明这种变频器的接法。
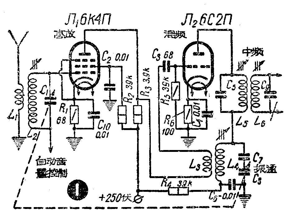
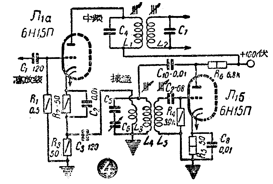
第一种单栅变频器的线路如图1图2所示。图1中Л\(_{1}\)是高放级,Л2是变频级。Л\(_{1}\)输出的高频电压经过L3和电容器C\(_{3}\)加到Л2的栅极上。本地振荡由谐振回路L\(_{4}\)、C7、C\(_{8}\)和回授线圈L3构成。使Л\(_{2}\)的输入电压和振荡电压在管内发生差拍作用,接在屏路中的中频变压器上就出现了所要的中频电压。这种变频器对于像频波道的选择性较差,而且振荡电能也容易向外发射,引起强烈干扰,所以在前面用Л1加了一级高放以增加选择性,并隔离振荡电能的发射。Л\(_{1}\)的负荷应当选用数千欧的无感电阻,不要采用谐振回路的形式。图2是利用三极七极管6И1П的一个例子,其中三极部分任单栅式变频,七极部分任高放。信号电压由七极部分的第一栅注入,自动音量控制加在第三栅上。


第二种单栅变频器线路如图3到图5。为了方便起见,通常均用一个双三极管来完成这项任务。振荡电能交连到混频级的方法大概有下面几种:



1.振荡器的输出电压经过一个小容量的电容器C\(_{em}\)交连到混频管的栅极上(图3)。
2.振荡器的输出电压加在混频管的阴极回路中(图4)。阴极回路中要串一电阻R\(_{3}\)。
3. 混频管阴极回路和线圈L\(_{1}\)串联(图5)。
这三种变频方式以后面的两种较好,因为后两种的振荡电能辐射得较少。
结束语
1.如果用三极管担任混频,可以在阴极回路中接入一个电阻或线圈,用来产生由流负回授以提高三机管的内阻,或者在中频变压器的初级线圈旁加绕一个线圈,再把这个线圈串联在混频管的阴极回路中。
2 图中各线圈的规格均未注明,读者可按一般方法设计,也可采用售品的超外差式线圈。但采用图4的线路,那就要自己多绕一个附加线圈。
3 在试验这种线路时,如条件限制,也可以用类似的电子管来代替图中的型号。
4.这类变频器构造简单,但无线电爱好者实验时要得到良好的质量指标,像优越的选择性,稳定的振荡频率,以及振荡级只有极小的电能辐射出去等,还是不太容易的。实验时尤其要防止振荡级辐射过强,以免引起强大的干扰。(卜文洙根据苏联“无线电”1958年第10期编写)