信号发生器对爱好者来说,是值得常备的仪器。但是买一具价格昂贵,自己动手做一具简单而实用的,倒是很实惠的。
我做的这具信号发生器用6K4П电子管(业余品)一只, 可变电容器一个,几只电阻电容器,和一只 220伏60瓦电灯泡。另件很少,总共算起来不过六元钱。
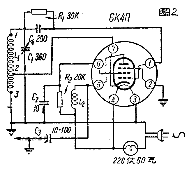
这是一只振荡与输出分开的电子耦合式振荡器,线路如图2。由6K4П的栅、阴、帘栅极完成振荡,由屏极输出。主要特点是没有变压器、整流管及调幅装置。因为高压为50周交流,传入收音机能听得很清楚。全机装在一个小木匣里(因为直接接用交流市电,用铁匣容易漏电有危险)。面积以另件能装下为度,电灯泡为了易于散热并不致因温度增高影响振荡频率的稳定,故装在外边。线圈L\(_{1}\)是振荡线圈,用英规36号漆包线在直径25公厘的圆硬纸筒上绕130圈:45圈处抽一头。绕后须经腊浸。线圈的多少与可变电容器C1的容量有关,最好边试边调,以使C\(_{1}\)动片完全旋入时能生400—410千周的振荡;旋出时能达1600—1610千周为准。线圈L1的抽头,影响振荡的强弱,抽头移向栅极振荡强,反之弱。在中波段调整振荡强弱,作用不大。线圈L\(_{2}\)为高频扼制圈,电感在2.5毫亨左右,市上有成品出售。自制可用英规40—41号漆包线,在直径10公厘的圆硬纸筒上分四段乱绕,每段60圈(见图1)。全机焊接装妥后应用一具较好的收音机作校对器。C1的旋钮应用有指针型的,并需一个平角100等分的度盘(可用白纸画一个),然后准备一张坐标纸就可以校准了。


1.决定坐标纸上横轴为振荡器刻度数,纵轴为频率数。
2.以北京为例将收音机固定在北京台820千周上,旋动振荡器C\(_{1}\)在一点或二点上使收音机里可以听到很大嗡声。这时低的一点是410千周,高的一点是820千周。如果410千周没有了,那是L1圈数少了。
3 将振荡器调在820千周上(由第2节决定),旋动收音机至1640千周处(一般到1600千周即可)可以听到嗡声。此时收音机不动,再将C\(_{1}\)旋出,到某一度上收音机便可听到嗡声。这时振荡器刻度相当于1600千周,然后再将C1旋入,可以求得1600÷3≈533千周的度数。
4.将振荡器放在410刻度上(由第2节决定),收音机旋在1230千周左右可以听到嗡声。这时收音机不动,将振荡器C\(_{1}\)旋出,至收音机能听到嗡声时,便可求得1230千周刻度。

根据以上四个步骤,由一个电台可以决定五个频率的度数。再参照其他广播电台频率,可以决定度盘上所有频率数。校对时应注意:(1)将收音机自动音量控制(AVC)短路。可能的话用一具输出电压表接在扬声器音圈上,可以观察到调谐最尖锐的一点。(2)尽可能不要利用三次或二次谐波求出的度数,因为经过几次转折,很容易发生错误。以上频率度数经过仔细校对确定后,便可在坐标纸上描绘出一个很准确的曲线或直线来。这具信号发生器最低频率应为400—420千周,不宜太高。如果不能低到420千周,可以加 多线圈L\(_{1}\)圈数来改正。C3为输出配合电容器,兼起内部接线与引出线间隔断作用,必须用质量好的,可用磁质云母绝缘的配定电容器代替,引出线须用橡皮隔离线。(史振藩)
