干电池旅行收音机最好是体积小、耗电省、收程远、用喇叭发音,但又必须不另接天地线。这里介绍的一只来复式两管手提机,可以达到上述这些要求目标。
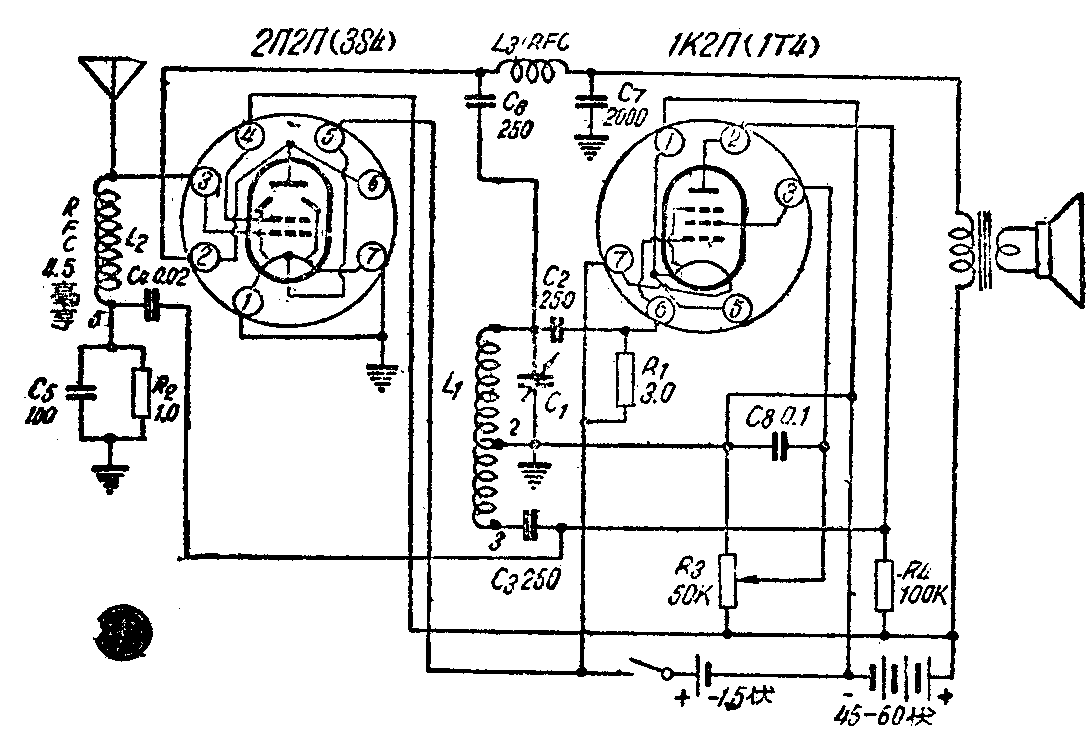
线路:如图一,外来讯号输入2П2П电子管作不调整高放,放大后的高频从屏极输出,经C\(_{6}\)的偶合,到L1与C\(_{1}\)所组成的调谐回路,选择一个频率后输入1K2П进行栅极检波。1K2П检出的低频由C4再回输到2П2П栅极去低放。放大后的声频从屏极输出经RFC到扬声器去发音。

机件结构: 图一中L\(_{1}\)线圈是绕在一只30公厘直径的圆管上,用33号漆包线饶130圈,头接C1定片,尾接C\(_{3}\),离尾端30圈处抽出一头接地。这个线圈(头到中心抽头处)配用360微微法可变电容器,中波段自550—1600千周所有电台都能收到。L2及L\(_{3}\)RFC是两只4.5毫亨的高扼圈,L2也可用10000欧的电阻代替,但效果不及RFC好。L\(_{3}\)是阻挡从2П2П屏极输出的高频通向扬声器,使高频借道乙电断路电容器C6输入检波级。R\(_{3}\)电位器用来调节1K2П的帘栅压,控制再生力及音量。R4是1K2П的屏极负荷电阻,自100K—500K之间可试验决定。R\(_{2}\)是2П2П低放时的栅极电阻。电子管1K2П的栅极电阻接在甲+处,使栅电位略带正,电子管的检波效果可好一些。为了避免人体感应,全部零件都装在一块小型金属底板上。零件排列如图二,接线尽可能减短,不要互相平行。线圈和高放管最好用隔离罩罩住,以免产生振荡。机箱是用三合板胶合成的,外形及尺寸如图三。天线代用器是一根从旧照相机三脚架上拆下来的伸缩臂,将下面螺丝旋牢在机箱右上角,用接线和2П2П栅极相连。这架旅行机因为有一级高放,一级再生检波和一级来复式低放,收听本地电台时只要将伸缩天线拉长,一开电源开关就会发出响亮的声音。如果接上正式天线,可听到远地方的播音。


优点:(一)只用两只省电电子管,收听成绩和交流四管机相仿。体积小巧,便于携带不用天地线可以收音。(二)再生检波前有高放级作缓冲,再生过度时不会向外发射。(三)来复部分采用电阻偶合,省掉一只既笨重又昂贵的低频变压器。(四)再生电路采用哈脱来式抽头线圈,再生稳定,无线圈接反不起再生的弊病。(张光炎)