一部扩音机由于使用的要求不同,可以接一只或数只扬声器,在装接的方法上也有很多种,但不论怎样装接,必须使扬声器的音圈阻抗与扩音机的输出阻抗获得满意的匹配,才有使扩音机与扬声器正常工作。目前国产的扩音机有不少还是采用定阻抗输出的方法,装接扬声器时需要很好地加以计算。下面介绍几种扬声器的装接法:
一只扬声器的装接法
扩音机只装接一只扬声器时方法很简单,只要知道这只扬声器的音圈阻抗和瓦数便可以装接。如果瓦数和这部扩音机的额定输出电力相符,就可以把扬声器用导线接到扩音机输出变压器上标明阻抗数值相应的抽头上去。
多只扬声器的装接法
多只扬声器在装接时,必须使这些扬声器组合起来的音圈阻抗与扩音机输出阻抗互相配合;同时还要使扩音机所供给的电力都能按每只扬声器的瓦数得到合理的分配,以免个别扬声器因过负荷而损坏,或有输入电力过低音量甚微的毛病。
相同扬声器的装接 多只相同扬声器在装接时,应考虑的主要是阻抗的配合问题。因为各扬声器的瓦数和音圈阻抗都一样,不会出现个别扬声器过负荷或负荷不足的问题。
多只相同扬声器的装接方法有三种,即串联法、并联法、串并联法。在实用中如系固定性的装接,多采用并联法,在临时性场合则看何种接法所得到的阻抗最接近于扩音机输出变压器某一抽头所标明的数值而定。一般说来,多采用并联法而尽可能少用串联法,因为用串联时,某一个扬声器断路,就会使全部扬声器停止工作。下面是这三种接法的计算:
串联法的计算:多只相同扬声器串联后的阻抗Z和总电力P\(_{t}\)可由下式求出:
Z=nr,P\(_{t}\)=nP。
r为每只扬声器的间圈阻抗数值,n为扬声器的只数,P为每只扬声器的瓦数。
例如有四只8欧25瓦扬声器串联(图1),串联后的阻抗是32欧,也就是说应接到扩音机输出变压器0—32欧两接线柱上;它们的总电力是100瓦。

并联法的计算:多只相同扬声器并联后的阻抗Z和总电力P\(_{t}\)可由下式求出.
Z=r/n, P\(_{t}\)=nP。
各符号的意义和串联公式相同。
例如有四只16欧25瓦扬声器并联(图2),阻抗就是4欧,应接到扩音机输出变压器0—4欧的两接线柱上;它们的总电力是100瓦。

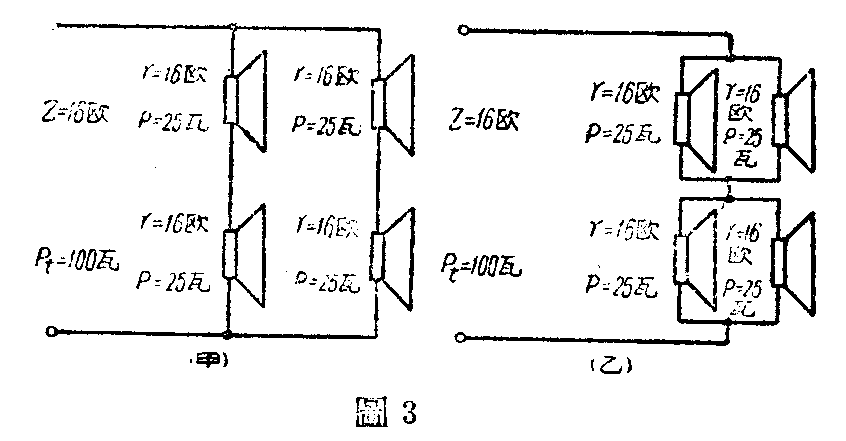
串并联法的计算:串并联有时是先串后并,有时是先并后串,但结果都一样,只不过在装接时各串联组或各并联组中的扬声器数量有相同和不相同之分别。在各组扬声器数量不相同时,各组的阻抗都不一致,在实用中很难求得与扩音机输出阻抗相符的阻抗,所以应该按照不同扬声器联接法计算它们的阻抗;而在各组扬声器的数量都相同时,串并联后的阻抗Z和总电力P\(_{t}\)可由下式求出:
Z=mr/n, P\(_{t}\)=mnP。
m为每串联组合中的扬声器数量或串联组合的组数,r为每只扬声器的音圈阻抗,n为每并联组合中的扬声器数量或并联组合的组数。
例如有四只16欧25瓦扬声器接成串并联(图3甲)或并串联(图3乙),其阻抗都是16欧,应接在扩音机输出变压器0—16欧两接线柱上;它们的总电力是100瓦。

不同扬声器的装接 多只不同扬声器在装接时,因为扬声器的瓦数都不一样,或者瓦数和音圈阻抗也都不一样,因此,不但要考虑阻抗的配合问题,而且还要考虑电力的分配问题。一般说来,不同扬声器在装接时大都采用线间变压器(或称敷线变压器)来达到阻抗的配合与电力分配的目的。
目前市场销售的线间变压器,是一种复用式线间变压器,它有很多初级抽头和几个不同的次级抽头,以分别担负与扩音机输出阻抗和扬声器音圈阻抗相匹配的工作。改变初级抽头的阻抗数值,就可以获得不同的电力分配。一般常见的初级阻抗数值为500、750、1000、2000、3000、5000等,次级阻抗则大多根据目前国人常用扬声器的音圈阻抗数值,如8、16等。除了这种以阻抗数值来标明抽头的线间变压器以外,还有用比例方法来标明其比值的线间变压器,后者大都用在固定场合并经事先设计配合好的,所以在市场上不易买到合用的。这里仅以前者为例,谈一谈不同扬声器装接时附加线间变压器的方法及线间变压器初级阻抗的计算法:
附加线间变压器的目的不仅只是为了使扬声器的音圈阻抗与扩音机的输出阻抗相匹配,而且因为各扬声器本身的瓦数也不一样,所以它还担负了把扩音机的输出电力按扬声器的不同瓦数加以合理分配的任务。配合于各个扬声器旁的线间变压器其瓦数应和这只扬声器的瓦数相符。此外,在虽不是不同扬声器的装接,但因输送线路过远,为了不致让输送电力在输送线上消耗过多而引起扬声器音量微弱,也常常使用线间变压器以配合扩音机较高的输送电压,来保持一定的输送电力。在附加线间变压器时,它的初级抽头大都接在扩音机输出变压器的高阻抗抽头上。为了分配给各个不同扬音器以不同的电力,线间变压器的初级阻抗Z\(_{1}\)可由下式求得:
Z\(_{1}\)=P0RP
P\(_{0}\)为扩音机的额定输出电力,R为扩音机输出变压器的最高输出阻抗或较高输出阻抗,P为分配给某只扬声器的瓦数。
例如一部30瓦扩音机,其最高输出阻抗为250欧,需接15瓦、10瓦、5瓦扬声器各一只,求各线间变压器的初级阻抗数值:
30×250/15=5000欧……15瓦扬声器的线间变压器初级阻抗,
30×250/10=750欧……10瓦扬声器的线间变压器初级阻抗,
30×250/5=1500欧……5瓦扬声器的线间变压器初级阻抗。
扬声器应按音圈阻抗的数值,接到各线间变压器次级阻抗相适应的抽头上。
计算的结果假如线间变压器初级阻抗没有这一数值,而有大于或小于这一数值一倍的抽头时,可以将次级阻抗减小或增加一倍来进行配合。例如上面计算的结果,10瓦扬声器的线间变压器和初级阻抗为750欧,次级阻抗根据扬声器的音圈阻抗为16欧,但现有的线间变压器初级阻抗为500、1500、3000几种抽头,那么就可将750欧加大一倍接在1500欧处,次级则减小一倍接在8欧处。
不同扬声器的装接,其总电力等于各只扬声器瓦数的总和。总电力应该等于或稍大于扩音机的额定输出电力。在稍大于扩音机的额定输出电力的情况下,计算时的依据应该按照扩音机的额定输出电力进行分配,不应按扬声器总电力计算。
监听扬声器的装接
一般较大电力的扩音机,本身大都装有监听扬声器或监听插口。较小的扩音机一般均无此装置。为了使管理人员随时了解播音的工作情况,特别是扬声器距离扩音机较远时,就很需要加装监听扬声器,以监督扬声器的工作情况。一般装接的监听扬声器多为永磁纸盆扬声器,音圈阻抗数值较低,需要串联一线绕电阻后才能接到扩音机上。此串联电阻R的阻值可由下式求得:
R≈P\(_{0}\)r0P
r\(_{0}\)为监听扬声器的音圈阻抗, P为监听扬声器的瓦数,P0为扩音机的额定输出电力。
设有一30瓦扩音机,需要接一3瓦监听扬声器, 扬声器的音圈阻抗为4欧,求所串联之电阻为多少欧?代入公式
R≈\(\frac{30×4}{3}\)=40欧
即将此一监听扬声器按其音圈阻抗数值经串联一只40欧线绕电阻后接于扩音机输出变压器0—4接线柱上。此串联线绕电阻器之瓦数一般应大于监听扬声器瓦数一倍。上例线绕电阻的瓦数应不低于5瓦。
代负荷器计算法
在扬声器的总电力小于扩音机的额定输出电力时,为了保障扩音机的输出变压器及功率放大电子管的安全;为了不致使扬声器过负荷而损坏,往往用线绕电阻来代替扬声器的负荷,以保持输出电力与负荷之间的平衡。这只线绕电阻就称为“代负荷器”,它的阻值R可由下式求得:
R=P\(_{0}\)R0P
P\(_{0}\)为扩音机的额定输出电力,R0为扩音机的最高输出阻抗,P为所要代替的扬声器瓦数。
例如100瓦扩音机一部,最高输出阻抗为500欧,现只按50瓦扬声器,尚余50瓦之输出电力,需接一代负荷器。求此代负荷器的电阻值。代入公式:
R=\(\frac{100×500}{50}\)=1000欧
即:将一1000欧线绕电阻接于扩音机最高输出阻抗0—500两接线柱上。上式只适用于各扬声器均自扩音机最高输出阻抗端上接出的情况下。致于相同扬声器装接时,如需加接代负荷器,则可比照相同扬声器装接法计算其电阻值。
代负荷器的瓦数一般应大于所需代替的瓦数一倍左右,以策安全。
除了在固定的场合下可以使用代负荷器以外,有时为了控制某一路扬声器群的工作情况,例如要某一路扬声器播音而另一路不播音,则仍旧常用代负荷器来加以控制,这样可以随意使某一路扬声器工作,另一路扬声器不工作,而不致造成扩音机和扬声器的损坏。(金风)