利用无线电波传播声音方法有两种,一种是调幅广播,另一种就是调频广播。调频广播就是播送出去的无线电波的频率是按音频电压大小成比例的变化。调频波形如图一所示。因而接收调频广播,就是要设法从像图一的调频波中检出原来调制的音频讯号。

调频检波原理
调频接收机和调幅接收机最主要的差别在于检波方式的不同,以下是几种调频检波方式的原理:
1.斜率检波 “斜率检波”就是利用谐振曲线的倾斜部份进行检波,我们知道并联谐振回路两端电压U和频率f关系如图二的曲线形状。f\(_{0}\)是谐振频率。由图二谐振曲线上可看到当频率由f1增加到f\(_{2}\),电压U将随着减小;当频率由f1减小到f\(_{3}\)时,电压U将增大。也就是说加在并联谐振回路两端的讯号,当频率改变时,回路两端电压U的振幅也按比例改变。这样就由频率按正弦波变化的调频讯号得到振幅按正弦变化的讯号(假设谐振曲线aб段是直线的或近乎直线,如图二所示)。利用这种作用就能达到调频讯号检波的目的。检出来的讯号失真, 决定于谐振曲线倾斜部份的直线性程度,这就是最简单的调频检波方法。

2.相位鉴频器 这种鉴频器线路如图3所示,使两个谐振回路(L\(_{1}\) C1,L\(_{2}\) C2)调谐在同一频率(中心频率)。电容器C\(_{0}\)容量很大,对输入的高频(调频)讯号相当于短路。由感L3接在L\(_{2}\)的线圈的中心,它对输入高频信号起阻流作用。电容器C3、C\(_{4}\)电容量一样大, 它们对高频阻抗很小。E1是输入调频讯号电压通过C\(_{0}\)加到Л1和Л\(_{2}\)的屏极;E2是由初级回路感应的电压,加到Л\(_{1}\)、Л2屏极上的是它的一半。因此,加在二极管Л\(_{1}\)、Л2屏极上的电压是E\(_{2}\)的一半和E1的合成值(不是单纯电压大小的相加)。当E\(_{1}\)的频率和双回路谐振频率一样时,E1和E\(_{2}\)相位相差90°,使加到二极管Л1和Л\(_{2}\)屏极上的电压EA和E\(_{B}\)相等。由于负载电阻R1=R\(_{2}\),所以流过电阻R1和R\(_{2}\)的电流I1和I\(_{2}\)也相等,I1和I\(_{2}\)方向相反互相抵消,因而CD两端电位差U= =0。当E\(_{1}\)频率变化得和双回路谐振频率不一样时(即偏离中心频率时),E1和E\(_{2}\)之间的相位差不再等于90°,因而使加到Л1、Л\(_{2}\)屏极上的电压不再保持相等。当EA小于E\(_{B}\)的时候输出电压U=对地呈负值;反之E\(_{A}\)大于EB,U\(_{=}\)呈正值。E1的频率偏移愈增大,E\(_{A}\) 和EB大小相差也就愈大,不论U\(_{=}\)正负如何它的幅度也就愈大,这样也就达到了从调频信号取出音频变化信号的目的了.频率偏移和U=的关系如(图5)曲线所示。图4中所示曲线一般在频率偏移Δf=100千周以内可能保持直线,因而这种鉴频器能获得高逼真度的音频讯号。



图5所示的线路也是一种相位鉴频器,图中二极管Л\(_{2}\)的接法和图3相反,线圈L3一般小于L\(_{1}\),C5很大一般在4微法以上。音频电压在E,F两点间形成,由于R\(_{1}\)C5时间常数很大,在音频周期内cd两点间电位可看成恒定的,因而E、F两点间电压大小仅决定于加在Л\(_{1}\)、Л2上的两个电压的比值(这种鉴频器也叫做比律鉴频器),也即主要决定于输入讯号E\(_{1}\)的频移,而和E1振幅变化关系不大,所以这种检波线路本身就已具有比较好的限幅特性。
3.利用微分电路鉴频 当调频讯号经过RC微分电路形成—系列脉冲, 脉冲间距随讯号频率高低变化,脉冲间距小则分量大,形成图6的虚线所示交流分量。

调频接收机
在了解调频检波原理后,就可以利用这些原理设计不同类型的调频收音机。和调幅收音机一样, 可以做成超外差式,起再生式或其他型式。
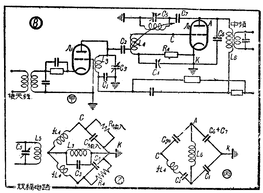
1 超外差式调频接收机的方块图如图7所示。普通超外差调幅收音机采用的高放和变频线路,调频收音机也可采用。为了得到较好的效果,很多是采用图8的三极管变频线路(双桥电路)。三极管Л\(_{1}\)是栅接地高频放大器,三极管Л2则同时担任本地振荡和变频。图8(甲)的线圈L\(_{5}\)是本地振荡回授线圈。Л2线路可画成图8(乙)(丙)两个桥路。当图8(b)的电桥平衡时,L\(_{5}\)C5的本地振荡不会加到L\(_{3}\)C3回路去。图8(丙)的电桥是用来平衡Л\(_{2}\)的极间电容。


对调频收音机的中频放大器有不同于调幅收音机的要求。由于广播调频讯号的最大频移达到50千周,因而中频通带需要很宽,约210千周左右,所以中频要求很高,一般中频要到10兆周。
为了消除寄生调制和干扰,一般调频收音机要求在检波这前对中频讯号进行限幅。一般采用栅流限幅电路图9。当U\(_{入}\)增大时流述电阻R的直流成份也增大,因而限幅管栅极上的负偏压绝对值也逐渐增大,使得限幅管屏流的一次谐波幅度增长缓慢下来,因而U出的增长也缓慢下来。

超外差式调频接收机的检波器可采用图3和图5的相位鉴频器电路,此外也可采用斜率检波,线路接法和普通调幅收音机一样,斜率则是利用中频谐振曲线的倾斜部份。中频的选择同前面讲的一样。
2.超再生式调频接收机(请参看本刊1958年第8期“超再生工作原理”一文),超再生检波部份的线路和调幅超再生线路电路一样(参看图11)不同的只是调频检波是用斜率检波。至于高放和低放则可按需要设计和调幅收音机一样。

3.其他型式,根据以上提到的调频检波原理,超外差接收和超再生接收原理,可以组成其他型式接收机,例如先把调频讯号差拍成中频,然后再对中频进行起再生检波。
由于广播调频发射机中人为地提高高音频调制电平,因而调频收音机检波后的音频系统内,需加入相应的衰减电路,简单线路如图10所示。时间常数RC通常等于100微秒。(广播科学研究所 陈其津)
