给工厂、农村及学校中的少年无线电爱好者
开展群众性业余无线电活动,对于社会主义建设和保卫祖国都有着重大的意义。国家的国防体育组织和广播事业管理单位,对这种活动都给予十分的重视。中共中央在对于体育工作的批示中,曾指出要大力开展群众性的体育运动,这里面也包括着群众性的无线电运动,成千上万的无线电爱好者将被吸引到这种大规模的运动中来,不断提高技术,做一名无线电事业的后备兵,把他们自己的爱好和劳动生产、国防建设结合起来,为生产并为国防建设服务。为了便利广大的爱好无线电的青年们在无线电俱乐部、小组里学习或个人进行学习,本刊从今年起,特开辟一个“无线电爱好者实验室”专栏,以帮助他们按照这些实验材料,把学得的无线电技术理论,加以实践,或者边学习边实践。这个专栏以初学的无线电爱好者为对象,渐进地帮助他们走行无线电接收、放大、自动控制、电子管、半导体、光电、热电元件等电子器件的应用的实验。这些实验中所涉及到的许多理论知识问题,请读者们参考本刊从1955—1956年刊载的无线电常识讲座、1957—1958年的收音机制作讲座,今后陆续刊载的常识性文章、及本社出版的无线电受好者读本等类似的通俗无线电书籍。
怎样动手做实验
科学技术的实验是为了在实践中得到理论的证实,进一步提高认识,从而再回到实践中去指导实践。学习无线电技术,得先理解这些具体的技术内容是什么。我们在动手实验之前,最好先将有关的某一个原理懂清楚(例如找一本书精读其中有关部分或章节)。然后按照专栏指出的步骤和提示做实验,并且边实验边思考,回忆书本中讲的道理、概念和术语。实验完后进一步再深入思考。无线电小组可进行集体讨论。
实验专栏是为许许多多爱好者而写的,所提的材料是比较一般化的,读者们可根据自己的情况加以补充,也可以与自己的学校物理课或劳动生产结合起来,那样将更有意义。
布置一个小小实验室省-
适当你自己或你们的无线电小组决定要按本专栏做些实验时,那么就可先布置好一个小小实验室(也就是你自己住的房间里)。在这里摆好你的工具、仪器、另件、备查用的参考书籍及其他用具等,在有市电供应的城市里,可装一套电源开关,插头和保险丝等。这个小小实验室,一开始不要求它多么完善,可以在学习中一步步补充设备逐渐完善起来。
预备好一块工具板,这块板上,有这样一些工具:
首先要预备的是一把尖嘴钳①,这是装卸螺丝帽、弯折接线、焊接时夹线头、另件等时不可少的。一把宽口的中号起子②,口宽约5公厘长150公厘,这是上、下另件的大螺丝钉用的。一把小起子③,口宽约3公厘,长约100公厘;这是上、下另件安装螺丝、旋钮轴套螺丝、调整半可变电容器等小号螺丝用的。一把剪线钳④,这是剪断较细铜线、接线及线头上的尾巴用的。一把克丝钳⑤,这是用来装卸大螺帽、剪断粗铜线和夹持大另件用的。一把50—75瓦的电烙铁⑥,这是焊接另件等必用的,在没有市电的地方可用一把小形火烙铁⑦。此外可预备一把小的粗纹平钢锉⑧,以便锉小另件、开底板孔或锉烙铁头用。
如可能时可逐步添置一些工具,如一把钢锯、一把手摇钻(附钻头)、一根圆锉、一把小锤、一把电工刀、一根冲头、一台简单的绕线机、一套小套筒扳头、一个穿眼刀(在底板上打洞用的)等。当然实验室用的工具还有很多很多,不过我们这个小小实验室在开始时能预备以上这一些就已经差不多够用了。这些工具可在工具板上一一排列整齐,每件工具都有一定的地位,以便使用时容易取拿。
熟悉一些最常用的另件
无线电的实验常常是由许多另件组成的。这些另件有各种线圈、变压器、电阻、电容器、电位器、电子管、半导体、整流器、开关、听筒、话筒、喇叭……。
下面先只谈谈几种用得最多的另件。其他零件将在以后的实验中随时再详谈。无线电实验用得最多的另件要算固定电阻和电容器。常用的固定电阻有炭质电阻、炭膜电阻、线绕电阻等。炭质电阻系用胶木粉及细石墨粉太制成的售价很低廉,在一般电路中使用问题不大,这种电阻的阻值多用色标表示,这是用彩色漆涂在电阻一端的三条色环。颜色分十种,代表数字如附图。第一色环表示第一位数,第二环表示第二位数,第三环表示第二位数后所应加的零的个数(即倍数)。炭质电阻在制作上误差很大,分三级(各用颜色标出)。炭膜电阻系在瓷管上被上一层炭膜刻槽制成,质量较好,炭膜电阻的阻值多用数字直接标出,单位一般有Ω(欧)、KΩ(千欧),MΩ(兆欧)三种。电阻常标有容许最大功率(如\(\frac{1}{4}\)W,1;2W,1W2W……等)。


第二种常用的另件为固定电容器,一般有纸质电容器、云母电容器、陶瓷电容器、电解电容器等几类。
纸质电容器是用两层薄铝膜中间夹薄电容器纸作介质卷绕而成,外面用滑石粉、火漆或玻璃管、沥青、两层瓷管、塑料等封住。外壳上一端常标有粗黑线,表示那一端的接线是联到外层的铝膜,在电路中这一接线常常是接地的。
云母电容器是用一片薄云母作介质两面被上银,分别焊出引线,再用胶木压制封成的。这种电容器大都用在电路中质量需要高的地方。
陶瓷电容器是由特需高频陶瓷作介质,两边喷银后焙烧而成的。型状有各种各样的,一般小型无线电仪器中用的,为管形、圆片形的。外面涂有各种颜色的绝缘漆,颜色表示各种电容器的温度系数。电解电容器是一种体积小电容量大的电容器。电解电容器是在两片铝条间夹以绝缘纸卷绕;用化学溶液浸渍经电处理而成。电解电容器只能用在直流电路上,用时并要分正负极,在外壳上标有正负端,接时不能错接,否则电容器就会失效。
固定电容器的电容量数值常常用数字标示在电容器外壳上。常用单位有两种:一为微法,也常用兆分法、m.f.d、MFD、MKΦ、μf.等字样表示,一为微微法,也常用兆分兆分法,m.m.f、ПФ、μ.μ.f.、Pf.等表示;此外尚有一种毫微法,用nf表示,一般使用的不多(民主德国及捷克斯洛伐克等国家产另件中常用)。
云母电容器有的用色标点表示电容量数的,目前用的不多,这里不多谈了。
固定电容器的绝缘介质,对各种电压有不同的忍耐程度,超过规定的电压,绝缘物就被打穿失效,这电压叫做工作电压,一般在电容器外壳上都标示出来(如2OOV,600V等。)用时要按电路中需要选择。
电容器、电阻的电容量电阻数值及符号表示方法在一般无线电技术书刊上,目前尚无统一标准,为本刊读者便利起见,本刊自1959年第1期起,一律按本刊暂订的方法表示,请读者参照1958年第二期所载的这种方法说明。
其他可变电容器、电位器、可变电阻等及其他另件等,这里就不先谈了。
自己做一套简单测试仪器
在以后我们进行的若干试验中,许多地方必须借助于一些测试仪器。通过这些仪器才能使我们更容易观察到实验的结果,或理解到由实验得出的结论。在某些实验当中,本来需要配备一些专门的,比较精密的电表仪器。这些电表仪器大都是构造复杂,价值高昂,不是一般爱好者所能自制或购置的。但是无论如何,我们必须起码具备几种构造简单,可以自制的试验仪器,才能满足我们实验上的需要。
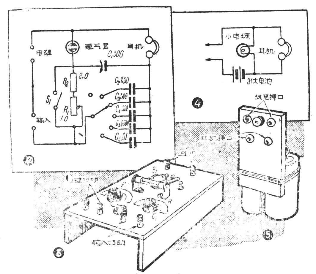
这里谈到的这些必需的简单测试仪器中,首先是一只由耳机、小电珠、小电池和试笔组成的简单组合检查器。它的电路如图4。这组合检查器的构造形式可由制造者按自己的能力和喜爱来决定。最简单的方法是把检查器安装在一块绝缘胶木(隔电板)小板上。在板上安装上两个用来连接试笔导线的插口,两个准备耳机插用的塞孔,和一个小电珠座(可以用一根0.8公厘粗的裸铜线绕成一圈至一圈半的螺旋线圈来代替),然后将电池串联焊进电路中去,并把小胶板用线捆牢在电池上如图。这个检查器可以用来试验电路中许多元部件的断通路,还可以检查电容器的好坏。

其次是一只用氖气管做成的多用试验器。如图2。它是由一只试电笔上用的小氖气管、一只可变电容器、一只电位器,和几只固定电容器组合而成。它可以代替由表作通断测试器。把要试的元件接在“电键”地位上,在“输入”端接上90伏直流电压,可以测试高低周率扼流圈,变压器线圈以及1兆欧以下的电阻。它还可试电解电容器。又可接上电键和听筒,成为一个电码练习器。
我们也可以自制一具简单的电表。像本刊1958年第2期“自制通表”一文介绍的一只电表,也是很有用处的。另外我们还可自己装制几种较为复杂而更有用的仪器,如利用调谐指示管代替电表作成的电子管电压计等,以后将再谈到。
谈谈焊接
在一切实验和收音机制作实践中,接线是最基本的操作。在无线电机件中,一切接线都要求直而短,两根导线需要拧接的时候应该先将两个线头绝缘层刮干净拧在一起。为了保证接线的电气接触可靠畅通,接头地方必须焊接。焊接看来像是极简单的工作,但是要焊接得好也是一项技巧,是通过多次实践的结果。焊接用的焊料是锡。纯锡表面呈银灰色光泽,锡条在折弯的时候会发生“沙沙”脆折声音。纯锡价格较贵,在无线电焊接中用的多是锡铅合金,锡铅各半的合金溶点在200℃上下色泽较暗,但焊接后牢固性相同。
焊接的工具是烙铁。无电源的地方用火烙铁,是用一块紫铜接在一根铁柄上构成,铜块一端成尖形,是烙铁的工作部分。这种烙铁应该在无烟的煤炉里加热,烧时它的尖端不应埋在火里,避免弄脏或氧化。烙铁烧得是否到达正常灼热程度是一项经验。烧得不够热只能使焊料成糊状,不能焊接。烧得过火会使烙铁头蒙上一层氧化层,而被“烧死”,也不能焊接。在有电源的地方可以很方便的使用电烙铁。它的构造是由一根紫铜棒烙铁头插在一段铁管里,铁管被云母层包卷着,云母层外面绕有镍或铬合金阻力丝,通过电流使铜棒加热。使用时和火烙铁一样,也有“火候”,烧得太久,也会烧死。烧到一定时间应该把电源暂时断开,停止加热,让它休息。
焊接工作中除了烙的和焊料以外,还需要备有焊药。这是一种接合剂,作用是在焊接进行中,使被焊接体在加热时避免氧化而溶化结合得牢。焊接无线电设备的焊药要求是非酸性或无腐蚀性的。最适用的是松香。可以将松香研成粉末,装在瓶里,加上酒精,制成饱和溶液,用时用小棒蘸起涂在焊接体上。焊接以前,烙铁应该预先“上锡”。就是新的或已被烧死过的烙铁,加热前应该将铜头打错见光,清除了附着的氧化物,然后加热到适当程度时,在铜头上涂些焊药蘸满喂饱焊锡。烙铁火候适度的标志是能使松香沸腾而且松香和烙铁接触时会冒出较多的烟来。
在焊接工作中,被焊接的导线或另件焊接处必须利磨干净,最好也能像烙铁头一样,先行上锡。如焊接体是两根硬直导线,它们应当彼此重迭紧靠在一起,涂上焊药,用沾满热锡的烙铁加热,至烙铁头上的焊锡流开填满焊体之间空隙为止。这时取开烙铁,注意在这几秒钟内不要使焊接另件离开原位,至焊锡凝固四面包住焊接点时,焊接工作就算完成。当两根导线要成直角焊接时,应在一根导线上一端折弯,然后与另一根导线连接。在一切情况下都应使焊接体接融尽可能大一些。焊接的良好技术在于:烙铁烧得不嫩不老,被焊体能得到适当的热度,这样才能用锡少焊接牢,焊锡不是成团而是均匀的分布在焊接体上。(兆光 青雨)