(广州无线电厂出品)本机是三波段超外差式交流收音机。收音效能良好,发音宏亮,音调柔和,除音量调节外,还有音质调节部分,并可接用电唱机播放唱片。其主要性能如下:
电源:110伏或220伏
频率范围:短波1 6.4—18.2兆周
短波2 2.7—6.8兆周
广播段550—1600千周
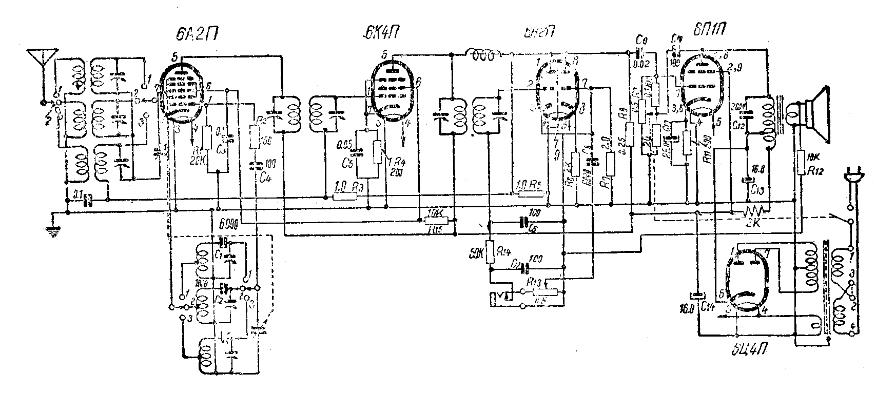
用管型号:6A2П,6K4П,6H2П、6П1П,6Ц4П。
耗电功率:40瓦。


红棉牌252型五灯交流收音机
(广州无线电厂出品)本机是三波段超外差式交流收音机。收音效能良好,发音宏亮,音调柔和,除音量调节外,还有音质调节部分,并可接用电唱机播放唱片。其主要性能如下:
电源:110伏或220伏
频率范围:短波1 6.4—18.2兆周
短波2 2.7—6.8兆周
广播段550—1600千周
用管型号:6A2П,6K4П,6H2П、6П1П,6Ц4П。
耗电功率:40瓦。

