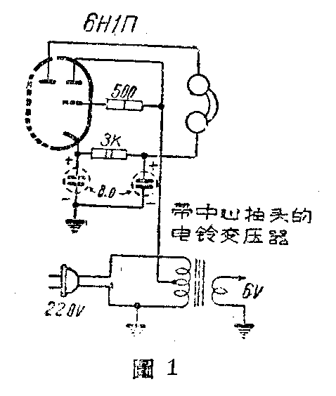
利用复合管的交流单管收音机,都是用它的一个三极部分作再生检波,另一个三极部分接成二极作电源整流。由于电子管构造的限制,整流电压一般不宜过高,即在90至110伏之间,才能确保安全。所以电源变压器的次级最好能有一组100伏的高压线圈。这种变压器市上不易买到。这里介绍两个用电铃变压器来代替的方法。
1.有些市售220伏电铃变压器初级线圈有中心抽头,这种变压器可以按照图1接线。这样利用初级线圈的一半,取得110伏高压进行整流。

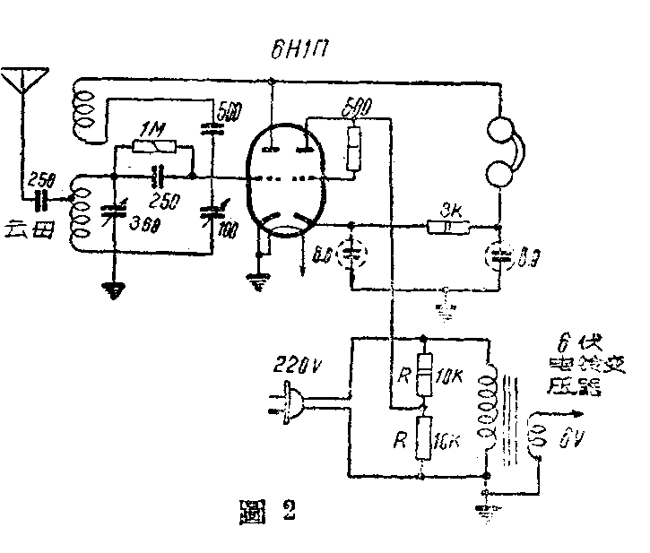
2.如果变压器初级只有220伏一种接头,也可以利用电阻分压,来取得110伏的整流电压。接线如图2。分压电阻R可用一般炭质10K2瓦型的。在使用中如果电阻太热,可以采用瓦数大一点的。这个线路适用于丝极电压是6.3伏的各种双三极复合管,如6H1П、6SN7等均可。以上接法,收音机底盘带电。底该注意参照关于底盘带电收音机的使用方法使用。 (戴士弘)
