本刊上年第10期刊登的“一架赶上五管的二管超外差式收音机”,全机结构很经济,值得推广。但其中有些地方还可以稍加修改,使收音更臻完善。

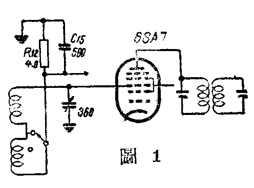
1.6SA7讯号栅高频傍路电容器C\(_{15}\)容量为500,照原图接法(图1)C15与双连调谐电容器成串联,影响调谐作用。C\(_{15}\)与双连可变电容器串联时最大容量为:
\(\frac{500×360}{500+360}\)=209.3微微法
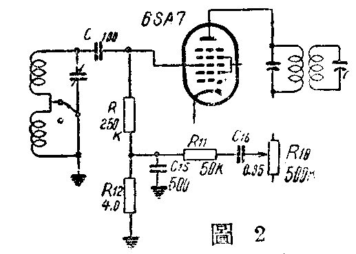
此时700千周以下的电台就收不到。必须将C\(_{15}\)加大至0.01微法,调谐范围才不至受到影响。但加大C15后又影响到音频部分。可以照图2改成并联馈送,才能既不影响高频电台的收听,又不影响音频放大。原另件数值不变、另加电容器C及电阻R。

2.6SA7屏极电阻R\(_{3}\)10K可适当增至30K—40K。此时屏压约为160—130伏,不致影响变频,但可提高音频增益。
3.6B8阴极高频傍路电容C\(_{12}\)0.1可以省去不用,因阴极已有低频傍路电容C1150.0并联,可以说对高频不存在电阻。
4.6B8屏极高频傍路电容器C\(_{14}\)500可适当加大至0.006—0.01改善音频部分音调,使低音部分得到改善,并使高频亦得到更好傍路。(刘国梁)