北京电子管厂最近生产的6И1П三极七极管是一种应用范围很广,效率很好的收音电子管。在作变频管使用时,效率比6A2П、6SA7、6K8等都好。在作中放和低放使用时,与一般四管超外差机(如北京牌四管机)用6Б8C或6B8型管作中放兼作低放的来复式线路相比,效率也优越可靠得多(参阅本刊上年第9及10期介绍)。
现在介绍一个有两只6И1П装成的五管超外差式收音机线路如图1,其中电子管有一只是欧洲式的EBL21型双二极五极功率放大管(锁式座,接线见图2,市上现有捷克斯洛伐克或匈牙利产品可购)。这个线路所有电子管主要的都是复合管,五管机实际相等于一般使用6SA7、6SQ7、6V6等一套电子管同样效能的六管机。本线路因有迟延式自动音量控制、电压负回授和电子调谐指示管,比较完备,效率也比较好。


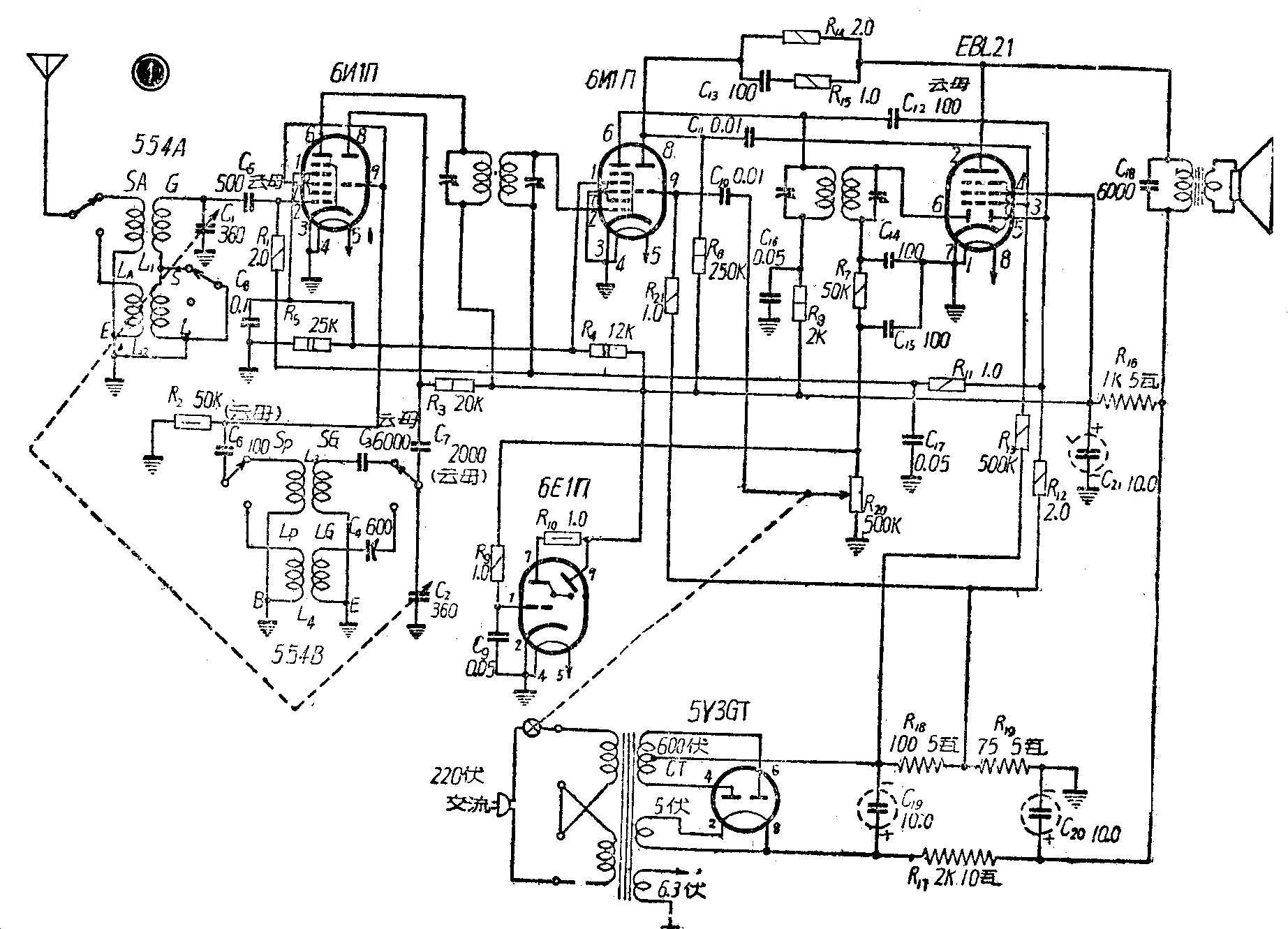
线路说明
1.本机变频级是由一只6И1П担任本地振荡和混频工作,振荡回路采用美通554型屏栅分调式的线圈。因为管内三极部份是独立的,采用调屏调栅的振荡回路,较之用553型三点式回路,容易取得平稳的振荡,特别在短波段内,不容易出现哑点。按554线圈的原来设计,是把振荡的调谐电容配置在栅回路中的,为了振荡更平稳可靠,现把调谐电容移在屏回路里。即将554B线圈反接。将原注为G的接到屏极上;把原注为P的接到栅极上来。实验证明,这样接法,振荡力强,因而收音机的灵敏度也相应增高。554B线圈的G圈长短波部份是连接在一起通地的。为了不拆动线圈,所以振荡屏极电压是用并联输入。另外混频部份栅极自动音量控制电压也用并联输入,这样原554A线圈可以在L端加接一个焊片,直接牢固的安装在底板上。R\(_{1}\)用2兆欧,是要提高一些收音灵敏度,用1兆欧或500K也可。
2.本机使用另一只6И1П担任中频放大和检波后的第一级低频放大,线路没有特殊的地方,管内隔离完善,所以高低频互不干扰,工作情况很好。中放输出回路中加有R\(_{8}\)C16组成的退偶网路,是为了防止各管乙电共用一个电源可能引起偶合而产生低频振荡。在个别情况下,这个网路不一定需要,可以试验决定。6И1П七极部份作高频或中频放大时,性能和6K4П相似,不需要有固定栅负偏压,所以阴极可以直接接地。但是三极部份作低放使用时最好是把栅漏电阻阻值降低到1至2兆欧,并在栅极上加给-2伏的固定负偏压,才能得到比较好的保真度(参阅上年十月份本刊“6И1П型电子管的应用”一文)。这里是把栅漏用到1兆欧,另在电源乙-回路中串联电阻R\(_{19}\)取得约为-2伏的负压,供给三极部份使用。
3.EBL21是由一个双二极部份和一个五极部份构成的功率放大复合管。双二极的两个小屏在五极部份的下边,构造简单,但内部隔离很好。五极部份与6F6相似,负荷电阻为7000欧。这种电子管原为配合ECH21型三极七极管使用而设计的。在这里用来配合6И1П作检波、自动音量控制和功率放大用非常适宜。在这里检波和自动音量控制是由双二极的两个小屏分别担任,各尽其能。一般流行的五管机为了简化线路多把检波和自动音量控制并在一起,这样外来的弱信号和强信号都受到控制,所以灵敏度较低。现在用一个小屏担任检波,另一小屏单独充任迟延式自动音量控制,即在小屏上加给-2伏的固定负压,使外来2伏以下的弱信号不受控制,而在这一限度以上的强力信号才受到控制,这样收音机的灵敏度就有所提高了。这个-2伏的负电压是和前一6И1П三极部份所需要的负压一同由R\(_{19}\)处取得。五极输出部份的屏回路中加有R14R\(_{15}\)及C16组成的电压负回授网路,以减少输出波形失真,改善音质。输出变压器应该配用初级阻抗为7000欧的,经实验一般配合6V6管的输出变压器也可代用。五极部份需要有-6伏的栅负偏压,在这里是由整流电路中R\(_{18}\)R19串联相加取得的。
4.本机同时试用了国产新型调谐指示管6E1П。这个电子管比常用的6E5灵敏,阴影闪动幅度大。指示管所需控制电压一般接法是由自动音量控制电路里接出来。本机自动音量控制是迟延式的。如按一般接法,结果只有强信号才起作用,收弱信号指示管阴影将不能闪动。现将控制电压从检波级直接过来,这样在收短波段时,较弱的信号也能很灵敏的闪动。
一个建议
近年来我们的生产单位连续设计生产了多种多样类型不同经济耐用的收音电子管,使国产收音机的质量提高。直接间接有利于提高我们劳动人民文化生活水平。在目前积极建设社会主义,一天等于二十年的情况下,摆在无线电工业面前的一项任务,就是如何制造出更多更好价廉物美的收音机,来满足广大劳动人民进行学习和文化娱乐的需要。在电子元件中,无疑地我们是要生产更多半导体晶体管来逐步代替现在习用的真空电子管。但是要做到半导体大量生产而且成本和售价要比现行的电子管低,却还不是短期内可以实现的。在这过渡期间我们还必须从简化和提高电子管的功能效率方面动脑筋打主意。北京电子管厂最近的收音电子管中品如6Г2П和 6И1П都是复合式管,可以一物多用。在生产中采取这样的方向是符合我们多快好省建设社会主义总路线的原则的。因此在6И1П大量生产的同时,还应该设计生产一种像EBL21这一类型的П式双二极五极功率输出管。这样与6И1П配合起来,便可以制造出质量高、成本低适合广大劳动人民使用的廉价三灯超外差式收音机来。(黄小芹)