上期介绍的检验方法,对于比较复杂的超外差式收音机是不能解决问题的。要想把新装的外差式收音机搞得合乎理想,必须依靠一些基本的测量仪器来进行测定,虽然有些很有经验的爱好者不用仪度也能校好一具外差式收音机,但必竟不是每个人都能办到的。一般地说,不靠仪器的校验只限于“定性”——好或不好,是不能搞得尽善尽美的。
对于测试仪器来说,大部分的爱好者都是不具备的,为了解决较高级的收音机的校验,下面准备结合电路测试,给读者介绍一些土仪器的制作方法,它们的精密度虽比不上正规仪器,但实用上已够满意。
收音机各部分电压的测定
当你的收音机全部装好后,首先要测定的是电源和电子管的各极电压,这些电压是:i、高压整流器输出的直流电压,ii、放大管的屏压、帘栅压和阴极电阻上的偏压,iii、各管丝压,iv、自动音量控制电压等等。有些爱好者备有普通的多用电表,这类电表可用来测量电子管的屏极和丝极电压。如果你手头没有合适的电表,也可以用试电笔来试验一下收音机各部分的乙电高压是否正常。
因为在正常情况下,电子管各极电压不会有较大的上下的,用试电笔接角管座上带高压的灯脚,试电笔中的氖管就会发光,光的亮度表示电压的高低。如果要试电子管是否工作(有没有屏流和帘栅流),可用试电笔接触放大管的帘栅极看是否发光,记下氖管的亮度,再拔去受测的电子管,看氖管亮度是否增强。如果亮度增强,电子管工作是正常的,否则就是不工作。这是因为电子管正常工作时一定有帘栅流,这电流通过帘栅降压电阻使帘栅电压降低(没有帘栅流就不会有电压降),因此用这个方法可以判明电子管的工作情况。这方法也可用来测定收音机自动音量控制电路是否正常,只要把试电笔接触中放或高放管的帘栅极。(6K4П或6SK7的第6只管脚),调谐收音机到一个比较强的电台,如果自动音量控制起作用,氖管的亮度就会增加,原因是自动音量控制起作用后,放大管的屏流和帘栅电流因栅负压的增加而变小,帘栅电压上升的缘故。
试电笔的构造如图1,它不但能指示直流电压的存在,而且还可以约略测知电压的高低。

图1的氖管电压指示器可装在旧的塑料钢笔杆内,它能测70—3000伏的直流电压。氖管每秒闪光一次代表100伏电压,例如每秒闪光10次,表示电压是1000伏。电阻倒不一定用22兆欧,可用不同数值或若干只电阻串联在已知电压上试一下。70伏以下的低压,这个指示器的氖管不能发光,非用电压表测不可。
爱好者用的小型多用电表内阻不高,每伏约1千欧到2千欧,测量高电阻的电源,例如帘栅压和自动音量控制电压时误差很大,甚至测不出。如果你有一具电子管电压表就可以解决问题。只要有足够的另件,试制一具电子管电压表并不困难,它可以帮助你测量许多有用的收音机性能参数。
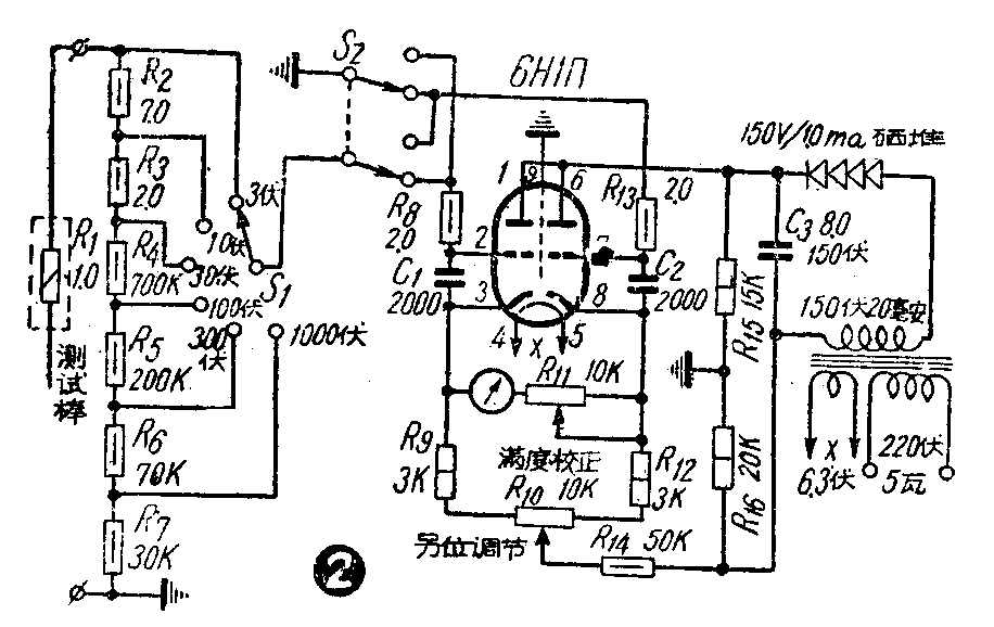
电子管电压表是利用电子管的放大作用来测量电压的,它的内阻可以非常高,因此可以测量高电阻上的电压降,例如自动音量控制电压,栅负压等等。电子管电压表另外还有一个好处,那就是不容易因误用而烧坏。图2是一种容易仿制的电子管电压表线路。

图中0—200微安表,要自己画一个0—30和0—100等分分度的表面。校正时可将S\(_{1}\)置于3伏处,用干电池2节串接于试捧与地之间,旋动R11至满度(接电池前先调整R\(_{1}\)0使表针指在零点)。
中频放大级的校准
中频放大级是外差工收音机的主要放大部分,它是否配谐得正确直接影响收音机的灵敏度。买来的中频变压器里都经过校准,可是由于使用的放大管和接线等等关系,常常使它处在不完全配谐状志,这就大大降低了收音机的灵敏度和选择性。可见校准中频变压器是校外差收音机的一个重要部分。



校准中频变压器最好如图3用振荡器和输出电表,中频振荡器的线路如图4,输出电表的线路如图5。图4里的L是一个和校验收音机的中频频率相一致的中频变压器,将L里一个线圈上的电容器拆掉。装好后如不起振荡,可将任一个线头反接。备有普通的交直流多用电表,图2的电子管电压表或收音机上已装有电眼的,就不必再做输出电表。
有了中频振荡器,校准中频变压器就非常简单,只要如图3把振荡器的输出用一根短线和收音机中放级作疏交连(也可以直接接在天线输入接线柱上,将调谐电容完全旋入到最低频率,利用混频级作交连),旋动中频变压器的电容器或铁芯至收音机输出最大,校准工作就算完毕。校准时应该把收音机的天线除去,并将天地线柱互相用铜丝短接,以免除外来广播信号的干扰。校中频的工具——旋盘不能用金属的,以免人体作用的影响,这种工具可用旧牙刷的骨头柄或骨筷等绝缘材料按所需形状尺寸用锉刀自制,用起来很合用。用作调整时输出强度指示的电表,度该放在灵敏度最高的位置。用电压表的,表的指针最好是当中频完全校准时指在满度的80%左右;用氖管的应使氖管刚能发光。经过这样调整的中频是非常准确地配谐在工作频率的中心。有些中频变压器有较宽的通带,在通带中,频率变化时衰耗的变化很小,比较不易调至中心频率的谐振点;在这样的情况下,可以在旋动配谐电容或电感时先找出中心频率两边衰减相等的两点(图6的ab点),在ab两点当中的一点就是需要的中心点。其它校准方法已在1958年第3期讲座中说明。

混频级的校准
混频级的校准比较麻烦,比较理想的校准方法是:用“信号发生器”。信号发生器是一种特殊构造的全波振荡器,它能正确地输出从1微伏到1000微伏强度的100千周到30兆周中的任何一个频率,有了它就可以不必依靠广播电台来进行收音机各个波段的测量和校准,可是这种仪器代价很贵,一般爱好者不可能置备,这里就不详细说明了。
目前自制收音机所用的线圈大都是购买的现成品,它们在厂中都已经过配准。如果选用的可变电容器符合要求,就只需稍微校准。校准方法在1958年第3期讲座里已有详细说明,不再重复。这里只想说明一下在校验中所常遇到的某些现象:一种现象是收音机调谐电容器全部旋进或接近全部旋进时,喇叭中发生“浦浦”或“卡卡”的狂叫,这种毛病是由于振荡级的垫衬电容器容量太大(旋得太紧),使混频级的频率接近中频变压器的谐振频率,因为自动音量控制或其它原因产生了间歇振荡,调高些混频级的最低工作频率就可以避免。另外一种现象是当调谐度盘旋到收听电台附近时,喇叭中发出像鸟叫一样的声音,这是混频管(6A2П或6SA7等)第一检波部分发生振荡,原因是天线输入电路频率调得太低,混频管第三栅与屏极接线太近,改动一下线路排列,毛病就可消除。有时中放级屏栅接线太近也有这种鸟叫声,但这时在度盘上有电台的地方都能听到,不像混频级振荡的叫声只在某几点特别是低频段才产生,因此两者是可以分辨的。
混频级中波段一般需要校得精密些,否则在配谐度盘范围内灵敏度出入很大,甚至很多弱电台不能收到。短波段由于混频级第一检波回路与振荡回路的频率差只是工作频率的一个较小分数,在前面没有高放级的情形下,第一检波回路的选择性很低,因此调谐或“追踪”的正确与否影响收音机的响度不大。买来的线圈如果垫衬电容器数值很接近规定值,都可以满意,只是有两点在装置短波段时要注意:振荡线圈与天线回路线圈的接线应尽可能加以隔离,波段开关最好用分开两片的,检波级与振荡级各用一片,两片中间用铝片隔开。如果办不到,可买三波段单片开关作双波段用,把末档的接触点通地当作隔离。这项措施是防止振荡器输出回输到第一检波回路,降低混频管的放大能力(混频管第三栅,也就是第一检波输入,通常是经近一个高电阻接至自劝音量控制电源的,当振荡电压输入到这个栅极时,它所产生的栅流在自动音量控制电阻上造成很大的负电压,这样就使得混频管的灵敏度大为降低),收不到远地电台。这个现象在第一检波回路偏调到靠近振荡频率时尤其显著,因此第一检波回路的正确调谐,在这样的场合下就很必要。
另一点是可变电容器与振荡线圈应该尽量避免外部的振动,并尽可能不装在喇叭附近,否则在接收强力电台或开大音量时,振荡频率受声音振动的影响,喇叭会发出“拍拍”的振荡声。
检查收音机各级(第一检波至中放)是否正确谐振,可照图7做一个试棒。铜头直径要能插入线圈管,长约1公分,铁芯可用中频变压器或线圈里的磁性瓷芯,用洋干漆胶牢在棒上,测试时先将收音机调到某一个电台,记住声音响度,将试棒一端轻轻插入需要测试的那一级的线圈管当中;如果喇叭音量降低或收音机有电眼管的,电眼荧光张开,再换一头持入线圈管试一下,如果也是远样,说明这一级配谐是准确的。如果铜头的一端放入时声音变小,带铁芯的一端放入时声音变大,表示线圈的谐振频率太高,加大一些配谐电容器的容量或增加一些线圈的圈数;如果情形相反,表示谐振频率太低,需要减小一些配谐电路的电容量或圈数。用这个工具来检验配谐情况是既方便又迅速。

失真度和频率响应
收音机的音频失真程度和整个音频频段的放大是否均匀,决定了收音机的音响质量。这类测量需要比较高级的音频可变振荡器和谐波测定器才能进行,而这两种仪器构造比较复杂,要有相当经验才能制作和运用,这里限于篇幅从略。现在只谈一下在收音机中怎样避免失真和改善频率响应的方法,作为本文的结束。
收音机可能产生失真的部分是从二极检波管到输出变压器的一段电路。二极管一般失真不大,可以忽略,第一低放管如果屏极交连电阻不太大(0.25千欧以下),并且有适当的栅极电阻,失真度也很低。失真的主要来源是强放管,如6ПlП、6V6等强放管在正规的使用情况下,最大输出时的失真百分数约10%左右。家用收音机因音量并不开足,失真度不会超过5%,听起来应该音调悦耳,没有什么尖刺声或难听的音调,不然就是失真太大。可以检查下面几点:i、栅极交连电容器是否绝缘很高(校验方法可将它放在250伏高压上碰一下,停几秒钟后用听筒或喇叭去碰它的两端,能听到很响的咯咯声,就是绝缘良好),ii、强放管的阴极电阻数值是否合适,如有多用电表,可量一下收音机使用时的阴极对地电压, 6V6、6ПlП管应在12—13伏之间,iii、屏电压和帘栅压是否符合或接近于额定值,iv、输出变压器是否太小,它的空气隙是否留出约一张日记本纸张厚的间距,气隙太小很容易失真,太大了低频(低音)不好。关于失真的问题,可参阅本刊1957年第10期“音频放大器漫谈”一文。
编者的话
亲爱的读者,收音机制作讲座从开办到现在,整整两年,这一期是最后的一期,讲座到这里结束。
回忆两年来,你们曾提供不少有关讲座的有益的建议,对讲座内容的改进有着不少的推动和促进作用,也大大地鼓舞了我们和作者把讲座办好的信心。现在趁讲座结束的机会,对于你们和各位作者的热心支持与失怀,表示衷心的谢意。并祝你们在无线电的学习上大踏步前进。(梧)