本机为交流二波段超外差式收音机,能收听国内外电台各项节目,并备有拾音器插口供播放唱片。在温度为-5℃至40℃的环境下能连续使用八小时。
收听频率范围:
波段1:中波550—1600千周,
波段2:短波6—18兆周。
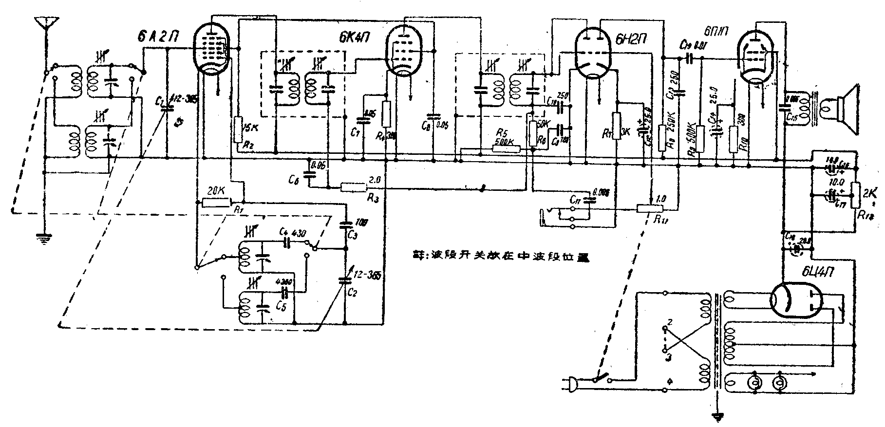
电子管:6A2П 6K4П,6H2П,6ПlП,6П4П。
电源:110/220伏交流市电。
消耗电力:约40瓦。


“157”型五灯交流收音机
——国营上海广播器材厂出品
本机为交流二波段超外差式收音机,能收听国内外电台各项节目,并备有拾音器插口供播放唱片。在温度为-5℃至40℃的环境下能连续使用八小时。
收听频率范围:
波段1:中波550—1600千周,
波段2:短波6—18兆周。
电子管:6A2П 6K4П,6H2П,6ПlП,6П4П。
电源:110/220伏交流市电。
消耗电力:约40瓦。

