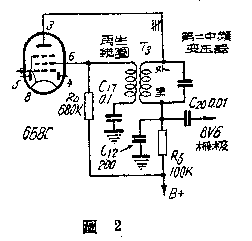
“北京”收音机在边远地区使用,有时感到灵敏度不足。我们在中频放大级加装了一个再生线圈,结果使灵敏度大大的提高了。具体做法是这样的:
做一个纸管,长约一公分,它的内径等于第二中频变压器胶管的外径。在纸管上用0.3公厘漆包线乱绕20至40圈。把纸管套在中频变压器的胶管上(如图1),中间涂上溶解的蜂腊,把它粘牢。线路接法是把再生线圈串联在6БSС管的帘栅级回路里(如图2),以增加帘栅极与屏回路的交连(原机线路见本刊1956年第2期)。


线圈先不妨多绕几圈,使中频级产生振荡。然后逐渐减少圈数,至中频振荡停止为止。如果接上再生线圈灵敏度反而降低,那是再生线圈接反了,底该把线圈接头反转过来。(黄守中)