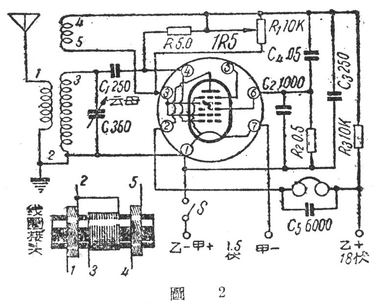
(林达平)这架单管机是由一只七极管担任再生检波和低频放大。电路图如图1所示,电子管用1R5或1A1П, 乙电只用18伏。

此机以帘栅(第二、第四栅)作为检波级的屏极,以振荡栅作为控制栅,当作一个三级管用。七极管的屏极和讯号控制栅组合,作为五极管电阻交连低频放大。
此机的再生检波是用三极管,第二栅距第一栅近,可以用较低的屏压;为了获得稳定的再生,检波级的栅漏电阻接在乙+上。使栅极荷正电,帮助消灭空间电荷,屏压也可以用低一些。
低放级方面,帘栅极处于低放控制栅的前面,如果帘栅极电压调节适当,可以消灭空间电荷(再生级栅极接乙+也有消灭空间电荷的作用),使低放级屏压可以用低一些(18伏)。
七极管虽被分成两部分来工作,但是,两个工作部分的电子流实际上都是低频电流,而且变化几乎完全一致。这两部分的电流完全可以加在一起,不会产生失真。再生检波虽然会搀有小部分的高频电流,和频电流产生差频而被屏极吸收,但这部分差频电流可以用旁路电容(C\(_{5}\))除去。

图中所列的数值是经过试验而定的。如果某些另件数值不适合所用的电子管,可以增减试验。乙电若改变,另件数值也须要改变。下面列出一些数值变动的范围:1.R不能小于5兆欧,小则会产生叫声;换用7兆欧时,再生不足,声音很小;2.C\(_{3}\)能减少杂声,抑制低频振荡,在用较低数值时,效果不好;3.R3用50千欧,音量较小,再生亦劣,用10千欧则再生强、音量大;4.C\(_{2}\)是为了消除低频振荡而用的,数值取1000微微法较好,用250微微法较差,如没有低频吁吁叫声,不用也可以;5.R2用0.5兆欧效果很好(用0.1兆欧也行);6.再生圈圈数约为调谐线圈圈数的一倍。
此机用三回路线圈,在福建厦门附近使用,平常收福建,江西、浙江及中央人民广播电台播音,声音很大,最远曾经收到陕西台(用室外天线)。
(这个线路经过我们用原列数值的另件试装,线圈是用市上出售的普通平绕三回路再生线圈,用1R5电子管屏压18伏,再生控制很平稳。电子管换用L42П也可以收音,但有低频振荡的啸叫声,必须把C\(_{2}\)增大到0.03至 0.05微法,同时再生回路的圈数也要增加,效果和用IR5一样。用 lA2П时,屏压还可以降低到12伏,电子管工作的情形还很满意。——编者)