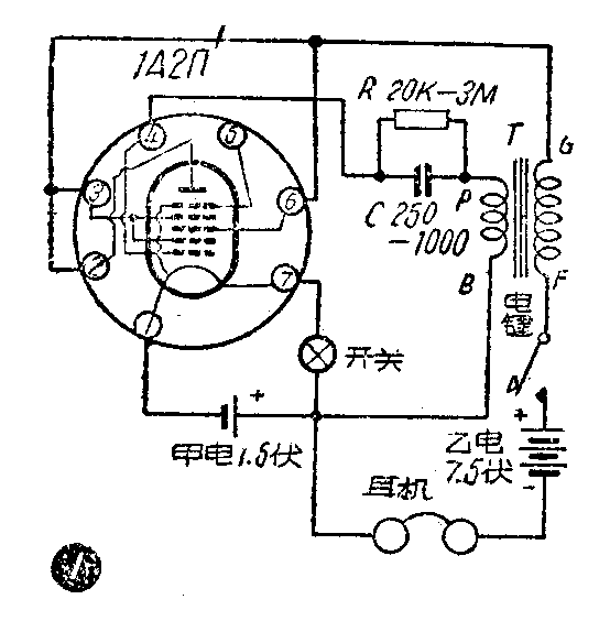
随着国防体育在全国各地迅速开展,学习收、发报的无线电爱好者越来越多。练习收报与发报必须有音频振荡器。这里介绍一种简单易装的低屏压单管音频振荡机。全机除用一只电子管和一只音频变压器外,其他另件很少。线路如图1。T为1:3或 1:5音频变压器,即旧式再生收音机中常见到的一种,初级圈接在栅极电路上,次级圈接在屏极电路里。本机所用电子管是1А2П。第一栅为振荡栅,把第二、三、四栅和屏极联在一起作三极管用。另外也可以2П2П代替1А2П用。电路接法如图2。第二栅与屏极联在一起相当于三极管。全部线路焊接好后,接上电源,按动电键,耳机中便能听到“的”“大”像电码的声音。如果听到的不是“的”“大”声,而是”咯咯”声,那可能是音频变压器的初次级线圈接反了,只要把初次级线圈接头对调便可以了。(张建祥)

