自从1955年国务院发布了关于在农牧渔业合作社建立收音站的指示后,曾有数以万计的收音机下乡,对于当时宣传党的政府和提高人民的文化娱乐生活起了一定的作用。后来农村有线广播的蓬勃发展。相形之下,这些收音机的作用显得越来越小,有些站甚至把收音机搁置不用。大跃进以后,各地站、台的职工开动脑筋,利用收音机改装成各种用途的母子收音机,不仅使这些收音机发挥了原来所没有的性能,并且能结合有线广播,使有些一时还不能在全境建立有线广播的县份、人民公社,也有可能用它来建立小型广播站。这是大小并举,大搞有线广播的可喜现象——编者
把普通收音机里的输出变压器改动一下,由原来只带一只喇叭改成能带若干只喇叭,这架收音机就变成“母子收音机”了;再把这些喇叭分散装设到各个用户点,那末,这架收音机又变成一个能转播无线电广播节目的小型有线广播站。使收音机的服务面从原来的一个点扩大到一个面,充份发挥了原有机件的效率。
如果再在原收音机的线路上稍动脑筋,还可以使原来的收音机从单纯的收听工具变成既能收音、转播,又有扩音、广播,开电话会议或当作对讲电话等的多用机。
以收音机为基础装成的母子收音机或多用途收音机,本刊先后曾有过不少介绍。由于各种音机的线路以及对改装后机件的性能要求不一,改装的具体方法不尽一致。但尽管如此,改装的要点不外下列几点。
1.多带喇叭 收音机的最大音量输出,决定于末级电子管的输出功率。一般直流收音机的末级输出管不外是单只3Q4、3S4、3Q5或2П2П,这些电子管除2П2П输出功率较小,最大输出不足100毫瓦外,其余电子管输出均在25其毫瓦左右.要多带喇叭,就是说要把收音机的全部输出功率从原来只供给一只喇叭改为分配给若干只喇叭,每只喇叭分得的功率虽然显得很小,但根据连庄乡的经验,如果所用舌簧喇叭比较灵敏,喇叭电压为12伏,每只喇叭只要有14.4毫瓦的输入功率,音量可听①。那末,除2П2П可带6只舌簧喇叭外, 其余象3Q4、3S4等均可带动大约17只舌簧喇叭。再根据黑龙江省广播局的经验,355型收音机(输出管3S4)还可以在5、6华里的线路上带动20只舌簧喇叭,并且都能听得明听得清。
收音机的输出既然很小(250毫瓦),又要带动20只舌簧喇叭,显然,对收音机的输出功率不能浪费。这里的关键问题是要改绕输出变压器的次级线圈物喇叭阻抗匹配,使收音机的输出功率最大限度地全部馈给各个喇叭。
改绕输出变压器次级方法如下。
甲、首先了解收音机的输出功率。然后决定能带舌簧喇叭的数量A;再了解舌簧喇叭的音圈阻抗Z1,求得各喇叭并联后的总阻抗Z2(即须要改绕的输出变压器次级阻抗),用公式表示时
Z\(_{2}\)=Z1A。
乙、了解原机输出变压器次级阻抗Z\(_{3}\)(等于原机永磁喇叭的音圈阻抗)用下列公式求出改绕的次级圈与原来次级圈的圈数比
n=\(\frac{\sqrt{Z}}{_{2}}\)Z3。
丙、拆次级圈并算得它的圈数为n3,改绕的次级圈应绕圈数
n\(_{2}\)=n×n3。
例如有一架直流5灯收音机,末级输出管为单只3Q4,最大输出功率为0.25瓦(250毫瓦);拟改装为母子收音机。按照黑龙江省的经验,输出为250毫瓦时可带20只舌簧喇叭。普通舌簧喇叭在1,000周时阻抗约10,000欧,那末喇叭总阻抗或改绕的输出变压器次级阻抗应为
Z\(_{2}\)=Z1A=10000;20=500欧。
原机次级阻抗为4欧,圈数比
n=\(\frac{\sqrt{Z}}{_{2}}\)Z3=500;4=11.2
拆次级圈算得圈数共60圈,因此,改绕的次级圈圈数
n\(_{2}\)=n×n3=11.2×60=672圈
2.开会时当扩音机 把收音机上的喇叭拆掉,改装一只25瓦号筒喇叭,就可以当扩音机使用,在一个几百人的礼堂内作报告,礼堂的每一个角落都可以听得清楚。这里收音机的输出功率并没有增加,音量的增强是倚靠号筒喇叭电声转换效率的提高以及这种喇叭方向性强的缘故。改装号筒喇叭的方法也仅仅是改一下输出变压器,使喇叭音圈阻抗和收音机的输出变压器次级阻抗匹配。用上面所举的收音机作例子,改接一只16欧25瓦号筒喇叭时,输出变压器次级应改绕为120圈。
3.扩音 上面提到用号筒喇叭作扩音机,仅能增强收听电台的音量。作扩音机时,还要在原收音机上加接话筒才能做报告。一般5灯机只有2级低放(一级电压放大,一级功率放大),作扩音机时音量不够,必须再增添一级话筒放大级或前置放大级。增加的方法有下列几种。
甲、加一只电子管单独作为扩音机的前置放大级,扩音时用多刀双掷开关把它接入收音机,这个办法增加的另件多,不经济。
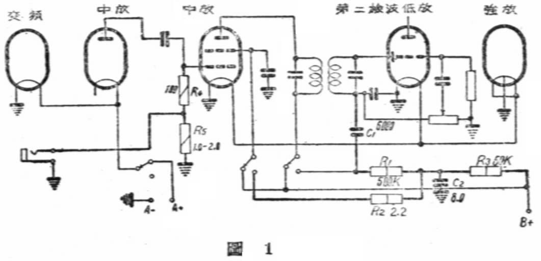
乙、利用中放级当前置放大级,这是最常见的一种改装方法,这里又有两种改法,一种是改动收音机的线路,用多刀双掷开关管理收音与扩音,原机第二中放级用阻容交连的典型线路如图1。在扩音时,电阻R\(_{1}\)作中放管的负荷,C2是交连电容器,R\(_{2}\)是帘栅降压电阻,使中放管的工作符合于作阻容交连放大,R3、C\(_{2}\)是退交连电路,防止产生汽船声,R4、R\(_{5}\)是栅极电阻,R4的作用是避免因话筒插口各簧片间存在的电容作用而影响收音,降低音量。图中数据是大致值。如果第二中放级是用中频变压器交连的,那末,还得在第二中放管的输入端加一个双掷开关(图2)。改装时要注意栅极接线尽可能的短,否则效果不好。


改动收音机线路的方法,优点是一旦改装完毕,使用方便,缺点是改装经验不足,可能把原收音机弄坏,得不偿失。
另一种改装方法是收音机原线路不动,增加一个扩音用附加器(图3)。扩音时把第二中放管拔出,改插到附加器的管座中,再把附加器插入第二中放管座,收音机就变成扩音机了。这个方法的优点是不必动收音机线路,缺点是使用时要把电子管拔进拔出,不方便。

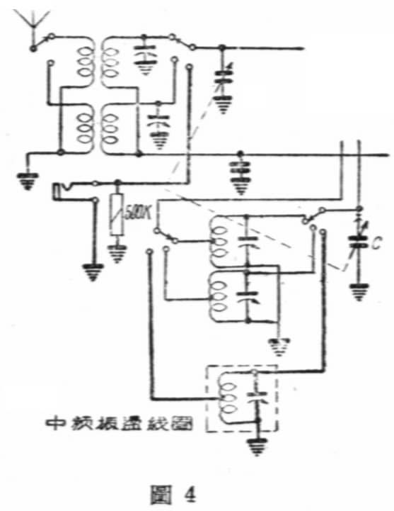
丙、把收音机全部电子管用作放大。这是河南人民广播电台服各部试制成的另一种方法。在本地振荡级产生一个中频(要和收音机的中频一致)等幅振荡,话筒信号从变频管信号栅输入,变频管即输出经话音调制过的中频调幅波,像收听广播一样,这个调制过的中频信号由收音机的各级放大。改装的线路见图4。中频振荡线圈可用半个中频变压器(初级或次级)改绕,在线圈1/3处抽一个头接成哈脱来式。改装后要调整这个振荡线圈的频率使和收音机的中频一致,否则声音失真。如果能在图中x处加一个开关,扩音时把电容器C断路,这样可以在半个中频变压器上挑一个线头后直接接入回路,用不到改绕线圈,调整也比较方便。

利用变频级作放大,电压增益很高,输出音量保证宏亮。
4.会议电话 收音机改成扩音机后,基本上已满足会议电话机的要求。只要在受话时把外线接到话筒输入端,发话时接到扩音输出端,通过扩音机把来话去话加以放大。为了和外线匹配,输出变压器次级阻抗可以600欧计算,计算方法如上。图5就是这样的一种线路,这是贵州省安龙县收音站用长江牌收音机改装的四用机里有关会议电话部分的线路。用作会议电话时,把插子插入插口J,机内喇叭线路被插口J切断,发话时双刀双掷开关SW扳向发话,接外线;受话时SW扳向受话,外线通过电容器C\(_{1}\)接前置放大级(第二中放级),来话放大后由喇叭扩大。从线路中看,受话或发话时,除扳动SW外,还要把插口J的插子插进拔出,使用不方便,最好能在喇叭回路上再加一开失SWl,和SW同轴控制,发话时SW\(_{1}\)断开,受话时闭合,可以省却拔插子或插插子的麻烦。

5.对讲 作对讲机使用时,每个喇叭应有各自的喇叭线路。某一喇叭用户发话时,就把喇叭线改接到扩音机的输入端,这时喇叭权充话筒,对着它说话,话音就经扩音机放大输往其它各个喇叭。线路见图6。图中仅画出7个喇叭,最下面的一个喇叭在发话位置。采用这种装置,收、扩音机好像电话局的总机,各用户喇叭好像电话机,但和电话机的区别是发话受装在总机处的受话发话双刀双掷开关控制,只有在总机指定某一喇叭用户发话,并把这个喇叭的受话发话开关扳向发话位置时,这个喇叭用户的发话才起作用。如果要求各喇叭用户能随时发话,就要增添电铃、电池、开关等好些另件,这里不再详细说明②。

①见本刊1958年第7期。
②有关地讲电话,请参阅本刊1955年第5期。(池博琪)